1 W DC31 型闸门开度、水位高度仪使用及注意事项 一、产品介绍。 江苏省引江水利水电设计研究院研制的 W DC31 型闸门开度、水位高...
江 西 理 工 大 学 南 昌 校 区 毕 业 设 计 ( 论 文 ) 题 目 : 基 于 单 片 机 的 水 位 检 测 系 统...
1 实验1 建立一个新工程 1 .1 建立工程 通过一个水位控制系统的组态过程,介绍如何应用MCGS 组态软件完成一个工程。通过本讲及后续...
. 基 于 单 片 机 的 水 位 检 测 控 制 系 统 设 计 学 院 : 专 业 : 姓 名 : 指 导 老 师 : 信 息...
东 华 理 工 大 学 长 江 学 院 本 科 毕 业 论 文 I 摘 要 大 型 水 箱 是 很 多 公 司 生 产 过 程 中...
近年来汽包水位异常分析及处理方法 对于汽包锅炉来说,汽包水位是运行中的一个重要参数,它的正常与否对机组安全运行有重大影响,严重缺水...
视频立杆、支架安装固定方法 联宇工程技术有限公司 1 超声波水位计安装及规范 (试 行) 适用范围 本 安 装 方 法 适 合 本...
TI00440F/28/zh/13.11技术资料Prosonic T FMU30超声波物位测量一体式变送器,非接触式物位测量适用于液体、浆料和固料的物位测量应用• ...
1 1 绪 论 1.1 课 题 背 景 水 塔 是 用 于 储 水 和 配 水 的 高 耸 结 构 , 用 来 保 持 和 调 节 给...
组态王水位控制
1 水箱水位控制系统 (一)设计要求 做一水位控制系统的组态,要求:动画显示水流运动。当水位高于或低于警戒水位时,报警界面出现,提...
自动化应用软件实训 评语: 平时(4 0 ) 修改(3 0 ) 报告(3 0 ) 总成绩 自动化应用软件实训报告 1 1 绪论 组态王King...
基于单片机的水位控制系统设计
潜水等水位线的应用 (1)判定潜水的流向:垂直于潜水等水位线从高水位指向低水位的方向,即为潜水流向。 (2)潜水面的坡度(潜水水力坡...
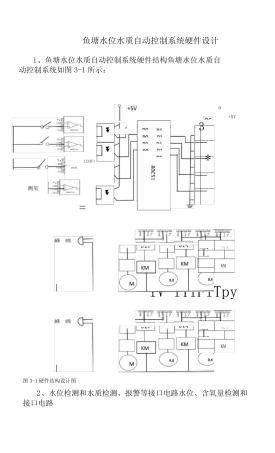
鱼 塘 水 位 水 质 自 动 控 制 系 统 硬 件 设 计 1、 鱼 塘 水 位 水 质 自 动 控 制 系 统 硬 件 结 ...
鱼塘水位水质自动控制系统设计概要
第二章 第二章 有理数及其运算有理数及其运算第二章 第二章 有理数及其运算有理数及其运算复习复习填空:1. 取河流的警戒水位为 0 ...
下载后可任意编辑PLC 课设水塔水位PLC 自动控制系统12024 年 4 月 19 日电气工程学院课 程 设 计 说 明 书设计题目: 水塔水...
锅炉浮球水位控制器控制范围偏离的 情况分析及调整方案 锅炉浮球水位控制器U Q K-32 是锅炉联锁保护系统输入信号,作为锅炉水位报警装...
xxxx 热电工程 锅炉汽包水位、炉膛火焰及 全厂工业闭路电视监视系统 技术规范书 1 总则 ............................................

