有机内检记录内部检查计划检查目的:评价我公司有机毛尖茶的种植、加工的管理是否符合有机标准要求,各环节运行是否有效。检查范围:有机毛...
XX 养殖业基地加盟合作协议甲 方: 山西 XX生物科技有限公司乙 方:协议签订地点:协议编号:- 1 - 甲方:山西 XX生物科技有限公...
有机小分子电致发光材料在OLED 的发展与应用的综述电致发光 (electroluminescence,EL),指发光材料在电场的作用下,受到电流或电场激发...
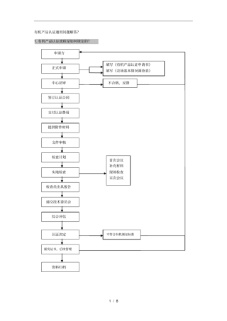
1 / 8 有机产品认证通用问题解答?1. 有机产品认证流程是如何规定的?申请方正式申请中心初审支付认证费用提供附件材料签订认证合同实...
1 / 23 有机产品认证申请书认证委托人名称认证委托人地址网址组织机构代码证组织注册资本(万元)组织机构类型法 定 代 表 人邮编认...
有机产品认证目录整合版有机产品认证目录 ( 增加增补目录一 ) 序号 产品名称产品范围生产植物类 ( 含野生植物采集 ) 谷物1 小麦...
有机产品与良好农业标准〔GAP 〕的介绍有机产品与良好农业标准标准出台的目的根本一至,均是关注食品平安、环境保护、生产的可持续开展等...
2008 届高三二轮专题复习有机化学专题罗田一中高三化学组李双宏余金安周艳林一、研究考纲—— 明确有机部分考什么考纲对高中化学学科有4...
目录:高中化学有机根底一•重要的物理性质二•重要的反响三•各类烃的代表物的结构、特性四•烃的衍生物的重要类别和各类衍生物的重要化学...
DDDDDDDDDDDDDD净气排放DDDDDDDDDDDDDDDDDDDDDDDDDDDDDDDDDDDDDDDDDDDDDDDDDDDDDDDDD1DDDDDDDDDDDDDDDDDDDDDDDDDDDDDDDDDDDDDDDDDD1DDDDDDD...
1 .苯 芳香烃 芳香亲电取代 伯奇还原 (Birch redu ction)【苯及苯同系物得到环己二烯系,独到之处在于可将苯环部分还原为环二烯】 ...
通用型金红石型钛白粉有机硅包膜技术方案推荐书 道 奇 威 (成 都 )科 技有限 公 司 宁 波 新 福 公 司 有机硅包膜处理 技...
高一化学练习题1.酯化反应是有机化学中的一类重要反应,下列对酯化反应理解不正确...的是()A.酯化反应的产物只有酯B.酯化反应可看成...
下载后可任意编辑YS/T 714-2024 铝合金建筑型材有机聚合物喷涂工艺技术法律规范基本信息【英文名称】Technical specification for org...
有机茶开发可行性报告贵州普定朵贝有机茶开发可行性研究报告2012年3月20日第一章总 论一、项目提要项目名称普定朵贝有机茶开发建设性质改...
有机化学人名反应 1. 拜耳维利格Baeyer----Villiger 反应(p317) 反应机理 (不要求) 过酸先与羰基进行亲核加成,然后酮羰基上的一个...
细说有机十大反应类型与机理 纵观近几年高考,有机化学的比重相对稳定,都在二十几分,所涉及到的知识点主要为有机物官能团的性质(选择题...
第六章 有机宝石 学习目标: 掌握珍珠、珊瑚、琥珀主要鉴别特征,熟悉煤精、象牙、龟甲的主要性质。 学习内容: 有机宝石:珍珠、珊瑚...
下载后可任意编辑2024-2024 年中国元素有机树脂类型防腐水性涂料行业进展趋势预测与投资咨询报告下载后可任意编辑 报告信息报告类型多用...
下载后可任意编辑【高考化学有机实验的注意事项】高考化学有机类实验题 高考化学的有机实验是必考题型,其实考试的时候,也会常常出题问关...

