在订单相关生产里的实际成本记帐和分配当执行以下业务往来时实际成本被输入到生产订单上:·物料管理中的货物变动·财务会计中的记帐·生产...
通用非标准设备订单报价办法1通用非标准设备概述1.1通用非标准设备含义通用非标准设备是指通用设备中不定型,不成系列,并需先进行单体设备...
订单相关生产的货物变动在订单相关的生产中,您须区分存货物料和非存货物料。在订单的组成成分概览的BOM物料单里的项目种类指明物料是一种...
教师评语教师签字日期成绩学生姓名学号班级计算机信息管理1班分组项目编号ERP原理与应用实验一项目名称客户订单及物料需求计划实验报告一、...
外贸部订单操作流程一、意向订单处理流程(售前咨询)二、订单流程(售中流程)三、订单审核流程(售中流程)四、对账流程五、返修流程(售...
平台退货订单培训教材x管维霞审阅:陈志梅日期:2000/08/25目录流程介绍………………………………………………3基本概念………………………...
平台退货订单培训教材x管维霞审阅:陈志梅日期:2000/08/25目录流程介绍………………………………………………3基本概念………………………...
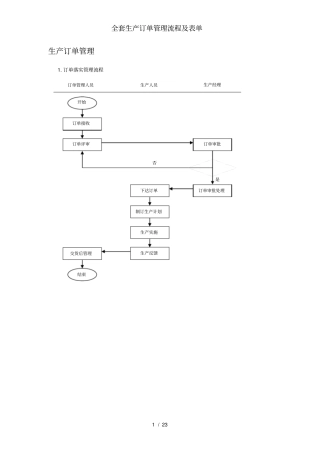
全套生产订单管理流程及表单1/23生产订单管理1.订单落实管理流程订单管理人员生产人员生产经理订单审批处理结束下达订单制订生产计划生产实...
产品竞争力评价:外观:卖点:其他:产品卖点评价:()既通俗上口,又充分展示产品特色,差异明显,卖点盖帽()展示产品特色,但差异不明...
绍兴市烟草专卖局(公司)应急订单作业指导书绍兴市烟草专卖局(公司)二OO九年九月目录一、应急订单受理作业指导书.........................
西南交通大学毕业设计(论文)基于订单的制造业生产计划管理系统设计年级:2004学号:20042168姓名:刘斌专业:软件工程指导老师:周荣辉二零零...
相关订单生产的差异差异下列差异在相关订单生产中计算:·可以结算的差异依据已完工物料的标准成本估算,差异计算比较生产订单中发生的实际...
CSP生产线MES中的订单管理系统在基于ERP/MES/PCS三层体系结构的钢铁企业信息系统中,位于制造执行系统内部顶层的订单管理系统(OMS)除了承...
在销售订单相关生产中发生了些什么在SD模块中的销售订单决定着应交付物料的价格和数量及其交货的日期。交付这些货物所发生的成本综合如下:...
SAPAGR面向订单生产SAPAGR教师:介绍单元“面向订单生产”学生:观看视频单击主题按钮继续学习教师复习问题SAPAGR面向订单生产:内容...
与订单相关生产的差异计算的要求在计算差异之前,您必须在生产成本控制客户化设置中执行以下步骤:·定义一个差异代码差异代码决定计算差异...
生产订单不合格退换货1目的:减少生产订单的成本,同时将不合格品与供应商换货。2适用范围:生产订单领料以后使用过程中发现物料不合格,则...
通用非标准设备订单报价办法1通用非标准设备概述1.1通用非标准设备含义通用非标准设备是指通用设备中不定型,不成系列,并需先进行单体设备...
销售-订单相关生产中的成本对象控制在销售-订单相关生产中,成本对象控制用于提供关于销售订单的信息,此销售订单能启动生产计划模块中订...
计算一个生产订单的已计划成本在PP模块中,如果您在订单抬头指定了一个成本核算变式,系统可以自动计算生产订单的已计划成本。您在订单抬头...

