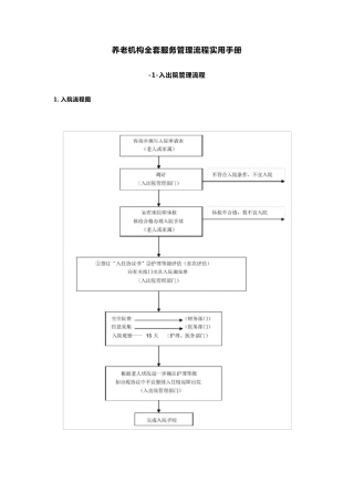
养 老 机 构 全 套 服 务 管 理 流 程 实 用 手 册 -1-入出院管 理 流 程 1. 入院流 程 图 2. 出院流程图 3. ...
1 养老院消防安全应急预案 为 全 面 推 进 一 级 敬 老 院 管 理 工 作 , 切 实 做 好 敬 老 院 防 火 安 全...
智能养老系统 1、系统概述 智能养老系统是由五维科技集团研发,本系统采用了 Zigbee、传感网络、云计算、医疗物联网、移动互联网等先进...
1 国家强制性标准《养老机构服务安全基本规范》 关联的评估和记录大致有以下,仅供参考: 1、防噎食:洼田饮水评估表;噎食风险人员统计...
1 附表6 护理员考核系列表 附表6 -1 考核单位: 生活部 被考核单位:各生活楼层 项目 考核内容 分值 考核方法 得分 楼 层 ...
第1页 共7页 养老院敬老院疫情防控应急预案 养老院敬老院疫情防控应急预案 一、总则 (一)编制目的。 为科学、规范、有序地开展新冠...
第 1 页 共 6 页 养 老 院 开 业 期 营 销 方 案 一 、 前 言 对 一 个 刚 刚 起 步 、还 没 正 式 开 业...
养 老 院 市 场 与 竞 争 分 析 1134107 刘 俊 恺 市 场 特 点 分 析 人 口 老 龄 化 为 老 年 保 健 产 ...
德州市德城区福乐多智慧康养中心 安全生产责任制汇编 编制: 审核: 批准: 二 0 二 0 年八月 目 录 1.安全生产领导小组安全生...
养老院安全风险分级管控制度 1.目的 为准确辨识养老机构危险源,评价其风险程度,进行风险分级,实施有效控制,特制定本程序。 2.适用范...
北京天德神路养生养老度假村产业示范项目建设可行性报告及投资效益分析 一、当前社会现状及前景展望: 首先,退休老人是养生养老度假村的...
颐讯-中国养老管理软件第一品牌 养老院各项管理制度大全 工作人员规章制度 1、凡在我院工作的职员,一律要求穿戴整洁、行为端庄。 2、...
养 老 中心各项管理制度 一、工作人员规章制度 1 、凡在我院工作的职员,一律要求穿戴整洁、行为端庄。 2 、言行文明礼貌,使用文明...
工 程 咨 询 资 格 证 书 编号:工咨甲 XXXXXXX XXXXX养老服务中心建设项目 可行性研究报告 编号:2014-HBZXY-001 二○一四年...
W ORD 格式.分享 精品.资料 一、卫生类: (一)环境卫生 1、环境卫生的范围:A 老人房间地面、桌面、电视机、门、窗户;B 卫生间...
养老院可行性报告(PDF12页)
养老院人员设置 1、院 长 职 责 2、副院长职责 3、 办公室主任职责 4、会 计 职 责 5 、出 纳 职 责 6、护理部长职责 7...
养老院养老公寓制度养老护理员培训 生活管家部部门工作规范 文件汇编 一、部门职责 二、部门岗位设计 三、部门岗位职责 四、岗位工作...
农村养老院信息化建设规划方案 1.引言 随着我国农村老龄人口逐渐增加,农村养老服务成为一个重要的社会问题。为了提高农村养老院的服务质...
养老院服务质量建设专项行动实施方案 一、总体目标 对照影响养老机构服务质量的运营管理、生活服务、健康服务、社会工作服务、安全 管理...

