急诊科绿色通道持续整改情况介绍急诊科作为医院的窗口,急诊急救水平的高低,尤其是抢救急危重症患者水平的高低,直接反映一个医院的医疗水...
加强急诊绿色通道管理一、概念:指院内为急危重病患者快速高效的服务系统。包括急诊、预检、抢救室、手术室、ICU、药房、血库、体液检验和...
市行政服务中心关于下发《市行政服务中心“绿色通道”暂行办法》通知各窗口、科室:为进一步转变政府职能,改善投资环境,更好地为投资者提...
关于印发《云南省引进高层次人才绿色通道服务暂行办法》的通知各州市党委组织部,政府教育局、科技局(科委)、公安局、财政局、人力资源和...
联通全国机场绿色通道和贵宾休息厅汇总省份城市服务项目服务内容服务对象详细地址联系电话北京北京北京首都机场T2航站楼联通国内嘉宾休息室...
无锡市重大项目审批绿色通道实施细则市行政服务中心市监察局(2008年8月23日)根据《市政府批转市发改委市行政服务中心关于建立我市重大项...
县城周绿化和绿色通道建设工作会讲话各位领导、同志们:这次全县城周绿化和绿色通道建设工作会,是县委、县政府在今年“两大工程”建设的关...
在全县城周绿化、绿色通道建设工作会上的讲话同志们:今天,县委、县政府在这里召开全县农田基本建设暨城周绿化、绿色通道建设工作会,主要...
绿色通道的“火眼金睛”文/图曲海波沈琐为建立顺畅、便捷的鲜活农产品流通网络,支持鲜活农产品运销,促进农民增收,2005年1月,国务院七部...
医疗急救绿色通道管理制度一、绿色通道的含义医院急诊“绿色通道”指医院抢救急危重症伤病中,为抢救其生命而设置的畅通的诊疗过程,该通道...
市委书记在城周绿化和绿色通道建设动员会上的讲话同志们:今天,市委、市政府在这里召开动员大会,主要任务是贯彻十六届五中全会精神、全面...
武汉大学人民医院急诊科门急诊管理与绿色通道武汉大学人民医院魏捷武汉大学人民医院急诊科一、门急诊管理的重要性南方某城市的一项统计90...
急诊绿色通道2015年3、4、5月统计分析一、各种数据比较2015年3、4、5月急诊绿色通道各系统病种统计表(表1)项目例数气管插管人次心肺复苏...
急诊绿色通道流程图接到120指示,急诊科医护人员立即出诊赶到现场现场查看评估患者情况,现场救治或就地抢救需急诊介入或手术的(如STEMI、...
Forpersonaluseonlyinstudyandresearch;notforcommercialuse急诊科“绿色通道”流程图是否通知值班医生、护士或抢救小组准备抢救场所抢救器...
临漳县医院急诊手术绿色通道保障措施及协调机制急诊手术绿色通道保障措施的目的是加强急诊手术的管理,确保急诊手术及时顺畅开展。一、各部...
急性缺血性脑卒中的“绿色通道”处理预案省直中医院急诊科邵良病人到达急诊科,主诉头痛、头晕、单侧或双侧肢体麻木、无力的患者应高度疑诊...
急诊绿色通道与重点病种服务流程为系统的规范急性危重病人的接诊、分诊、检查、诊断、抢救全程医疗服务行为,使急性危重病人得到及时、规范...
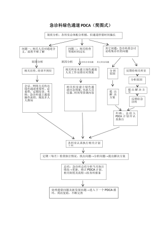
急诊科绿色通道PDCA(简图式)原因分析原因分析急诊科自身问题其它科室问题问题二:相关检查等候时间过长问题一:相关人员对通道含义、流程...
XXX人民医院急危重症住院患者绿色通道管理制度与流程为了确保急危重患者得到有效的医疗救治,最大限度争取抢救的时间,进一步提高危重患者...

