山东圣齐生物工程有限公司 编码:GS/SK-ZT-110-A 版 -13 制糖车间MVR蒸 发器操作规程 编制: 日期: 审核: 日期: 批准: 日期...
页眉内容精心整理1 冷却水温度对冷水机组制冷量的影响我们都知遭 : 从运行费来讲,在蒸发温度和压缩机转数一定的情况下,冷凝温度越低,...
循环冷却水系统的浓缩倍数与补充水量、排污水量的关系太原钢铁(集团)公司陶其鸿1、浓缩倍数的定义在敞开式循环冷却水系统中,由于蒸发,...
下载后可任意编辑 xxx 磺化还原浓缩过滤车间设备稀土保温施工方案一.车间保温设备和管道保温情况简介:xxx 磺化还原浓缩过滤车间设备保...
浓缩课程的理论与实践高雄师范大学特殊教育系教授蔡典谟
带式浓缩脱水一体机 使用说明 1 转鼓带式浓缩脱水一体机 使 用 说 明 上虞市联诚环境设备有限公司 带式浓缩脱水一体机 使用说明...
1 带式压滤机技术说明 一.设备设计参数 滤带宽度:3000mm 进水处理量:60-80 m³/h 进泥含水率:约99~99.6% 进泥浓度:0.6~1.3kg/m...
垃圾渗滤液膜过滤浓缩液处理方法 近年来,随着我国城市化程度的加快和居民生活消费水平的提高,我国城市生活垃圾的产生量以每年9%~10%左右...
内墙高浓缩平光乳胶漆推荐配方 原材料 投料比 分散阶段 水 12.0 乙二醇 2.0 5050 0.5 3204 0.1 NXZ 0.1 锐钛白BA01 8.0 立...
SDS-PAGE 1、 SDS-PAGE:聚丙烯酰胺凝胶电泳 2、 Acr:丙烯酰胺;配胶时用 30%Acr(质量比 Acr:Bis=29:1) 3、 Bis:甲叉双丙烯酰...
SAP FI/CO 知识 浓缩版(上)(2009-02-12 08:35:21) 一、SAP FI/CO 模块设置 1. 一般设置—货币—定义货币换算的换算率 增加换算率...
SAP FI/CO 知识 浓缩版(上)(2009-02-12 08:35:21) 一、SAP FI/CO 模块设置 1. 一般设置—货币—定义货币换算的换算率 增加换算率...
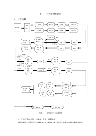
2 工艺流程及论证2.1 工艺流程果渣果渣果胶酶淀粉酶浊汁浊汁果胶酶淀粉酶浊汁浊汁图 2-1 浓缩苹果汁工艺流程图对工艺流程进行分析,分...
1 年产 35000 吨浓缩苹果梨汁工厂可行性研究报告校别:延边大学学院:农学院专业:2 第一章总论 ................. 51.1 项目背景 ...
15万吨磷酸一铵中和浓缩工段工艺设计
- 1 - 铜润项目尾矿浓缩池施工方案中国十五冶池州铜润项目部2013.3.1 - 2 - 审 批 栏批准审核编制会签- 3 - 目录1、编制依据 ...
136.一 611.二988 一 、高 盐 废 水 处 理 蒸 发 浓 缩 , 含 盐 废 水 MVR 蒸 发 结 晶 分 盐 技 术 概 述 ...
一 、高 浓 度 废 水 MVR 蒸 发 浓 缩 结 晶 设 备 , 工 业 废 水 mvr 高 效 蒸 发 器 生 产 工 艺背 景 ...
一、硫酸钠废水MVR 蒸发浓缩设备,锂电废水降膜蒸发器主要原理 MVR 蒸发器是英文(Mechanical Vapor Recompression)的缩写,被称之为“...
浸提、分离与浓缩、干燥 【重点难点提示】浸提原理及其影响因素;药剂中常用的浸提方法及其应用;药剂中常用的精制方法、原理及其应用;滤...

