*******************项目选取验收机构项目 服 务 方 案 ***********公司 ****年**月**日 1 目 录 第一章 对本工程造价咨询服务...
跟踪微分器的离散形式
. .. . . . . . w 东营中心城生活水质提升工程 跟 踪 审 计 方 案 山 东华审 工程咨询有限公司 2012 年 06 月 05 ...
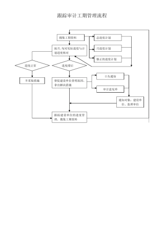
跟踪审计工期管理流程 审计意见单 搜集工期资料 总进度计划 月进度计划 修正的进度计划 按月、旬对实际进度与计划进度核对 不采取措...
湖北恒基工程造价咨询有限公司 毕节市 公路工程全过程 跟踪审计 操 作 归 程 湖北省恒基工程造价咨询有限公司 2 0 1 1 年 4...
* * * * * * * * * * * * * * * * * 项 目 跟 踪 审 计 招 标 文 件 招 标 编 号: 招 标 人 : 招 ...
1 跟踪审计技术标 项目实施方案:包括工程量清单编制及招标控制价编制方案、全过程造价控制方案。项目实施方案全面、详细、实际操作性强...
* * * * * * * * * * 建设项目 全过程跟踪审计 比 选 文 件 ************公司 ****** 年* * * 月* * * * * * ...
跟 踪 审 计 操 作 实 施 细 则 及 内 容 一 、跟 踪 审 计 工作 开展 ⑴.熟悉现场情况,掌握工程施工前现场第一手资...
跟踪审计控制造价主要措施: 1、认真分析、执行影响造价的施工合同; 2、会同建设单位在预算审核阶段认真审计,确保造价“事前”合理最小...
江苏省洪泽湖体育运动康复基地工程 跟踪审计实施细则 江苏华盛兴伟房地产 评 估 造 价 咨 询 有 限 公 司 2008 年4 月28 ...
1 审 计 实 施 方 案 编 制 依 据 : 《 中 华 人 民 共 和 国 审 计 法 》 第 二 十 二 条 和 济 南 市 ...
施工阶段全过程造价控制(跟踪审计) 工 作 基 本 要 求 神通工程造价事务所有限公司 二O 一四年十一月八日 1 施工阶段全过程造...
1 合同编号: 建 设 工 程 全过程跟踪审计合同 委 托 人: 受托 人: 2 委 托 人 ( 甲 方 ): 受 托 人 ( 乙 ...
跟 踪 审 计 中 存 在 的 问 题 和 对 策 工 程 造 价 咨 询 机 构 建 设 项 目 跟 踪 审 计 ,是 指 独 ...
********项目 跟踪审核服务方案 工程造价咨询有限公司 2017 年 4 月 目 录 一、编制审计实施方案的依据 ..........................
工 作 任 务 跟 踪 管 理 办 法 1 范 围 本 标 准 规 定 了 公 司 有 关 工 作 任 务 的 书 面 下 达 方...
工 作 任 务 跟 踪 管 理 制 度 1 范 围 本 标 准 规 定 了 公 司 有 关 工 作 任 务 的 书 面 下 达 方...
会计师事务所开展拆迁资金跟踪审计 近几年来,随着都市建设旳发展,拆迁范畴也随着建设项目规模旳扩展而越来越大,而拆迁资金因资金量大面...
- -- - . -考试文档- 建仓五步 建仓 首先要说明,一只股票在不同时期,庄家是不同的,甚至在同一时候,也可以有多个庄家。这些情况...

