河源市叁拾加水果连锁店配送管理优化策略河源市叁拾加水果连锁店配送管理优化策略 摘 要水果连锁超市作为一种新兴的水果销售方式,其集销...
运行部经营管理手册便利店的诞生一、CVS—便利店 CONVENIENCE STORE 的诞生20 世纪代 ★美国 SOUTH LAND 企业即 7-11 的 UNC L...
目录目录..........................................................................2一、摘要..........................................
5.8 连锁店业务规程 连锁店协约第一条总那么。本连锁店是以 X X 公司为主体,由相关经营机构加盟的自愿连锁店。第二条加盟条件。 圈...
连锁店管理机构示意图连锁店系统经理企划公关部人力资源部财务部店铺管理部配送中心技术开发部建设开发部1 区2 区N 区车队库房机房保安...
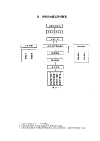
五、连锁店的营运体制标准(一)总公司的营运体制——经营策略是针对连锁体系的经营策略,通过内外因素相互组合运用。(1)外在因素可包括顾...
连锁店管理办法第一条 目的:为充分满足消费者需求,进一步法律规范连锁店管理,特制订本办法。第二条 内容:加盟连锁店须以本办法确立各...
连锁店加盟店服务合同连锁店加盟店服务合同连锁店加盟店服务合同 甲方:以下简称甲方 乙方:以下简称乙方 兹因甲方经营销售业务,乙方愿...
管理信息系统课程实验报告实验名称:管理信息系统课程实验报告实验题目:超市连锁店库存管理系统设计实验目的:通过计算机实验,使学生加深...
投资奇少回收特快 项 目 建 议 书之所以风行全国就因为是好工程 和总部持之以恒的支持神界公司—————————————— ———...
投资奇少回收特快 项 目 建 议 书之所以风行全国就因为是好工程 和总部持之以恒的支持神界公司—————————————— ———...
现代商场·超市·连锁店星级服务培训第三章商品管理技能培训第一节商品采购技能培训培训对象商场(超市·连锁店)商品采购人员培训目的降低采...
没有经验创业经营快餐连锁店需要了解的事项 没有阅历创业经营快餐连锁店需要了解的事项 快餐店在市场上处处都是,如何经营好一家快餐店,...
投资布朗尼斯西饼加盟连锁店需要多少钱?只需投资 20.62 万元即可开创致富之路! 品牌:布朗尼斯西饼 公司名称:布朗尼斯西饼加盟总部 ...
总 那么公司成立于 2024 年,是专业经营孕婴童食品和用品的连锁机构,公司人员配备:总经理 1 名,副总经理?名,区域经理?名,店长?名...
〔大(Da)型商业启(Qi)动方(Fang)案〕目(Mu) 录:前(Qian)言:行业现状与阐发第一局部:全球市场的现状及开展趋势第二局部:国际著名品牌地...
精选家具连锁店管理手册连锁经营是当今世界最富有活力、发展最快的一种商业经营方式,那么我们家具行业可针对连锁店经营特点,通过人员培训...
食品连锁店营运手册第一章 企业简介………………………………4一、企业简介………………………………4二、组织架构……………………………...
餐饮行业餐饮连锁店店•手'册文档编制序号:[KK8UY-LL9IO69-TTO6M3-MTOL89-FTT688]餐饮连锁店《店长手編资料餐饮连锁店《店长手册》第一章...
精品文档---下载后可任意编辑烘焙〔蛋糕〕连锁店,超级店长管理手册一、店长的职责二、店长的角色三、店长的自我修练四、管理技巧五、团队...

