自己动手调节汽车远近大灯大灯的调整汽车前照灯(我们俗称“汽车大灯”)是汽车夜间行驶的主要设备,前照灯亮度、光束角度如果不正确,将影响...
调节集合测量课件2023REPORTING•调节集合测量的基本概念•调节集合测量的方法与技术•调节集合测量的实践操作•调节集合测量的案例分析•...
1“动物和人体生命活动的调节”单元备课总述江苏省通州高级中学杨佩娟“动物和人体生命活动的调节”是高中生物必修3模块“稳态与环境”第2...
【化油器清洗篇】打开底座,发动机俯视图如上,清洗化油器之前先需要拆除如下装置:1、拔掉油管2、扭松进气喉管与空滤管螺丝(红色的)3、...
如何画调节变量交互作用图公式一:Y=β0+β1*X1+β2X2+β3X2*X3其中X2为调节变量X1为自变量Y为因变量β1、β2、β3为对应的回归系数做交互...
教师职业倦怠心理的调节教师如果已经被职业倦怠所困,想要改变现状其实只有两个办法,一是寻找一个新工作,重新再来;另一是改变自己,去适...
教师心理健康的自我维护和调节策略教师心理健康的自我维护和调节策略;教师是一个特殊群体,工作性质要求他们对自己的工作;一、学校对教师...
通过神经系统的调节第一课时1.下图为高等动物的体内细胞与外界环境的:物质交换示意图,下列叙述正确的是:A.①③都必须通过消化系统才能完...
扬中市第二高级中学高三生物备课组教学案主备:陈俊审核:施荣美第5讲植物的激素调节植物生长素的发现和作用(B)其他植物激素(A)植物激素在...
江海中学高二年级生物学科新授课教学案2.2通过激素的调节主备人:施赛男日期【学习目标】:1.描述动物和人体的激素调节。2.运用建构模型...
教师心理调节方法1、换位思考认:正确认知压力,灵活调整自己的心态。例如,当你遇到认为不公平的生活事件或不协调的人际关系、以及不愉快...
•复习提问:•1.免疫系统的组成?各自的作用是什么?•2.淋巴因子在特异性免疫中的作用?•3.抗体在体液免疫中如何发挥发用?•4.过敏反应...
中介变量定义中介变量(mediator)是自变量对因变量发生影响的中介。如果自变量X通过影响变量M来影响因变量Y,则称M为中介变量。例:“父亲的社...
正反馈和负反馈调节体内的控制系统包括非自动控制系统、反馈控制系统和前馈控制系统,但大纲只要求掌握反馈控制系统。反馈控制系统分负反馈...
第六章汽轮机调节系统•第一节汽轮机自动调节和保护的基本原理•第二节液压调节系统•第三节中间再热式汽轮机的调节•第四节调节系统的试验...
多台通风机联合运转的相互调节及调节过程中应注意的问题CONTENTS目录Part1通风机的串联及其调节Part2通风机的并联及其调节Part3调节过程中...
人体的神经调节编写者:权治清授课人:权治清授课年级:八年级版式:苏科版宁夏西吉三合中学人体的神经系统•人体的神经系统也是由细胞、组...
旋钮式冰箱如何调节温度不同季节温控器的指示范围为:夏季2~3;春秋季3~4;冬季4~5,当室温低于10°C时,温度补偿开关应打开、温控器调...
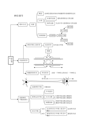
神经调节基本方式反射由神经系统对体内外刺激所作的规律性反应概念结构基础神经中枢感受器传入神经传出神经效应器反射弧分类遗传获得的先天...
1.神经调节的基本方式是-------------。2.反射活动的结构是----------;由---------、------------、----------和-----------五个部分组成...

