如何编写竹制品类项目商业计划书(包括竹制品类项目可行性研究报告) 目 录第一章 竹制品类项目商业计划书作用及融资流程.................
如何编写物业管理项目商业计划书(包括物业管理项目可行性研究报告) 目 录第一章 物业管理项目商业计划书作用及融资流程.................
如何编写太阳灶项目商业计划书(包括太阳灶项目可行性研究报告) 目 录第一章 太阳灶项目商业计划书作用及融资流程.......................
如何编写太阳能空调项目商业计划书(包括太阳能空调项目可行性研究报告) 目 录第一章 太阳能空调项目商业计划书作用及融资流程...........
如何编写食用菌项目商业计划书(包括食用菌项目可行性研究报告) 目 录第一章 食用菌项目商业计划书作用及融资流程.......................
如何编写焦化项目商业计划书(包括焦化项目可行性研究报告) 目 录第一章 焦化项目商业计划书作用及融资流程.............................
**集团有限公司企业标准管理制度编写规则(修订)1 目的为了规范集团各项管理制度的编写制订工作,促进集团制度化建设,不断提高企业管理水...
专项安全方案的编写要求1、编制的对象:根据中华人民共和国住房和城乡建设部门建质[2009]87 号文,危险性较大的分部分项工程应编制专项方...
如何编写教学设计和教案、如何听课和评课、教学反思及其写作如何编写教学设计与教案汤清修老师:今天我们一起来讨论,如何编写一份教案。作...
档案利用典型实例的编写方法及示例写作要诀:简而言之,就是何人何时何地因何事利用何档案或资料解决何问题或取得何效果。一、专题概要写法...
清华版第二册信息技术1. 初步认识 Word 工作界面。2. 学会在 Word 中输入文字、修改文字、保存文档。3. 初步了解文字处理软件及集成...
焦化有限公司制度编写格式规定 1。管理制度名称的确定。管理制度一般由“单位名称(全称)+管理的对象、过程、活动名称+制度文体名称”构成...
附件 2制度编写法律规范第一条 本法律规范适用于 xxx 公司所有单体制度,起草制度必须严格遵循本法律规范.制度单行本或汇编的印刷版式...
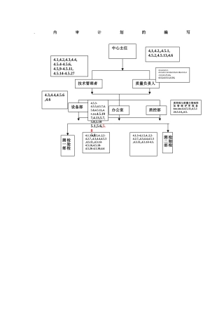
.内审计划的编写中心主任技术管理者质量负责人设备部质控部办公室检验检测一部检验检测二部4,1,4.2,,4.5.1,4.5.2,4.5.13,4.64.1,4.2,4.3,4....
5.4.1 变压器【学习目标】 (1)了解变压器的构造及工作原理。(2)探究理想变压器的原、副线圈中电压与匝数关系,电流与匝数关系。(3)...
公司级规章制度编写法律规范(暂行)制度框架:1. 总 则:写清制定的总原则;制订的初衷,拟达到的宏观目的是什么;2. 适用范围:写清本制...
* * * 有 限 公 司管 理 法 律 规 范版 本 : A 版 文 件 编 号 : GL01-01 标 准 化 管 理 法 律 规 范...
全局组机器鱼策略 DLL 编写说明1.策略函数接口STRATEGY_API BOOL MURStrategy(IplImage* imgOrig,IplImage* imgRecog ,CFishActio...
东升高中数学组导学案暑假编写安排一(必修⑤)第一章 解三角形 序号课时计划教材页面11.1.1 正弦定理P1探究 ~ P5 练习21.1.2 余弦...
信息化项目(云应用系统)建设方案编写指南第一章 编制内容要求一、项目概述(一)项目名称和类型。建设方案应统一命名为“项目名称+建设方...

