电脑桌面
添加小米粒文库到电脑桌面
安装后可以在桌面快捷访问

粉针剂工艺规程VIP免费

粉针剂工艺规程_第1页
1/25
粉针剂工艺规程_第2页
2/25
粉针剂工艺规程_第3页
3/25
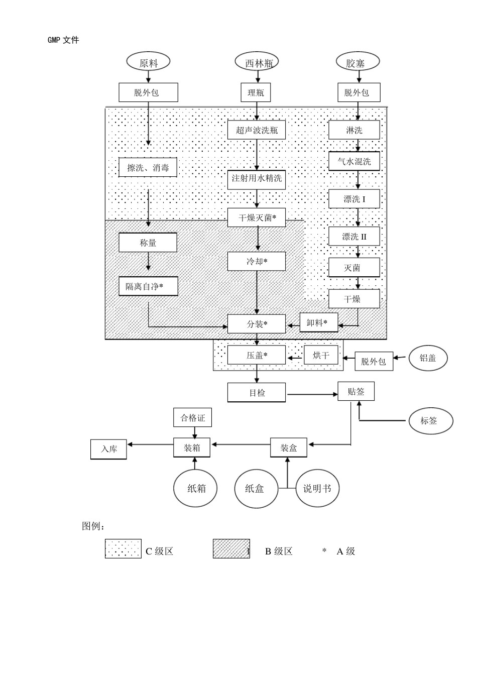
目 录 1.前言 1.1 引言 1.2 适用范围 1.3 引用标准 1.4 职责 1.5 粉针剂工艺流程图及环境区域划分 2.产品生产处方 3.生产工艺及操作 程序 3.1 生产场所和设备 3.2 关键生产设备操作规程和清洁规程 3.3 生产步骤 3.4 中间控制方法及质量标准 4.设备一览表及主要设备生产能力 5.技经指标与消耗定额 6.劳动定额 7.技术安全劳动保护及工艺卫生 GMP 文件 1. 前言 1.1 引言 本通用工艺规程规定了注射用粉针剂生产过程的工艺技术、质量、安全、工艺卫生、环境保护等内容,经验证合格,符合 GMP 规范要求。本工艺规程具有技术法规作用。 1.2 适用范围 本通用工艺规程适用于注射用粉针剂生产的全过程管理,是各部门共同遵循的技术准则。 1.3 引用标准 《中华人民共和国药典》2010 年版 《药品生产质量管理规程》2010 年版 1.4 职责 编写:车间主管 汇审:生产技术部、质管部、受权人及其它相关部门负责人 审核:质管部部长 批准:质量受权人 执行:各级生产质量管理人员及操作人员 监督管理:Q A、生产质量管理人员 1.5 粉针剂工艺流程图及环境区域划分 GMP 文件 标签 铝盖 原料 西林瓶 胶塞 纸箱 纸盒 说明书 图例: C 级区 1 B 级区 * A 级 漂洗I 淋洗 超声波洗瓶 擦洗、消毒 干燥 灭菌 漂洗II 气水混洗 烘干 冷却* 称量 干燥灭菌* 注射用水精洗 分装* 压盖* 目检 贴签 装盒 装箱 入库 卸料* 隔离自净* 脱外包 脱外包 理瓶 脱外包 合格证 GMP 文件 2. 产品生产处方 2.1 产品名称和产品代码: 2.1.1 产品名称: 通用名: (详见产品工艺规程) 商品名: (详见产品工艺规程) 英文名: (详见产品工艺规程) 汉语拼音:(详见产品工艺规程) 2.1.2 产品代码:(详见产品工艺规程) 2.2产品特点 2.2.1 剂型: 注射用无菌粉针剂 规格: (详见产品工艺规程) 包装规格:(详见产品工艺规程) 批量: (详见产品工艺规程) 2.2.2 储藏: (详见产品工艺规程) 产品性状:(详见产品工艺规程) 用法用量:(详见产品工艺规程) 适应症: (详见产品工艺规程) 有效期: (详见产品工艺规程) 2.2.3 批准文号:(详见产品工艺规程) 质量标准编号:(详见产品工艺规程) 2.3 所用原辅料清单 2.3.1 原辅料名称:(详见产品工艺规程) 原辅料代码:(详见产品工艺规程) 2.3.2 原辅料的用量折算: ...

1、当您付费下载文档后,您只拥有了使用权限,并不意味着购买了版权,文档只能用于自身使用,不得用于其他商业用途(如 [转卖]进行直接盈利或[编辑后售卖]进行间接盈利)。
2、本站所有内容均由合作方或网友上传,本站不对文档的完整性、权威性及其观点立场正确性做任何保证或承诺!文档内容仅供研究参考,付费前请自行鉴别。
3、如文档内容存在违规,或者侵犯商业秘密、侵犯著作权等,请点击“违规举报”。

碎片内容

粉针剂工艺规程

确认删除?
VIP
微信客服
  • 扫码咨询
会员Q群
  • 会员专属群点击这里加入QQ群
客服邮箱
回到顶部