电脑桌面
添加小米粒文库到电脑桌面
安装后可以在桌面快捷访问

护理重点环节应急预案VIP免费

护理重点环节应急预案_第1页
1/9
护理重点环节应急预案_第2页
2/9
护理重点环节应急预案_第3页
3/9
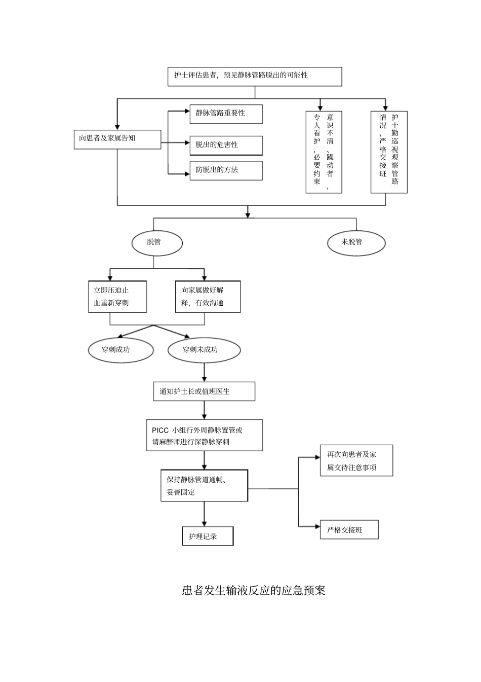
住院患者发生猝死的应急预案住院患者发生病情变化的应急预案患者发生猝死迅速判断病情,立即进行CPR 呼叫值班医生及其他医务人员开放气道,保持通畅人工呼吸,胸外心脏按压建立静脉通道配合医生电除颤通知麻醉科气管插管加压面罩接简易呼吸器给家属心理支持执行口头医嘱,复述连接心电图,心电监护仪调试呼吸机,辅助呼吸保留安瓿进行核对监测生命体征患者呼吸心跳恢复,进一步进行监护及抢救核对抢救医嘱及药物,6 小时内据实、准确记录抢救过程危重患者静脉管路脱出的应急预案患者病情变化护士快速评估观察意识状态,生命体征呼叫医生护士准备抢救物品配合医生抢救保持呼吸道通畅吸氧建立静脉通道监测生命体征及时准确记录与家属沟通通知护理部、 医务部(重大抢救、特殊患者)患者发生输液反应的应急预案护士评估患者,预见静脉管路脱出的可能性向患者及家属告知静脉管路重要性脱出的危害性防脱出的方法意识不清、躁动者,专人看护,必要约束护士勤巡视观察管路情况,严格交接班脱管未脱管立即压迫止血重新穿刺向家属做好解释,有效沟通穿刺成功穿刺未成功通知护士长或值班医生PICC 小组行外周静脉置管或请麻醉师进行深静脉穿刺保持静脉管道通畅、妥善固定护理记录再次向患者及家属交待注意事项严格交接班患者发生输血反应的应急预案患者出现输液反应立即更换液体及输液器保留静脉输液通道报告值班医生、护士长遵医嘱给药,配合医生抢救向患者及家属做好心理疏导严密观察病情变化将换下的输液器和液体送检向相关部门汇报协助填写输液反应报告单记录生命体征、抢救过程药学部、护理部、院感部患者发生过敏性休克的应急预案发生输血反应立即停止输血更换输液器输入生理盐水报告医生和护士长病情危重立即准备抢救物品、药品配合医生抢救向患者及家属做好心理疏导必要时氧气吸入将输血器、血袋、余血送往输血科填写输血反应报告卡严密观察病情,做好抢救记录与家属、患者沟通一般反应严密观察病情做好记录引流管脱出的应急预案患者发生过敏性休克立即停药, 迅速阻断过敏源, 去枕、平卧位、保暖、吸氧遵医嘱,皮下注射肾上腺素保持气道通畅,遵医嘱给药备好各种抢救药品、物品,配合医生抢救心跳骤停时立即行心肺复苏术准确记录病情及抢救过程通知值班医生及其他医护人员复述口头医嘱,操作后保留安瓿核对病情稳定,安抚患者及家属,告知引起过敏的药物,避免再用8 防范患者坠床、跌倒的应急预案护士评估患者,预见引流管脱出的可能性向患者...

1、当您付费下载文档后,您只拥有了使用权限,并不意味着购买了版权,文档只能用于自身使用,不得用于其他商业用途(如 [转卖]进行直接盈利或[编辑后售卖]进行间接盈利)。
2、本站所有内容均由合作方或网友上传,本站不对文档的完整性、权威性及其观点立场正确性做任何保证或承诺!文档内容仅供研究参考,付费前请自行鉴别。
3、如文档内容存在违规,或者侵犯商业秘密、侵犯著作权等,请点击“违规举报”。

碎片内容

护理重点环节应急预案

您可能关注的文档

确认删除?
VIP
微信客服
  • 扫码咨询
会员Q群
  • 会员专属群点击这里加入QQ群
客服邮箱
回到顶部