电脑桌面
添加小米粒文库到电脑桌面
安装后可以在桌面快捷访问

采购合同审查的内容和方法VIP免费

采购合同审查的内容和方法_第1页
1/3
采购合同审查的内容和方法_第2页
2/3
采购合同审查的内容和方法_第3页
3/3
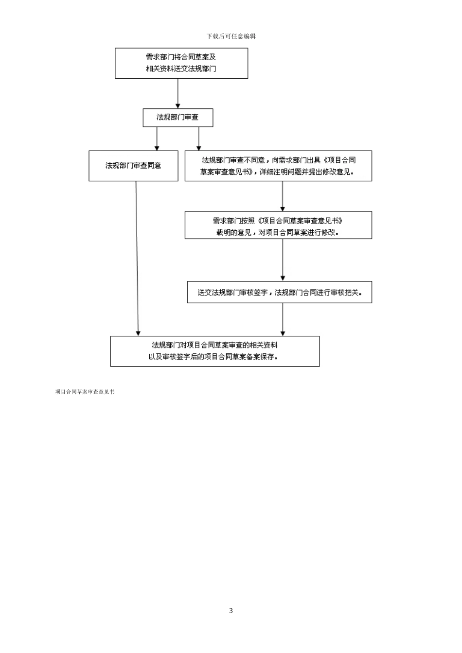
下载后可任意编辑采购合同审查的内容和方法 摘要:合同在物资采购等所有经济活动中,起着极为重要的作用,它是保护合同当事人的合法权益、维护经济秩序的主要手段。因此,加强对合同的审查尤为重要。 【合同审查】谈采购合同审查的内容和方法 自年初以来,全国烟草行业根据国家局“三项检查”工作的部署,本着“查改并举、完善制度”的原则,从“制度、决策、运作、监督”的四个环节入手,开展了轰轰烈烈、扎扎实实的“三项检查”自查工作,并取得了显著成效。但在对物资采购合同审查方面,很多单位不了解合同由谁来审查、审查哪些内容以及怎样审查等,今日笔者和大家共同来探讨一下。 大家知道,合同在物资采购等所有经济活动中,起着极为重要的作用,它是保护合同当事人的合法权益、维护经济秩序的主要手段。因此,加强对合同的审查尤为重要。 合同审查的主体 由法规部门依据国家法律、法规及规章对物资采购项目合同进行审核把关。 合同审查的主要内容 项目决策依据。包括决定采购项目的上级批复;党组(党委)会议、局长(总经理)办公会议、预算管理委员会会议决议。 审查项目招投标程序。根据《中华人民共和国招投标法》、《烟草行业招投标采购活动廉政监督工作暂行规定(试行)》(国烟监[2024]127 号),法规部门联合纪检、审计等部门对招标、采购过程进行监督;法规部门重点负责对招标、采购活动中的法律问题进行审核把关。一是审查招投标手续是否完备。二是审查投标企业资格。三是招投标的法律程序。四是审查评标是否严格按招标文件评审。 对招标准备阶段的监督。项目的审批是否根据程序经相关会议讨论决定;采购项目是否经过审批,经费是否列入预算;招标形式是否与批准确定的形式相符;选定的招标代理机构是否经过比选等必要的程序;招标文件及其评分细则是否含有刻意设定的不合理排他条款,是否经过相关专业部门审核并签署意见;招标文件及其评分细则是否按程序进行讨论并经过立项单位法定代表人签字同意,对外发布前是否经过了立项单位法定代表人的委托授权;对招标项目编制的工程概算,是否组织或聘请有资质且无利害关系的第三方进行论证和评估;属于基建技改项目的,招标文件是否约定双方要建立共管帐户、履约保证金,以及明确材料共管机制。 对开标阶段的监督。拟定的开标程序是否合法,是否公开、公平、公正;是否根据招标文件所规定的时间、地点开标,是否邀请所有投标人参加开标;是否按规定的投标截止时间终止投标文件的接收;开标时是...

1、当您付费下载文档后,您只拥有了使用权限,并不意味着购买了版权,文档只能用于自身使用,不得用于其他商业用途(如 [转卖]进行直接盈利或[编辑后售卖]进行间接盈利)。
2、本站所有内容均由合作方或网友上传,本站不对文档的完整性、权威性及其观点立场正确性做任何保证或承诺!文档内容仅供研究参考,付费前请自行鉴别。
3、如文档内容存在违规,或者侵犯商业秘密、侵犯著作权等,请点击“违规举报”。

碎片内容

采购合同审查的内容和方法

您可能关注的文档

阳光书坊+ 关注
实名认证
内容提供者

阳光书坊,传播未来

确认删除?
VIP
微信客服
  • 扫码咨询
会员Q群
  • 会员专属群点击这里加入QQ群
客服邮箱
回到顶部