电脑桌面
添加小米粒文库到电脑桌面
安装后可以在桌面快捷访问

2024年9月份考试作业施工组织与管理第3次VIP免费

2024年9月份考试作业施工组织与管理第3次_第1页
1/9
2024年9月份考试作业施工组织与管理第3次_第2页
2/9
2024年9月份考试作业施工组织与管理第3次_第3页
3/9
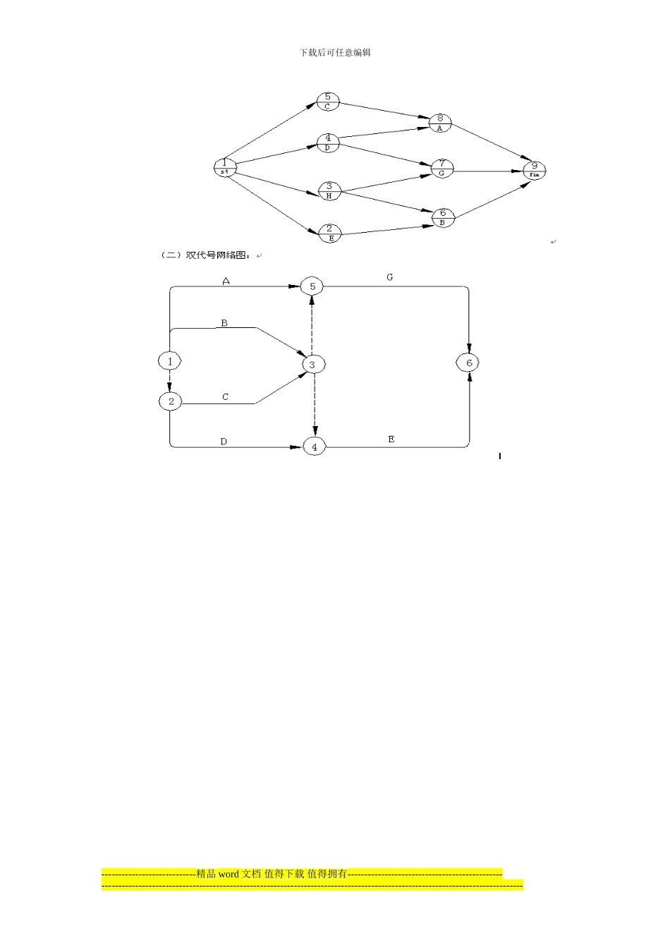
下载后可任意编辑2024 年 9 月份考试作业施工组织与管理第 3 次施工组织与管理一 、 问答题 (共 2 题、0 / 20 分 ) 1、根据预定完成时间如何计算完成概率? 答:2、工期优化应注意哪些问题?答:在进行工期优化时要注意:1、是否出现资源的过度分配。2、工序安排是否出现变化。3、成本是否上升超过项目预算。4、是否需要通过增加资源来进行优化,资源是否具备可利用性。5、是否出现其他关键线路,或多条关键线路,造成项目风险加大。二 、 多项选择题 (共 10 题、0 / 30 分 ) 1、BCD2、ACD3、ABD4、ABCE5、BCD6、ABD7、ABCD8、AD9、AE10、ABE三 、 单项选择题 (共 10 题、0 / 20 分 )1、D2、B3、D4、C5、B6、C----------------------------精品 word 文档 值得下载 值得拥有---------------------------------------------------------------------------------------------------------------------------------------------------------------------------下载后可任意编辑7、D8、C9、B10、B四 、 计算题 (共 3 题、0 / 30 分 )1、绘制下列工作的网络计划:答:单代号网络图:----------------------------精品 word 文档 值得下载 值得拥有---------------------------------------------------------------------------------------------------------------------------------------------------------------------------下载后可任意编辑----------------------------精品 word 文档 值得下载 值得拥有---------------------------------------------------------------------------------------------------------------------------------------------------------------------------下载后可任意编辑----------------------------精品 word 文档 值得下载 值得拥有---------------------------------------------------------------------------------------------------------------------------------------------------------------------------下载后可任意编辑----------------------------精品 word 文档 值得下载 值得拥有---------------------------------------------------------------------------------------------------------------------------------------------------------------------------下载后可任意编辑2、----------------------------精品...

1、当您付费下载文档后,您只拥有了使用权限,并不意味着购买了版权,文档只能用于自身使用,不得用于其他商业用途(如 [转卖]进行直接盈利或[编辑后售卖]进行间接盈利)。
2、本站所有内容均由合作方或网友上传,本站不对文档的完整性、权威性及其观点立场正确性做任何保证或承诺!文档内容仅供研究参考,付费前请自行鉴别。
3、如文档内容存在违规,或者侵犯商业秘密、侵犯著作权等,请点击“违规举报”。

碎片内容

2024年9月份考试作业施工组织与管理第3次

确认删除?
VIP
微信客服
  • 扫码咨询
会员Q群
  • 会员专属群点击这里加入QQ群
客服邮箱
回到顶部