电脑桌面
添加小米粒文库到电脑桌面
安装后可以在桌面快捷访问

楼宇对讲施工设计方案VIP免费

楼宇对讲施工设计方案_第1页
1/16
楼宇对讲施工设计方案_第2页
2/16
楼宇对讲施工设计方案_第3页
3/16
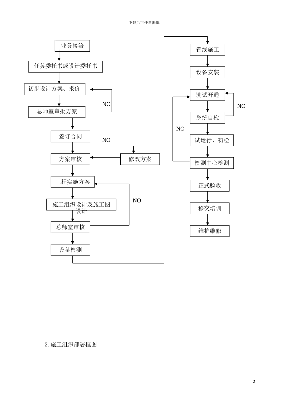
XXXX 小 区楼宇对讲系统施工设计方案 下载后可任意编辑施工组织设计方案 智能建筑弱电工程的实施与质量控制是目前国内智能建筑行业关注的热点,为使正在实施和将要实施的智能建筑名符其实和发挥应有的投资效果,必须加强对智能建筑弱电系统工程的施工质量控制。我公司将 XXXX 楼宇对讲系统项目视为重点工程,公司将派管理班子,成立该工程项目部,选用素养好、创优能力强的施工人员,以确保工程质量,特制本施工组织设计。一、 施工组织计划我公司使用项目经理负责制,更好的明确责任落实对象,加强上层管理。在公司统一领导下,对本工程项目的工程质量、安全生产、文明施工等工作全面负责,确保既定目标的实现。贯彻执行国家及行业有关工程质量、安全生产的法律规范、标准、规程及各类技术管理制度。严格执行公司的质量保证手册、程序文件的规定和要求。认真贯彻公司的质量方针和目标,建立项目质量保证体系,保证质量保证体系有效地运作。定期召开施工例会,及时掌握生产动态,在布置落实施工任务时,同时布置质量要求,并进行检查和监督,正确处理好工期、质量和安全三者的关系,严格履行工程承包合同,确保工期和质量。协助、配合监理工作,认真听取顾客意见,做好质量回访工作,树立、宣传企业信誉和形象。强化内部管理配合地区搞好社会治安统合治理工作,与地区职能部门建立群防群治关系,确保一方平安,保证工程顺利完成。 1.工程管理流程图1下载后可任意编辑2.施工组织部署框图NO签订合同方案审核工程实施方案施工组织设计及施工图设计总师室审核设备检测修改方案NONO管线施工设备安装测试开通系统自检试运行、初检检测中心检测正式验收移交培训维护维修NONO业务接洽2任务委托书或设计委托书初步设计方案、报价总师室审批方案下载后可任意编辑二、 施工组织措施根据工程对小区智能化系统工程总承包的要求,我们的基本任务是规划设计、咨询、组织和协调实施。具体地说,就是做好系统整体规划和深化设计,科学、客观的设备材料选型和严格的施工费用控制,节约工程各个阶段的开支,为业主把好概算关。其具体的工作项目有:a) 对小区智能化系统进行全面规划,该规划是开放的、兼容的,可扩充的,并具有明显的先进性。另外,在整体规划范围内,着重提出本小区智能化,系统规划。b) 深化完善初步设计,形成小区智能化系统的总体设计,完成全部详细设计,使该系统的功能达到提高效率、提高服务水平、降低消耗的目的。c) 编写智能化系...

1、当您付费下载文档后,您只拥有了使用权限,并不意味着购买了版权,文档只能用于自身使用,不得用于其他商业用途(如 [转卖]进行直接盈利或[编辑后售卖]进行间接盈利)。
2、本站所有内容均由合作方或网友上传,本站不对文档的完整性、权威性及其观点立场正确性做任何保证或承诺!文档内容仅供研究参考,付费前请自行鉴别。
3、如文档内容存在违规,或者侵犯商业秘密、侵犯著作权等,请点击“违规举报”。

碎片内容

楼宇对讲施工设计方案

您可能关注的文档

确认删除?
VIP
微信客服
  • 扫码咨询
会员Q群
  • 会员专属群点击这里加入QQ群
客服邮箱
回到顶部