电脑桌面
添加小米粒文库到电脑桌面
安装后可以在桌面快捷访问

某小学装饰装修工程监理细则VIP免费

某小学装饰装修工程监理细则_第1页
1/17
某小学装饰装修工程监理细则_第2页
2/17
某小学装饰装修工程监理细则_第3页
3/17
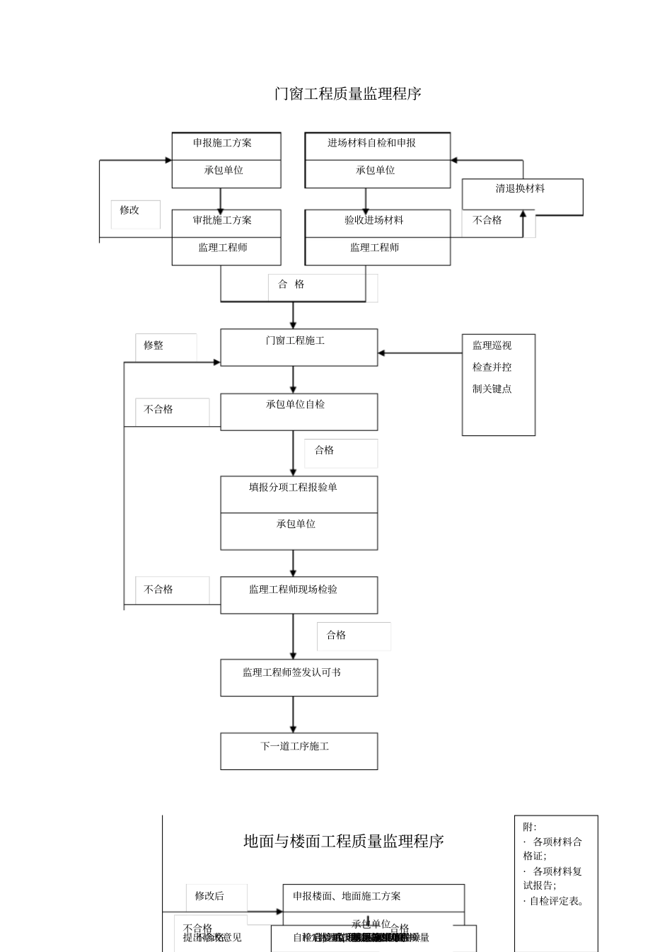
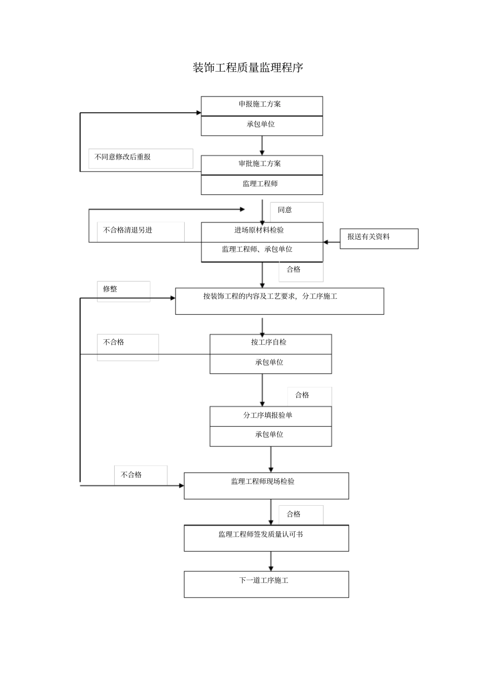
达拉特旗树林召小学装饰装修工程监理细则一、 专业工程的特点:装饰装修工程监理工作涉及到以下内容:1. 抹灰子分部工程:A、室内一般抹灰工程:20 厚 1:1:6 混合砂浆底、面、刷白色内墙涂料;B、室外一般抹灰工程:20 厚 1:1:4 混合砂浆底面,刷外墙涂料;包括基层处理、砂浆配比、表面平整度、垂直度、阴阳角方正等的控制;2. 门窗子分部工程:A、铝合金窗工程B、木门安装工程包括木门、彩铝门窗的安装、嵌缝、玻璃安装等的控制;3. 地面子分部工程:A 、 板块面层的基层分项工程,水泥砂浆找平;B、 板块面层工程;包括基层处理、找平层、面层的施工,表面平整度、密实度等的控制;4. 饰面子分部工程:A 、 饰面砖工程:走道、卫生间、淋浴房等采用高1.5m,墙面砖;包括基层处理,粘贴材料、表面平整度、垂直度、阴阳角方正、接缝等的控制;5. 涂饰工程:包括基层处理、刷涂等;6. 细部工程:A 、 护栏和扶手的制作与安装工程7、电气工程:8、给排水工程:9、智能建筑工程:二、监理工作流程装饰工程质量监理程序申报施工方案承包单位审批施工方案监理工程师同意进场原材料检验监理工程师、承包单位合格按装饰工程的内容及工艺要求,分工序施工按工序自检承包单位合格分工序填报验单承包单位监理工程师现场检验合格监理工程师签发质量认可书下一道工序施工不合格清退另进报送有关资料修整不合格不合格不同意修改后重报门窗工程质量监理程序地面与楼面工程质量监理程序申报施工方案承包单位进场材料自检和申报承包单位审批施工方案监理工程师验收进场材料监理工程师清退换材料修改不合格合 格门窗工程施工承包单位自检合格填报分项工程报验单承包单位监理工程师现场检验合格监理工程师签发认可书下一道工序施工监理巡视检查并控制关键点不合格不合格修整申报楼面、地面施工方案承包单位监理工程师审核修改后提出修改意见基层施工自检后,填报基层报验单不合格合格面层施工自检后,填报面层报验单承包单位监理工程师检验合格监理工程师签发认可书评定楼面、地面分部工程质量附:· 各项材料合格证;· 各项材料复试报告;· 自检评定表。不合格同意安装工程监理工作流程问题不合格不合要求不合格不合格不合格不合要求不合格不合格不合格不合格设计院修改熟悉施工图, 完成 图 纸 会 审 及技术交底审核开工申请, 重点是承包人的资质, 特殊工种上岗证, 施工方案及施工组织设计承包人修整正式开工配合...

1、当您付费下载文档后,您只拥有了使用权限,并不意味着购买了版权,文档只能用于自身使用,不得用于其他商业用途(如 [转卖]进行直接盈利或[编辑后售卖]进行间接盈利)。
2、本站所有内容均由合作方或网友上传,本站不对文档的完整性、权威性及其观点立场正确性做任何保证或承诺!文档内容仅供研究参考,付费前请自行鉴别。
3、如文档内容存在违规,或者侵犯商业秘密、侵犯著作权等,请点击“违规举报”。

碎片内容

某小学装饰装修工程监理细则

确认删除?
VIP
微信客服
  • 扫码咨询
会员Q群
  • 会员专属群点击这里加入QQ群
客服邮箱
回到顶部