电脑桌面
添加小米粒文库到电脑桌面
安装后可以在桌面快捷访问

第十二章-文明施工、文物保护目标及措施VIP免费

第十二章-文明施工、文物保护目标及措施_第1页
1/3
第十二章-文明施工、文物保护目标及措施_第2页
2/3
第十二章-文明施工、文物保护目标及措施_第3页
3/3
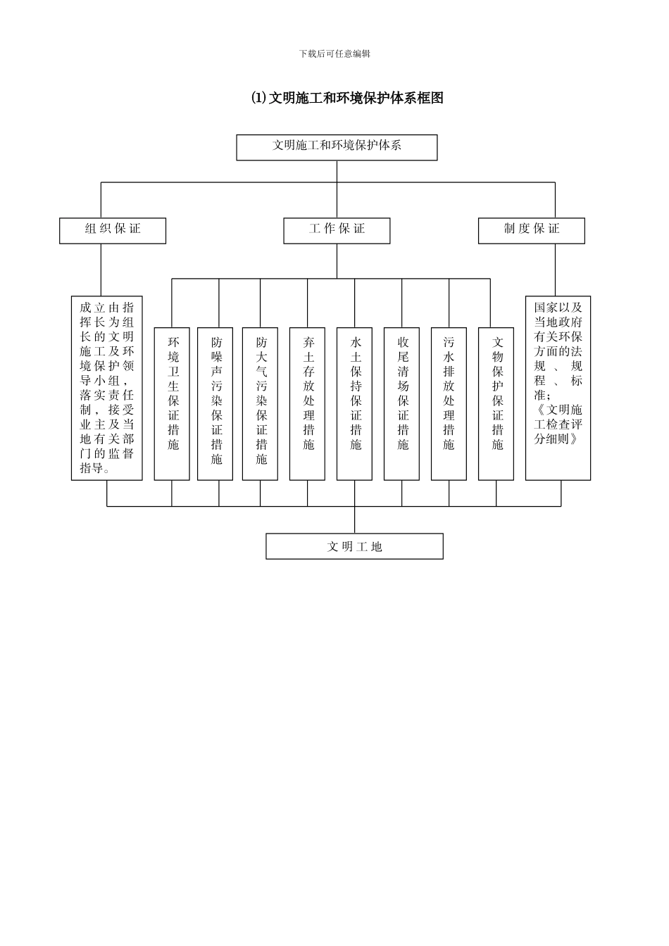
下载后可任意编辑第十二章 文明施工、文物保护目标及措施1、文明施工、文物保护目标施工驻地和施工场地干净有序,施工组织严密,现场管理有序,场地布置合理,材料堆放整齐,道路平整,排水通畅,环境简朴有用,机械、照明、通风良好,施工安全,紧张有序。对需保护的建筑物实行措施加强防护,保证其安全。2、文明施工、文物保护措施2.1 文明施工措施⑴ 现场文明施工措施① 积极与当地政府、环保等部门联系协作,在施工中做好环保工作。② 积极开展文明施工窗口达标活动,对所有施工人员开展以创建文明施工场地为主要内容的思想教育工作,确保做到施工中无重大工伤事故发生。③ 合理布置施工场地并设置醒目标牌,做到现场施工材料、机具设备堆放整齐、标识清楚,施工便道、管路、电力线、通讯线等各种管、线、路布置整齐美观,现场周围道路平整无积水。④ 施工和管理人员实行挂牌上岗制度,做到言行举止文明,严格要求根据有关法律规范和标准进行施工操作,严禁违反操作规程进行野蛮施工。⑤ 施工和管理人员对施工过程中各种资料填写必须做到准确、法律规范、及时,收集完整齐全,归档有序。⑥ 准确计划现场材料用量,及时清理施工现场,力争做到工完料尽场地清洁。⑦ 对施工便道常常洒水,防止尘土飞扬并且做好施工用水及废水的处理工作,确保施工场地生活设施清洁不受污染。⑧ 建立奖惩制度,对评定为文明施工的单位和个人实行奖励,对不文明的单位和个人进行处罚。⑨ 工程竣工后,仔细清理现场、恢复周边地貌及植被,文明撤离。⑩ 与当地政府和群众广泛开展共建活动,尊重少数民族的风俗习惯,搞好民族团结、化解民族纠纷,积极推动两个文明建设,做到工程干到哪里,就把文明带到哪里。⑵ 文明施工资料管理① 根据文明施工要求,做好相应的内业资料,如文明施工基础资料及施工许可证的记录、申报、保管工作。② 办公室布置文明施工有关的图表。③ 定期进行文明施工管理活动,检查前期文明施工情况,发现问题及时整改,并做好记录。2.2 文物及周围建筑物保护措施① 对施工区域及其周围的建筑物进行调查,会同其产权、维护单位共同划定需要施工防护的范围,需要拆迁的建筑物,在受到建筑单位委托的前提下,及时与产权单位签订拆迁协议,并尽早拆迁。需保留的与产权单位商定加固防护方案,实行切实可行的措施,保证施工中正常使用及以后的使用维修。② 对需保护的建筑物实行措施加强防护,保证其安全。建筑物附近不进行爆破作...

1、当您付费下载文档后,您只拥有了使用权限,并不意味着购买了版权,文档只能用于自身使用,不得用于其他商业用途(如 [转卖]进行直接盈利或[编辑后售卖]进行间接盈利)。
2、本站所有内容均由合作方或网友上传,本站不对文档的完整性、权威性及其观点立场正确性做任何保证或承诺!文档内容仅供研究参考,付费前请自行鉴别。
3、如文档内容存在违规,或者侵犯商业秘密、侵犯著作权等,请点击“违规举报”。

碎片内容

第十二章-文明施工、文物保护目标及措施

您可能关注的文档

确认删除?
VIP
微信客服
  • 扫码咨询
会员Q群
  • 会员专属群点击这里加入QQ群
客服邮箱
回到顶部