电脑桌面
添加小米粒文库到电脑桌面
安装后可以在桌面快捷访问

MP1484互换的同步降压型DCDC稳压器MXT2484VIP免费

MP1484互换的同步降压型DCDC稳压器MXT2484_第1页
1/9
MP1484互换的同步降压型DCDC稳压器MXT2484_第2页
2/9
MP1484互换的同步降压型DCDC稳压器MXT2484_第3页
3/9
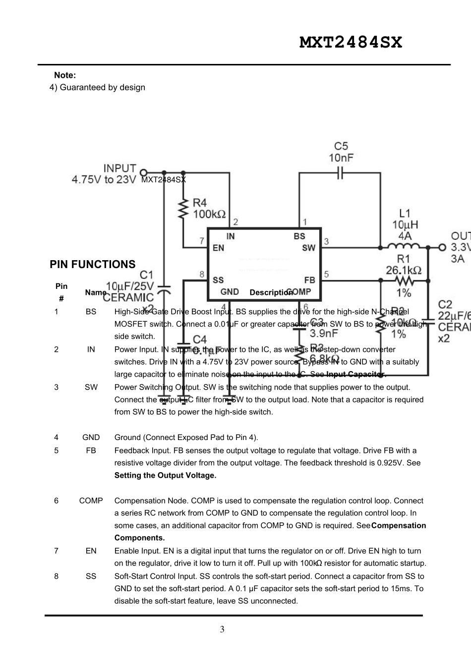
1 ABSOLUTE MAXIMUM RATINGS (1) Supply Voltage (VIN).......................-0.3V to 26V Switch Voltage (VSW)............. –1V to VIN + 0.3V Bootstrap Voltage (VBS) ...Vsw-0.3V to VSW + 6V Enable/UVLO Voltage (VEN)...........–0.3V to +6V Comp Voltage (VCOMP) ...................–0.3V to +6V Feedback Voltage (VFB) ................–0.3V to +6V Junction Temperature ........................... +150°C Lead Temperature ................................. +260°C Storage Temperature.............. –55°C to +150°C Recommended Operating Conditions(2) Input Voltage (VIN) ......................... 4.75V to 23V Output Voltage (VSW) ....................... 0.925 to 20V Operating Temperature...............–20°C to +85°C Thermal Resistance(3) θJA θJC SOIC8N ................................ 50...... 10... °C/W Notes: 1) Exceeding these ratings may damage the device. 2) The device is not guaranteed to function outside of its operating conditions. 3) Measured on approximately 1” square of 1 oz copper. 3A, 23V, 340 – 450 kHz Synchronous Rectified Step-Down Converter DESCRIPTION The MXT2484SX is a monolithic synchronous buck regulator. The device integrates 100mΩ MOSFETS that provide 3A continuous load cur-rent over a wide operating input voltage of 4.75V to 23V. Current mode control provides fast transient response and cycle-by-cycle cur-rent limit. An adjustable soft-start prevents inrush current at turn-on. In shutdown mode, the supply cur-rent drops below 1μA. This device, available in an 8-pin SOIC pack-age, provides a very compact system solution with minimal reliance on external components. FEATURES • 3A Output Current • Wide 4.75V to 23V Operating Input Range • Integrated 100mΩ Power MOSFET Switches • Output Adjustable from 0.925V t...

1、当您付费下载文档后,您只拥有了使用权限,并不意味着购买了版权,文档只能用于自身使用,不得用于其他商业用途(如 [转卖]进行直接盈利或[编辑后售卖]进行间接盈利)。
2、本站所有内容均由合作方或网友上传,本站不对文档的完整性、权威性及其观点立场正确性做任何保证或承诺!文档内容仅供研究参考,付费前请自行鉴别。
3、如文档内容存在违规,或者侵犯商业秘密、侵犯著作权等,请点击“违规举报”。

碎片内容

MP1484互换的同步降压型DCDC稳压器MXT2484

小辰3+ 关注
实名认证
内容提供者

出售各种资料和文档

确认删除?
VIP
微信客服
  • 扫码咨询
会员Q群
  • 会员专属群点击这里加入QQ群
客服邮箱
回到顶部