电脑桌面
添加小米粒文库到电脑桌面
安装后可以在桌面快捷访问

《人工智能》课后习题答案VIP免费

《人工智能》课后习题答案_第1页
1/47
《人工智能》课后习题答案_第2页
2/47
《人工智能》课后习题答案_第3页
3/47
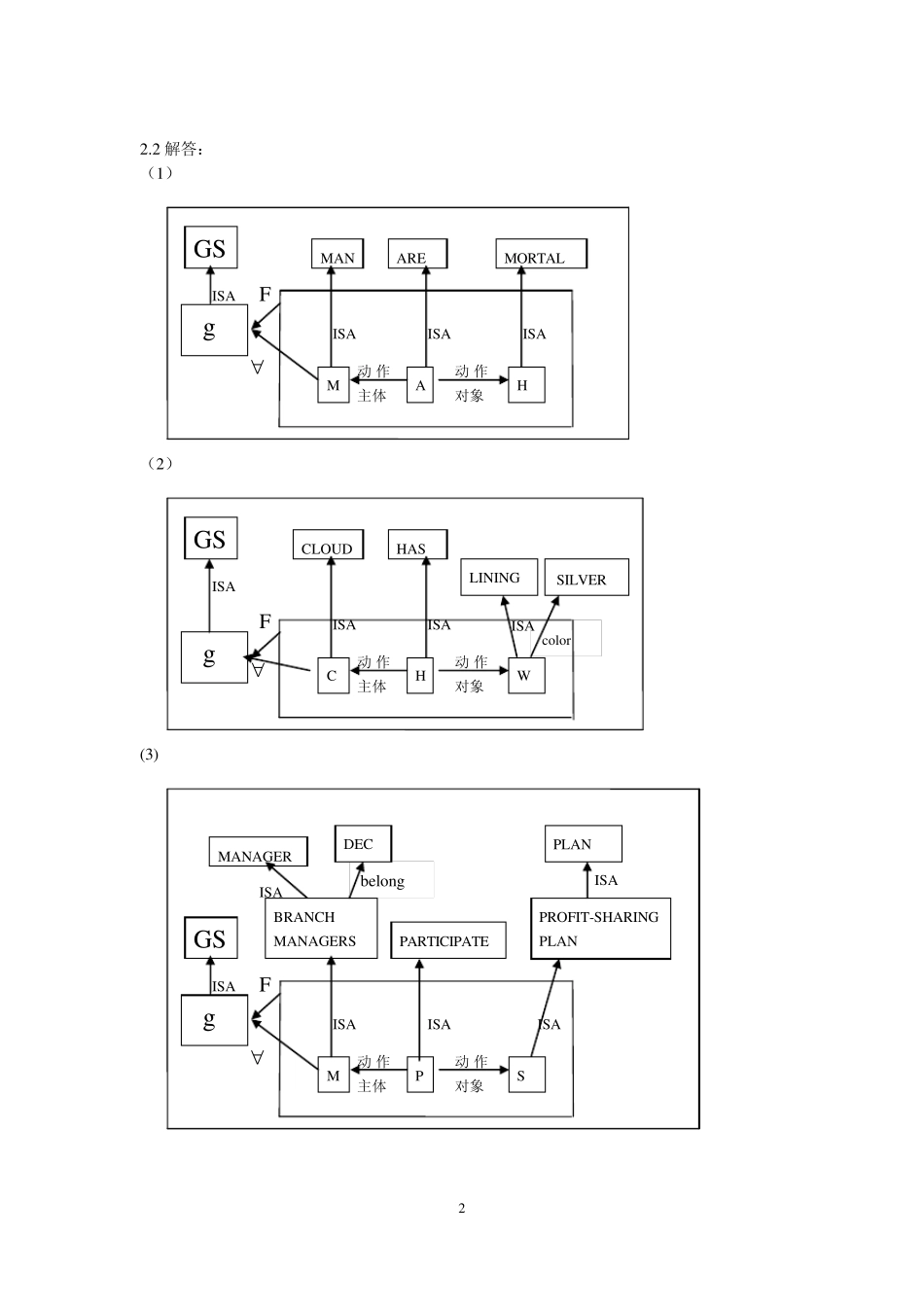
1 《人工智能》课后习题答案 第一章 绪论 1.1 答:人工智能就是让机器完成那些如果由人来做则需要智能的事情的科学。人工智能是相对于人的自然智能而言,即用人工的方法和技术,研制智能机器或智能系统来模仿延伸和扩展人的智能,实现智能行为和“机器思维”,解决需要人类专家才能处理的问题。 1.2 答:“智能”一词源于拉丁“Legere”,意思是收集、汇集,智能通常用来表示从中进行选择、理解和感觉。所谓自然智能就是人类和一些动物所具有的智力和行为能力。 智力是针对具体情况的,根据不同的情况有不同的含义。“智力”是指学会某种技能的能力,而不是指技能本身。 1.3 答:专家系统是一个智能的计算机程序,他运用知识和推理步骤来解决只有专家才能解决的复杂问题。即任何解题能力达到了同领域人类专家水平的计算机程序度可以称为专家系统。 1.4 答: 自然语言处理— 语言翻译系统,金山词霸系列 机器人— 足球机器人 模式识别— Microsoft Cartoon Maker 博弈— 围棋和跳棋 第二章 知识表达技术 2.1 解答: (1)状态空间(State Space)是利用状态变量和操作符号,表示系统或问题的有关知识的符号体系,状态空间是一个四元组(S,O,S0,G): S— 状态集合;O— 操作算子集合;S0— 初始状态,S0S;G— 目的状 态,GS,(G 可若干具体状态,也可满足某些性质的路径信息描述) 从 S0 结点到 G 结点的路径被称为求解路径。 状态空间一解是一有限操作算子序列,它使初始状态转换为目标状态: O1 O2 O3 Ok S0S1S2… … G 其中 O1,… ,Ok 即为状态空间的一个解(解往往不是唯一的) (2)谓词逻辑是命题逻辑的扩充和发展,它将原子命题分解成客体和谓词两个部分。 与命题逻辑中命题公式相对应,谓词逻辑中也有谓词(命题函数)公式、原子谓词公式、复合谓词公式等概念。一阶谓词逻辑是谓词逻辑中最直观的一种逻辑。 (3)语义网络是一种采用网络形式表示人类知识的方法。即用一个有向图表示概念和概念之间的关系,其中节点代表概念,节点之间的连接弧(也称联想弧)代表概念之间的关系。 常见的语义网络形式有命题语义网络、数据语义网络:E-R 图(实体-关系图)、语言语义网络等。 2 2.2 解答: (1) (2) (3) belong GS g M P S MANAGERPARTICIPATE PLAN ISA ISA ISA ISA 动作主体 F  动作对象 BRANCH MANAGERS PROFIT-SHAR...

1、当您付费下载文档后,您只拥有了使用权限,并不意味着购买了版权,文档只能用于自身使用,不得用于其他商业用途(如 [转卖]进行直接盈利或[编辑后售卖]进行间接盈利)。
2、本站所有内容均由合作方或网友上传,本站不对文档的完整性、权威性及其观点立场正确性做任何保证或承诺!文档内容仅供研究参考,付费前请自行鉴别。
3、如文档内容存在违规,或者侵犯商业秘密、侵犯著作权等,请点击“违规举报”。

碎片内容

《人工智能》课后习题答案

您可能关注的文档

确认删除?
VIP
微信客服
  • 扫码咨询
会员Q群
  • 会员专属群点击这里加入QQ群
客服邮箱
回到顶部