电脑桌面
添加小米粒文库到电脑桌面
安装后可以在桌面快捷访问

交通工程质量监督风险排查流程图

交通工程质量监督风险排查流程图_第1页
1/17
交通工程质量监督风险排查流程图_第2页
2/17
交通工程质量监督风险排查流程图_第3页
3/17
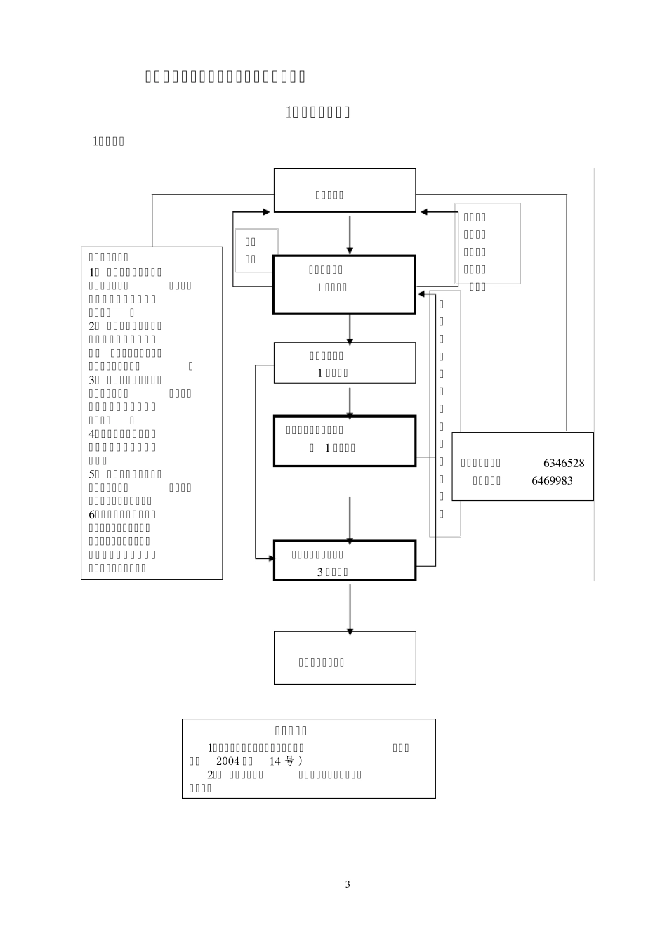
1 交通工程质量、安全监督类 一、交通(公路、站场、港口码头)工程质量、安全监督流程图 二、分项流程图、廉政风险点及防控措施 2 一、交通工程质量、安全监督流程图 市场管理 1 .市场登记备案 2 .市场登记复审 项目建设监督阶段 3 、办理质量、安全监督手续 4 、质量监督检查 5 、安全监督检查 6 .交工验收 7 .竣工验收 交竣工验收阶段 3 资料有误次日返还或进行整改 二、分项流程图、廉政风险点及防控措施 1、市场登记备案 1)流程图 应提交的材料: 1 、 工商营业执照副本原件及壹份复印件(复印件需加盖复印专用章或单位公章); 2 、 建设部门颁发的资质证书副本原件及壹份复印件 (复印件需加盖复印专用章或单位公章); 3 、 安全生产许可证书原件及壹份复印件(复印件需加盖复印专用章或单位公章); 4 、申请单位出具的办理市场准入登记的介绍信壹份; 5 、 经办人员身份证原件及复印件壹份,复印件上注明经办人员联系电话;6 、从业单位近五年从事公路、水运勘察设计、咨询、施工、监理、试验检测方面业务的主要业绩证明材料复印件壹份。 不予 受理 材料不齐 退还资料 (并一次性告知) 告知) 申请人申请 经办人员受理 1 个工作日 分管领导审核 1 个工作日 报市交通运输局领导审批 1 个工作日 经办人员备案证制作 3 个工作日 申请人领取备案证 单位办公电话:6 3 4 6 5 2 8 监督电话:6 4 6 9 9 8 3 办理依据: 1、交通部《公路建设市场管理办法》(交通部令2004 年第1 4 号) 2 、《 宜昌市公路、水运建设市场登记管理实施细则》 4 2 )廉政风险点及防控措施一览表 市场登记备案工作 流程 所处环节 所涉对象及廉政风险点 防控措施及责任主体 所涉对象 廉政风险点 防控措施 责任主体 市 场 登 记 备 案 资 料 审 查 经办人员、分管领导 1 .对虚假证件、证书、业绩等故意隐瞒。 2 、接受申请人员或单位的吃请,收受礼金、礼券等,为 相 关 人 员 或 单位说情、打招呼。 1 .建立各参建单位信用档案,对有违规行为的申请单位列入黑名单; 2 、加强经办人员职业素质教育。 经办人员、分管领导 5 资料有误次日返还或进行整改 2、市场登记复审 1)流程图 应提交的材料: 1、 工商营业执照副本原件及复印件一份; 2、 建设部门颁发的资质证书副本原件及复印件一份; 3、《宜昌市公路、水运建设市场...

1、当您付费下载文档后,您只拥有了使用权限,并不意味着购买了版权,文档只能用于自身使用,不得用于其他商业用途(如 [转卖]进行直接盈利或[编辑后售卖]进行间接盈利)。
2、本站所有内容均由合作方或网友上传,本站不对文档的完整性、权威性及其观点立场正确性做任何保证或承诺!文档内容仅供研究参考,付费前请自行鉴别。
3、如文档内容存在违规,或者侵犯商业秘密、侵犯著作权等,请点击“违规举报”。

碎片内容

交通工程质量监督风险排查流程图

您可能关注的文档

确认删除?
VIP
微信客服
  • 扫码咨询
会员Q群
  • 会员专属群点击这里加入QQ群
客服邮箱
回到顶部