电脑桌面
添加小米粒文库到电脑桌面
安装后可以在桌面快捷访问

北京利达华信模块说明书

北京利达华信模块说明书_第1页
1/11
北京利达华信模块说明书_第2页
2/11
北京利达华信模块说明书_第3页
3/11
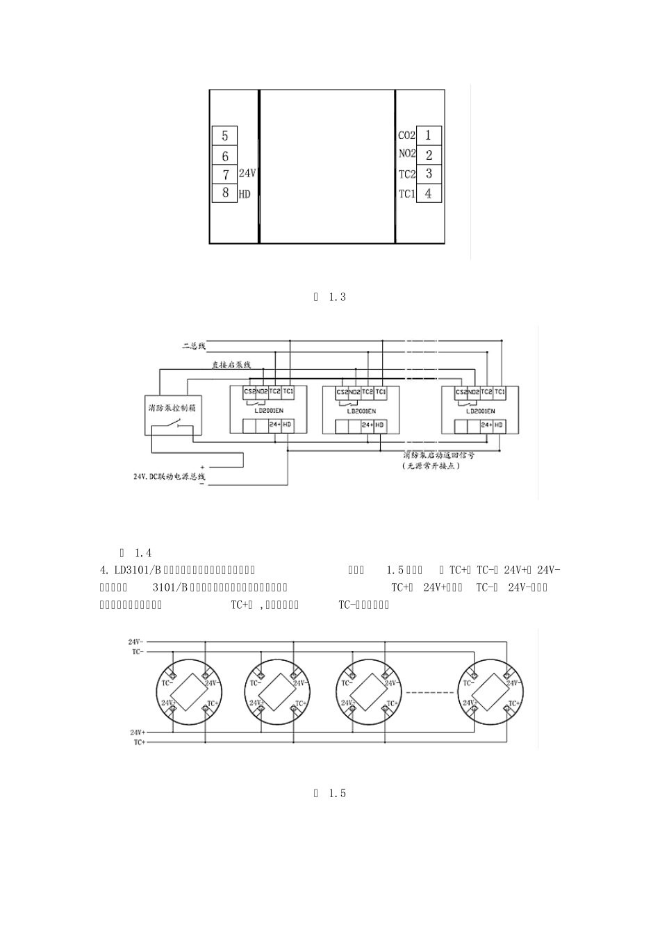
北京利达华信模块说明书 设备的技术支持:主要针对于模块、探头的编码。 EN 系列主机采用混合编址。但为了便于现场编写逻辑关系及后期维护保养建议采取以下顺序编址:感烟探测器→感温探测器→燃气探测器→手动报警按钮→消火栓按钮→输入模块→输入输出模块。 其次是探测器、模块等的接线方式。一般情况下施工方要了解接线方式,就要考虑到现场有没有预埋走线,是否需要重新布线。 一.现场经常用到的几种探头的技术支持 1. LD10EN 底座:用于LD3000EN/A、 LD3300EN 等探测器,采用二总线并联接线方式,TC+,TC-端子不分正负极。 1.1 2. LD2000E-A 手动火灾报警按钮内部接线图(如图1.2 所示): 3、 4 脚是二总线端子,TC2、TC1 无极性,1、 2 脚是一组无源常开接点,通过电压小于30V 通过电流100MA, 5 脚 6 脚是备用消防电话接口,配合电话手柄使用。如使用总线电话需要配合总线电话模块使用。 图 1.2 3. LD2001EN 消火栓按钮内部接线图(如图1.3 所示):3、 4 脚是二总线端子,TC2、 TC1无极性,1、 2 脚是一组无源常开接点,接直接启泵线(图1.4),通过电压小于30V 通过电流 100MA,7 脚是24V+, 8 脚是消防泵的反馈线。 图 1.3 图 1.4 4. LD3101/B 点型可燃气体探测器内部接线示意图(如图1.5 所示): TC+, TC-, 24V+, 24V-四个端子。3101/B 点型可燃气体探测器探头编码方式是将TC+与 24V+短接,TC-与 24V-短接,用编码器的红色夹子夹在TC+上 ,黑色夹子夹在TC-上进行编码。 图 1.5 5.LD4400EN-1/2 输入模块端子图与接线图示例(如图1.6、 1.7 所示):6 脚 5 脚是二总线TC+, TC-原则上不分正负极,11 脚 12 脚是一组无源长开点,8 脚 7 脚是一组无源长开点。端子现场设备上需要加15K 线路检测电阻。 图 1.6 图 1.7 6. LD6800EC-1 输入/输出模块内部接线图(如图1.8 所示):1 脚 24V+, 2 脚 24V-必须分极性,5、 6 脚 TC+、 TC-, 11、 12 脚现场反馈信号接入点,需要接82K 线路检测电阻。9、10 脚 24V 输出,接5.1K 线路检测电阻。 图 1.8 7. LD6800EC-2 输入/输出模块内部接线图(如图1.9 所示): 1 脚 24V+, 2 脚 24V-必须分极性,5、 6 脚接入TC+、 TC-, 11、 12 脚和3、 4 脚分别为两组现场反馈信号接入点,需要接82K 线路检测电阻。9、 10 脚和7、 8 脚为24V 输出,接5.1K线路检测电...

1、当您付费下载文档后,您只拥有了使用权限,并不意味着购买了版权,文档只能用于自身使用,不得用于其他商业用途(如 [转卖]进行直接盈利或[编辑后售卖]进行间接盈利)。
2、本站所有内容均由合作方或网友上传,本站不对文档的完整性、权威性及其观点立场正确性做任何保证或承诺!文档内容仅供研究参考,付费前请自行鉴别。
3、如文档内容存在违规,或者侵犯商业秘密、侵犯著作权等,请点击“违规举报”。

碎片内容

北京利达华信模块说明书

您可能关注的文档

确认删除?
VIP
微信客服
  • 扫码咨询
会员Q群
  • 会员专属群点击这里加入QQ群
客服邮箱
回到顶部