电脑桌面
添加小米粒文库到电脑桌面
安装后可以在桌面快捷访问

内部控制制度固定资产循环

内部控制制度固定资产循环_第1页
1/15
内部控制制度固定资产循环_第2页
2/15
内部控制制度固定资产循环_第3页
3/15
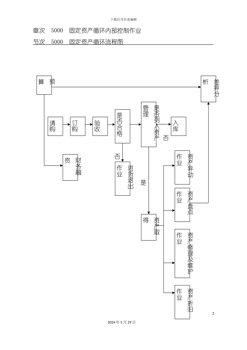
下载后可任意编辑内部控制制度固定资产循环12024 年 5 月 29 日下载后可任意编辑章次 5000 固定资产循环内部控制作业节次 5000 固定资产循环流程图 22024 年 5 月 29 日预 算差异分析财务融资请购订购验收入库是否列入资产管理是否合格进货退出作业否资产取得资产异动作业资产盘点作业资产修理及维护作业资产折旧作业否是下载后可任意编辑章次 5000 固定资产循环内部控制作业节次 5010 资产取得作业 作 业 项 目 作 业 程 序 ( 方 法 ) 及 控 制 重 点 依 据 资 料 一、请购 【作业程序】 【依据数据】 1、请购: 资产管理办法(1)生财器具等固定资产之请购,由需有单位 提出申请,经核准后送交请购单位开立「 【使用窗体】请购单」一式三联。 1、请购单 (2)「请购单」应连续编号使用,并按序号归档. 2、采购订单 2、询议价:3、进货验收单(1)调阅往来供货商资料,以查阅过去采购及 4、新进机台评询议价记录。估报告 (2)依请购案件之缓急,排定作业顺序向选定5、新进机台之供货商询价,必要时请厂商提供报价单,32024 年 5 月 29 日下载后可任意编辑首日运行记除因独家制造,独家代理,无替代品之配件录及公卖品等特别情况外,应向二家以上之 6、其它供货商询价。二、订购3、订购:(1)询议价后,管理人员应于「请购单」上详述询议价结果呈权责主管审核,并依采购核决权限呈核。(2)「请购单」经核决后,即开立「采购订单」或「零星采购订单」,经审核后向厂商订购,必要时应订立订购合约。 (3)「采购订单」开立后,采购单位应追踪厂商是否确实依交期送货。 (4)「采购订单」应连续编号依序归档。三、验收 4、验收: (1)厂商交货时,收货人员应就厂商送货单,发票与「采购订单」数据检验物品之品名,数量, 质量,确认无误后开立「进货验收单」。(2)若属工程分次验收,则试车及验收完成应由管理单位监控。(3)「进货验收单」一式四联应按连续编号使用并依序归档。42024 年 5 月 29 日下载后可任意编辑章次 5000 固定资产循环内部控制作业节次 5010 资产取得作业 作 业 项 目 作 业 程 序 ( 方 法 ) 及 控 制 重 点 依 据 资 料 四、建档及标识 4、取得资产之建档及标识:(1)资产管理部门应对取得价值在100 元以上 之资产进行统一编号,编号区别资产别及部门别。(2)资产管理部门依据「进货验收单」对编号之资产建立资产管理系统,以便掌握公司资产之现状。(3)使用单位应将资产管...

1、当您付费下载文档后,您只拥有了使用权限,并不意味着购买了版权,文档只能用于自身使用,不得用于其他商业用途(如 [转卖]进行直接盈利或[编辑后售卖]进行间接盈利)。
2、本站所有内容均由合作方或网友上传,本站不对文档的完整性、权威性及其观点立场正确性做任何保证或承诺!文档内容仅供研究参考,付费前请自行鉴别。
3、如文档内容存在违规,或者侵犯商业秘密、侵犯著作权等,请点击“违规举报”。

碎片内容

内部控制制度固定资产循环

您可能关注的文档

确认删除?
VIP
微信客服
  • 扫码咨询
会员Q群
  • 会员专属群点击这里加入QQ群
客服邮箱
回到顶部