电脑桌面
添加小米粒文库到电脑桌面
安装后可以在桌面快捷访问

化工机械设计VIP免费

化工机械设计_第1页
1/26
化工机械设计_第2页
2/26
化工机械设计_第3页
3/26
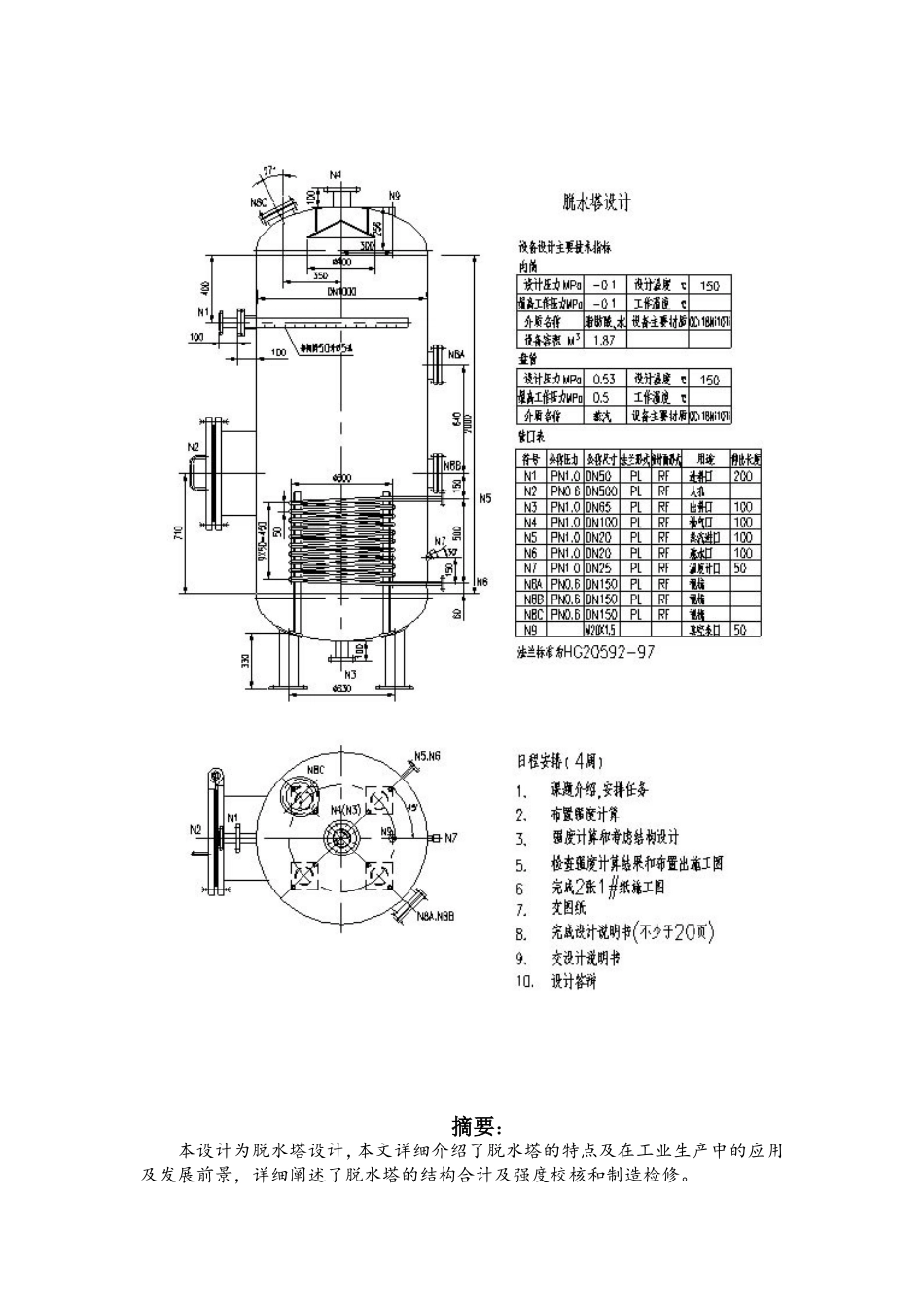
新疆工程学院《化工设备机械基础》课程设计说明书题目名称:脱水塔的设计系部:化学与环境工程系专业班级:石化10-5(3)班学生姓名:游延贺指导教师:薛风完成日期:2012-12-30新疆工程学院课程设计评定意见设计题目:脱水塔的设计学生姓名:游延贺评定意见:评定成绩:指导教师(签名):年月日摘要:本设计为脱水塔设计,本文详细介绍了脱水塔的特点及在工业生产中的应用及发展前景,详细阐述了脱水塔的结构合计及强度校核和制造检修。参照GB150-1998《钢制容器》设计手册,综合考虑各种因素,结构设计需要选择使用合理、经济的结构形式同时满足制造、检修、安装等要求;而强度设计包括选材,校核。确定主要结构尺寸、满足强度、刚度、和稳定性要求。根据设计压力确定壁厚,使脱水塔有足够的腐蚀裕量,从而使设计结果达到最优化。设计结果满足用户要求,安全性与经济性及环保要求。关键词:脱水塔、结构设计、强度设计目录1.绪论.....................................................................................................................11.1遵循标准..................................................................................................11.2结构选择与论证......................................................................................12.参数确定.............................................................................................................33.圆筒壁厚设计.....................................................................................................34.封头壁厚设计.....................................................................................................45.校核罐体与封头水压试验强度.........................................................................56.换热部分计算.....................................................................................................56.1热负荷计算..............................................................................................56.2热负荷校核..............................................................................................56.3盘管强度校核..........................................................................................57.鞍座.....................................................................................................................67.1罐体质量..................................................................................................67.2封头质量..................................................................................................67.3脂肪酸质量..............................................................................................67.4附件质量..................................................................................................78.人孔.....................................................................................................................78.1人孔选择..................................................................................................78.2人孔补强..................................................................................................79.接管.....................................................................................................................89.1进料管......................................................................................................89.2进料管补强..............................................................................................89.3脂肪酸的出料管.......................................................................

1、当您付费下载文档后,您只拥有了使用权限,并不意味着购买了版权,文档只能用于自身使用,不得用于其他商业用途(如 [转卖]进行直接盈利或[编辑后售卖]进行间接盈利)。
2、本站所有内容均由合作方或网友上传,本站不对文档的完整性、权威性及其观点立场正确性做任何保证或承诺!文档内容仅供研究参考,付费前请自行鉴别。
3、如文档内容存在违规,或者侵犯商业秘密、侵犯著作权等,请点击“违规举报”。

碎片内容

化工机械设计

确认删除?
VIP
微信客服
  • 扫码咨询
会员Q群
  • 会员专属群点击这里加入QQ群
客服邮箱
回到顶部