电脑桌面
添加小米粒文库到电脑桌面
安装后可以在桌面快捷访问

内浇外挂式外墙PC板施工工法VIP免费

内浇外挂式外墙PC板施工工法_第1页
1/27
内浇外挂式外墙PC板施工工法_第2页
2/27
内浇外挂式外墙PC板施工工法_第3页
3/27
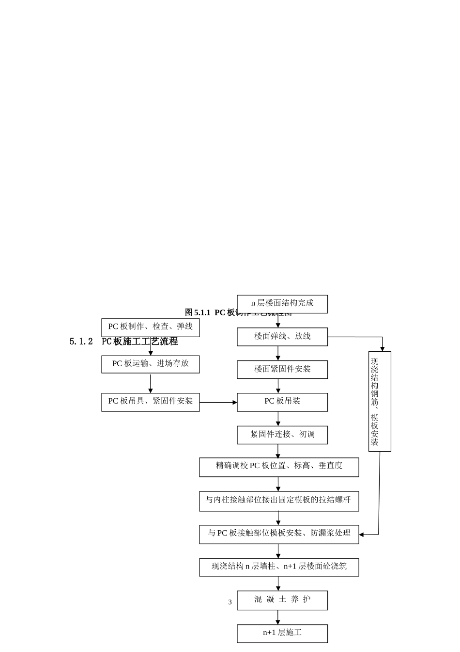
内浇外挂式外墙PC板施工工法第一完成单位:第二完成单位:主要完成人:1前言住宅产业化是房地产行业发展的必然趋势,可有效解决建筑行业劳动力不足提高工程效率缩短工期,提高建筑物的质量和性能等诸多难题,目前国内已有万科等房地产领军企业已在实施工业化住宅项目的开发。二○○九年,万科东莞住宅产业化基地6号实验楼委托深圳市鹏城建筑集团有限公司施工。该工程为万科住宅产业化基地第一个采用内浇外挂的工业化住宅项目,为此深圳市鹏城建筑集团有限公司联合深圳市建设(集团)有限公司共同组成研究小组,重点研究装配式外墙PC板的施工技术,解决了外墙PC板与内浇结构的连接紧固,并保证外墙PC板安装的位置、标高、垂直度等诸多难题,顺利完成了6号楼的施工,初步形成了企业内浇外挂式外墙PC板施工工法,并在后续的万科双城水岸·如日苑工程和龙华二线扩展区0008地块保障性住房工程项目得到了成功应用,进一步完善形成了此内浇外挂式外墙PC板施工工法。2工法特点2.0.1外墙PC板统一在工厂加工制作,质量可靠。外墙的窗框、涂料或瓷砖均在构件厂与外墙同步完成,很大程度上解决了窗框漏水和墙面渗水的质量通病。2.0.2制作精度高。外墙PC板的制作要求构件截面尺寸误差控制在0~-3mm以内,钢筋位置偏差在±5mm以内,螺栓套筒位置偏差在±2mm以内,外墙PC板安装垂直度偏差控制在±3mm以内,相邻两块板的高低差不大于2mm。2.0.3标准化施工。外墙PC板形式统一,生产过程标准化,现场安装工艺也标准化,大大提高了施工效率。2.0.4外墙PC板安装的位置、标高、垂直度调校以及与内浇结构的连接紧固均通过调节紧固件完成,施工简便快捷,质量易控制。2.0.5节能环保,节约工期。外墙采用预制混凝土外墙,取消了砌体抹灰工作,同时涂料、瓷砖、窗框等外立面工作已经在加工厂完成,标准化、统一化的加工减少了材料的浪费,节能环保效果突出,且施工快,并大大减少了外墙施工工期。3适用范围1本施工工法适用于工业化住宅内浇外挂式外墙PC板的施工。4工艺原理内浇外挂体系是外墙、楼梯、阳台采用预制构件,内柱、梁板采用现浇的结构体系。外墙PC板统一在工厂标准化生产,外墙的窗框、涂料或瓷砖均在构件厂与外墙同步完成。外墙PC板的加工计划、运输计划和每辆构件运输车的装车顺序紧密的与现场施工计划相结合,确保每块外墙PC板严格按计划时间进场、检查、验收,全面保证外墙PC板构件的质量和施工的连续性。利用计算机进行绘制PC板构件图并模拟安装,详细标注各外墙PC板螺栓套筒的位置,做到制作与安装的协调统一。现场采用塔吊进行吊装(根据构件重量选择塔吊型号),安装时外墙PC板与内浇结构的连接紧固以及外墙板位置、标高、垂直度的调校均通过调节紧固件完成。每块外墙PC板底部两边各设一组标高调节紧固件(A紧固件)和一组位置调节紧固件(B紧固件),根据控制线和标高线对调节件螺栓进行旋进与旋出便可调校PC板的内外位置和标高。调节PC板中部设一组垂直度调节紧固件(由C紧固件和斜撑杆件组成),利用斜撑杆调节垂直度。每层外墙PC板安装好后再支模施工与外墙PC板相接触的边梁、柱结构,PC板作为边梁的外模,通过在外墙PC板制作时预埋的内置式套筒,用于模板的对拉螺栓,解决与外墙PC板相接部位现浇内柱单侧支模的难题。5施工工艺流程及操作要点5.1工艺流程5.1.1PC板制作工艺流程2钢筋骨架入模设计细化、拆分PC板构件绘制PC板构件图、设计吊装埋件模具设计、材料选定钢筋放样模具、窗框加工模具、窗框安装模具验收钢筋采购、检测钢筋、预埋件加工预埋件等安装、固定混凝土浇筑隐蔽验收拆模、板尺寸验收构件养护构件标识钢筋骨架制作图5.1.1PC板制作工艺流程图5.1.2PC板施工工艺流程3PC板吊具、紧固件安装PC板吊装紧固件连接、初调精确调校PC板位置、标高、垂直度与内柱接触部位接出固定模板的拉结螺杆与PC板接触部位模板安装、防漏浆处理混凝土养护n+1层施工现浇结构n层墙柱、n+1层楼面砼浇筑楼面弹线、放线n层楼面结构完成现浇结构钢筋、模板安装楼面紧固件安装PC板运输、进场存放PC板制作、检查、弹线图5.1.2PC板施工工艺流程图5.2操作要点5.2.1PC板制作要点1PC板尺寸根据结构特点及便于...

1、当您付费下载文档后,您只拥有了使用权限,并不意味着购买了版权,文档只能用于自身使用,不得用于其他商业用途(如 [转卖]进行直接盈利或[编辑后售卖]进行间接盈利)。
2、本站所有内容均由合作方或网友上传,本站不对文档的完整性、权威性及其观点立场正确性做任何保证或承诺!文档内容仅供研究参考,付费前请自行鉴别。
3、如文档内容存在违规,或者侵犯商业秘密、侵犯著作权等,请点击“违规举报”。

碎片内容

内浇外挂式外墙PC板施工工法

确认删除?
VIP
微信客服
  • 扫码咨询
会员Q群
  • 会员专属群点击这里加入QQ群
客服邮箱
回到顶部