电脑桌面
添加小米粒文库到电脑桌面
安装后可以在桌面快捷访问

营销管理A纵表格格式

营销管理A纵表格格式_第1页
1/8
营销管理A纵表格格式_第2页
2/8
营销管理A纵表格格式_第3页
3/8
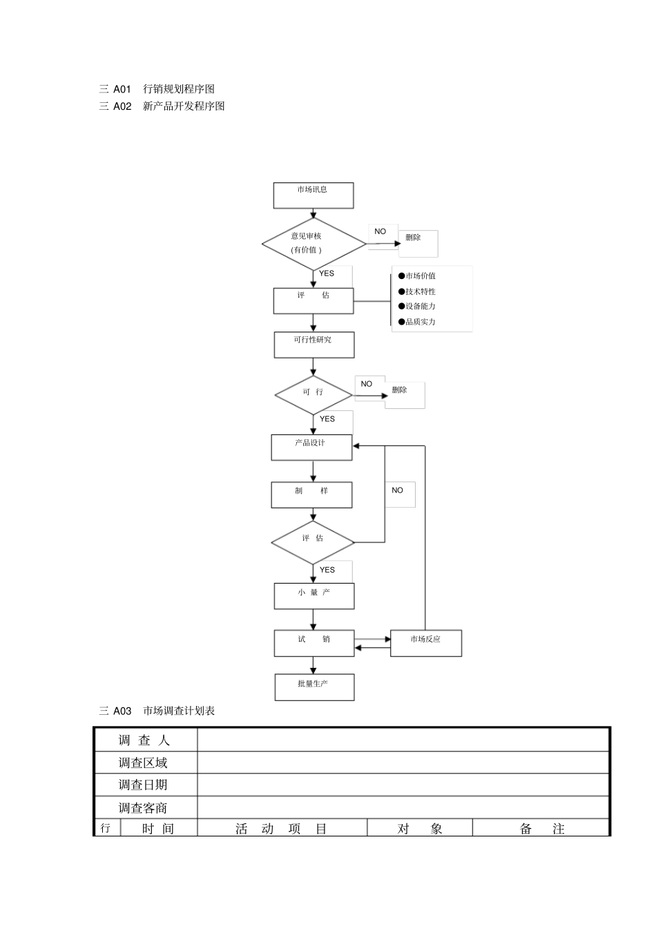
三 A01 行销规划程序图三 A02 新产品开发程序图三 A03 市场调查计划表调 查 人调查区域调查日期调查客商行时 间活动项目对象备注NOYESYES删除●市场价值●技术特性●设备能力●品质实力YESNO市场讯息意见审核(有价值 )评估可行性研究可 行产品设计制样评估小 量 产试销批量生产删除NO市场反应程表准备事项经费预估批示批准:审核:拟文:三 A04 竞争厂商调查表厂商名产品主要型号主要销售商销售份额销售政策促销状况品质状况优缺点分析本公司因应对策主管:审核:调查人:三 A05 竞争产品市场价格调查表调查日期:年月日品名规格型号厂家市 场 价折 扣 率 % 主管:审查:制表:三 AO7 试销状况调查表 No. 试销日期:自年月日至年月日日期:产品名称客户名称试销实绩说明日期销 售 量金额平均售价备注合计发现之问题点客户建议备注主管:制表:三 AO8 销售点客层分析表(月度)月份:日期:日期合计一般男主人主妇上班族男女小孩男女学生男女小计前次调查合计熟顾客路 过 客 人单独亲子夫妇朋友备注主管:制表:说明: 1.将产品作客层统计分析; 2.用划记法; 3.可做为销售策略依据。三 A09 销售点购买率调查报告表年月日品名时间合计购买率% 购 买不 买购 买不 买购 买不 买购 买不 买上午 07 时上午 08 时上午 09 时上午 10 时上午 11 时中午 12 时下午 01 时下午 02 时下午 03 时下午 04 时下午 05 时下午 06 时下午 07 时下午 08 时下午 09 时下午 10 时合计购买率 % 备注主管:填表:三 A10 滞销商品调查分析表 No. 日期:销售期间自年月日至年月日品名销 售 目 标销 售 实 绩达成率 % 项目问题点原因对策01.品质02.规格03.价格04.包装05.商店中的推荐度06.广告07.铺货率08.抱怨处理09.促销活动10.其他品牌竞争11.市场需求度12.本公司销售关心度主管:填表:三 A11 市场总需求量调查表调查单位:年月日摘要品名区分业绩备注年年年年年统计资料销售量指标销售量指标销售量指标销售量指标销售量指标销售量指标景气之动向竞争关系之动向本公司销售政策重点三 A12 巡回调查报表 No. 日期:客户名称地 址电话巡回调查日期年月日时 间午时分产品别销售状况客户对本公司产品及别种产品的比较同业销售政策动向及市场情况对本公司产品之希望及意见推销活动及其他活动情况备注部门主管:制表:三 A13 新产品开发评价表产品名型号特点说明工艺分析成本预测预定售价销售分析市场定位总结年月日

1、当您付费下载文档后,您只拥有了使用权限,并不意味着购买了版权,文档只能用于自身使用,不得用于其他商业用途(如 [转卖]进行直接盈利或[编辑后售卖]进行间接盈利)。
2、本站所有内容均由合作方或网友上传,本站不对文档的完整性、权威性及其观点立场正确性做任何保证或承诺!文档内容仅供研究参考,付费前请自行鉴别。
3、如文档内容存在违规,或者侵犯商业秘密、侵犯著作权等,请点击“违规举报”。

碎片内容

营销管理A纵表格格式

文库响当当+ 关注
实名认证
内容提供者

该用户很懒,什么也没介绍

相关文档

确认删除?
VIP
微信客服
  • 扫码咨询
会员Q群
  • 会员专属群点击这里加入QQ群
客服邮箱
回到顶部