电脑桌面
添加小米粒文库到电脑桌面
安装后可以在桌面快捷访问

施工临时用电安全监理细则

施工临时用电安全监理细则_第1页
1/9
施工临时用电安全监理细则_第2页
2/9
施工临时用电安全监理细则_第3页
3/9
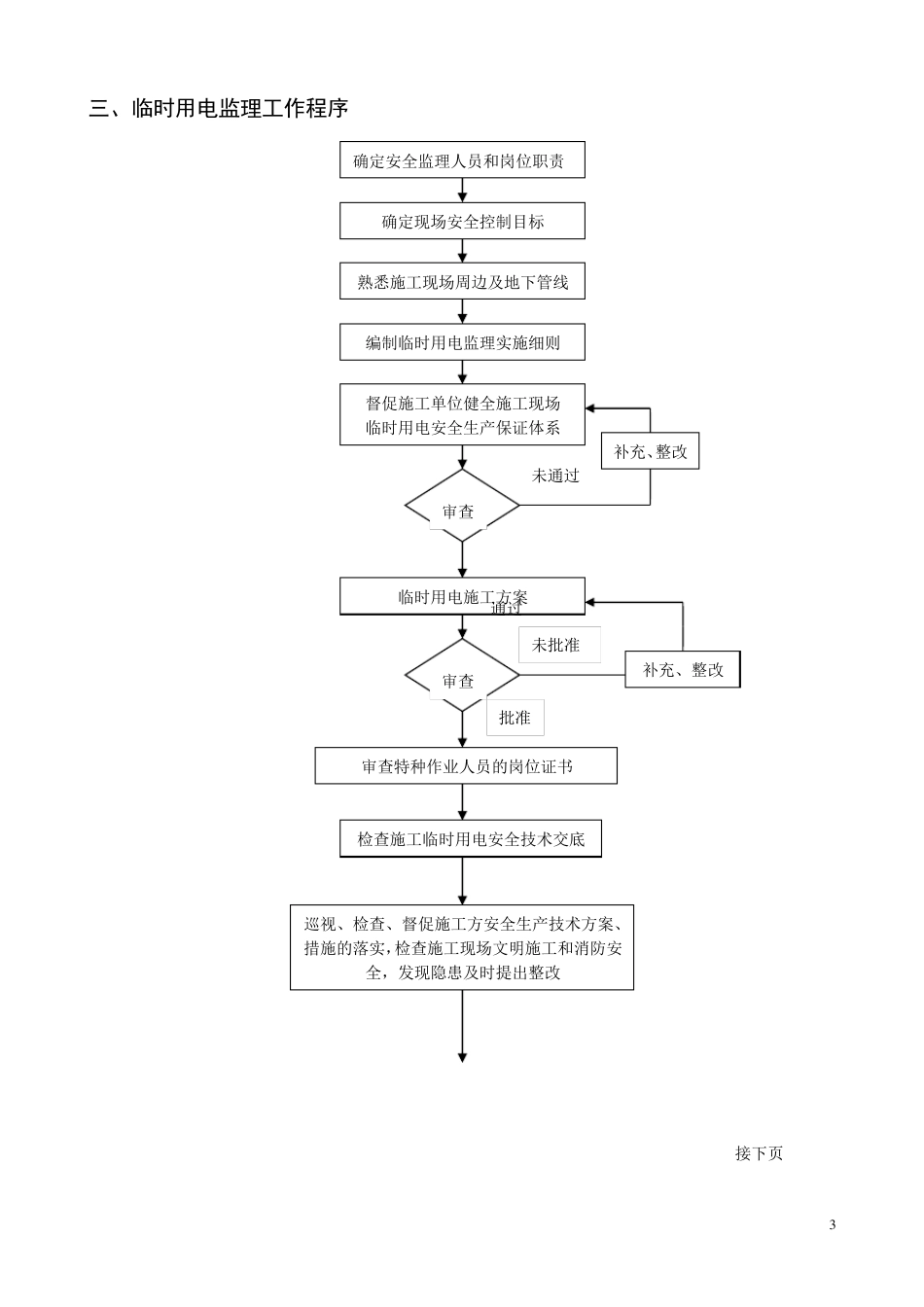
1 上海 大厦工程 施 工 临 时 用 电 安 全 监 理 细 则 编制单位: 编制人: 审核人: 编制日期: 二0 一二年 2 施工临时用电安全监理细则 一、工程概况 工程名称: 建设单位: 设计单位: 监理单位: 施工总承包单位: 上海 大厦工程位于 ,单体建筑地下1 层、地上12 层,建筑高度46 米,主体结构为框架结构,建筑面积地下 ㎡,地上 ㎡,总建筑面积 ㎡。本工程耐火等级为一级,结构设计安全等级二级,框架抗震等级二级,结构设计使用年限50 年。 本项目±0.000 相当于绝对标高为5.300 米,室内外高差为150MM。 二、临时用电监理工作依据 国家、政府有关文件 施工安全标准强制性条文: 《施工现场临时用电安全技术规范》 JGJ46-2005 《建筑机械使用安全技术规范》 JGJ33-2001 《建筑施工安全检查标准》 JGJ59-99 《施工现场安全生产保证体系》 DGJ08-903-2003 施工临时用电方案组织设计 3 三、临时用电监理工作程序 确定安全监理人员和岗位职责 确定现场安全控制目标 熟悉施工现场周边及地下管线 编制临时用电监理实施细则 督促施工单位健全施工现场 临时用电安全生产保证体系 审查 补充、整改 未通过 通过 临时用电施工方案 审查 补充、整改 未批准 批准 审查特种作业人员的岗位证书 检查施工临时用电安全技术交底 巡视、检查、督促施工方安全生产技术方案、措施的落实,检查施工现场文明施工和消防安全,发现隐患及时提出整改 接下页 4 四、临时用电监理要点 4 .1 . 督促施工单位严格执行《施工现场临时用电安全技术规范》,编制《临时用电施工组织设计》。 4 .2 . 审查施工单位的《临时用电施工组织设计》的编制情况,要求用电工程图纸要单独编制,按临时用电工程图纸进行施工现场布置,后期体育馆等开工时用电组织设计应及时补充有关图纸资料。施工现场临时用电组织设计审查应包括下列内容:现场勘测;确定电源进线,变电所或配电室、配电装置、用电设备位置及线路走向;进行负荷计算;选择变压器;设计配电系统设计配电线路选择导线或电缆,设计配电装置选择电器,设计接地装置,绘制临时用电工程图纸,主要包括用电工程总平面图、配电装置布置图、配电系统接线图、接地装置设计图;设计防雷装置;确定防护措施;制定安全用电措施和电气防火措施。 4 .3 . 在安装、巡检、维修或拆除临时用电设备和线路时,必须由专职电工完成(电工必须持职业考核主管...

1、当您付费下载文档后,您只拥有了使用权限,并不意味着购买了版权,文档只能用于自身使用,不得用于其他商业用途(如 [转卖]进行直接盈利或[编辑后售卖]进行间接盈利)。
2、本站所有内容均由合作方或网友上传,本站不对文档的完整性、权威性及其观点立场正确性做任何保证或承诺!文档内容仅供研究参考,付费前请自行鉴别。
3、如文档内容存在违规,或者侵犯商业秘密、侵犯著作权等,请点击“违规举报”。

碎片内容

施工临时用电安全监理细则

您可能关注的文档

确认删除?
VIP
微信客服
  • 扫码咨询
会员Q群
  • 会员专属群点击这里加入QQ群
客服邮箱
回到顶部