电脑桌面
添加小米粒文库到电脑桌面
安装后可以在桌面快捷访问

隐蔽工程质量验收制度

隐蔽工程质量验收制度_第1页
1/5
隐蔽工程质量验收制度_第2页
2/5
隐蔽工程质量验收制度_第3页
3/5
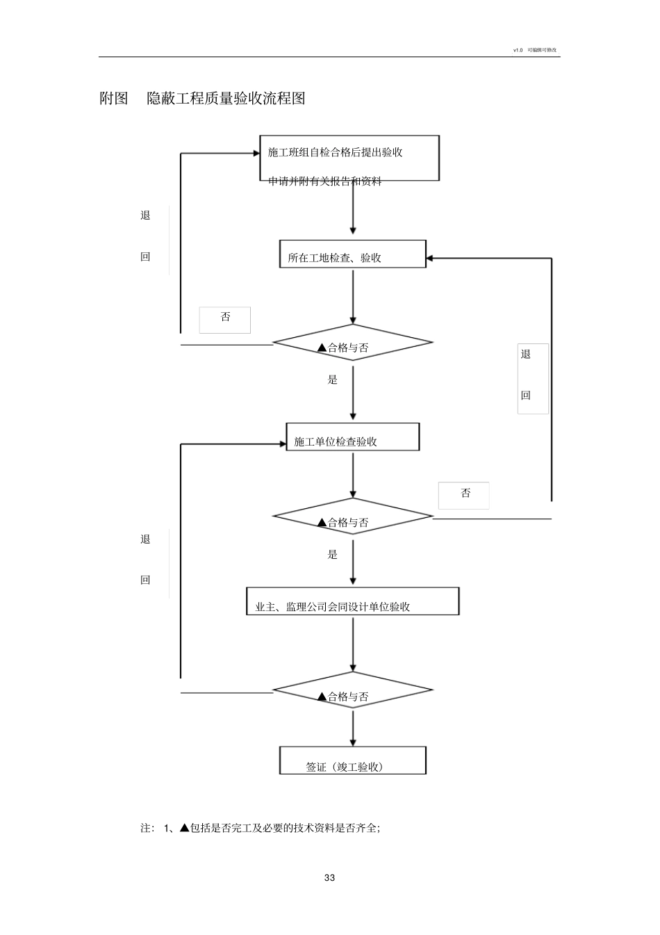
v1.0 可编辑可修改11隐蔽工程质量验收制度1、为了规范隐蔽工程质量验收管理,做到内部层层把关,把质量问题消除在封闭之前,使工程项目整体质量得到保证,制定本制度。本制度适用于所有隐蔽工程项目的质量验收。2、隐蔽工程是指那些在上一道工序结束,被下一道工序所掩盖的,正常情况下无法进行复查的项目。例如:地下防水、防腐工程,以及设备封闭前的内部质量验收等。隐蔽工程验收项目安装工程参见各专业验评标准。3、隐蔽工程验收时,施工单位应提前12 小时通知业主、监理公司和设计代表,并提供以下有关资料:安装项目作业指导书 ( 或技术措施 ) 。隐蔽项目施工程序。与隐蔽工作有关的设备消缺、设计变更、不合格项处理及标准变更的签证记录。隐蔽部件材质检验报告、复查记录。隐蔽项目施工自检原始记录,专业工程处复查记录。隐蔽工作报告(含施工作业质量与标准的差异,遗留问题的处理意见)。4 隐蔽工程验收隐蔽工程项目完工,并具备验收的基本条件。现场实地抽查施工记录时,施工单位应认真配合。工程验收合格并签证后方可隐蔽和进行下道工序作业。隐蔽项目一经签证,不得自行变动部件尺寸、位置。v1.0 可编辑可修改22遇有隐蔽工作项目未全部完成,主要技术记录不完整或失真时,隐蔽验收工作暂缓。5、隐蔽工程验收表格采用统一表格以及有关制造厂提供的出厂验收记录表。6、隐蔽验收工作出现下列情况的处理原则:业主和监理公司事前确已收到通知,但未按规定时间内派员到场验收,施工单位可自行隐蔽,但必须作好记录。施工单位未通知检查验收,或经检查验收发现问题不按要求消缺处理的,不能进行隐蔽、 进行下道工序作业, 否则业主和监理公司有权通知施工单位停工。7、隐蔽工程质量验收记录一式四份,分别由施工单位、设计单位、业主和监理公司分头管理、备查。8、考核未提前 12 小时通知监理、业主,考核100元。未提供—资料,没缺一项考核100 元。隐蔽工程未验收签字,施工单位就进行下道工序,考核100— 2000元,并责令停工整改。发生情况考核 100— 500 元。监理、业主接到通知未到现场,考核100— 500 元。附图隐蔽工程质量验收流程图v1.0 可编辑可修改33附图隐蔽工程质量验收流程图是是注: 1、▲包括是否完工及必要的技术资料是否齐全;施工班组自检合格后提出验收申请并附有关报告和资料所在工地检查、验收▲合格与否施工单位检查验收▲合格与否业主、监理公司会同设计单位验收▲合格与否签证(竣工验收)退...

1、当您付费下载文档后,您只拥有了使用权限,并不意味着购买了版权,文档只能用于自身使用,不得用于其他商业用途(如 [转卖]进行直接盈利或[编辑后售卖]进行间接盈利)。
2、本站所有内容均由合作方或网友上传,本站不对文档的完整性、权威性及其观点立场正确性做任何保证或承诺!文档内容仅供研究参考,付费前请自行鉴别。
3、如文档内容存在违规,或者侵犯商业秘密、侵犯著作权等,请点击“违规举报”。

碎片内容

隐蔽工程质量验收制度

您可能关注的文档

确认删除?
VIP
微信客服
  • 扫码咨询
会员Q群
  • 会员专属群点击这里加入QQ群
客服邮箱
回到顶部