电脑桌面
添加小米粒文库到电脑桌面
安装后可以在桌面快捷访问

各级围岩爆破的施工方法VIP免费

各级围岩爆破的施工方法_第1页
1/28
各级围岩爆破的施工方法_第2页
2/28
各级围岩爆破的施工方法_第3页
3/28
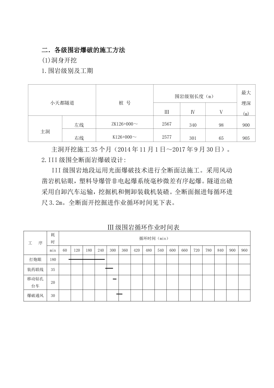
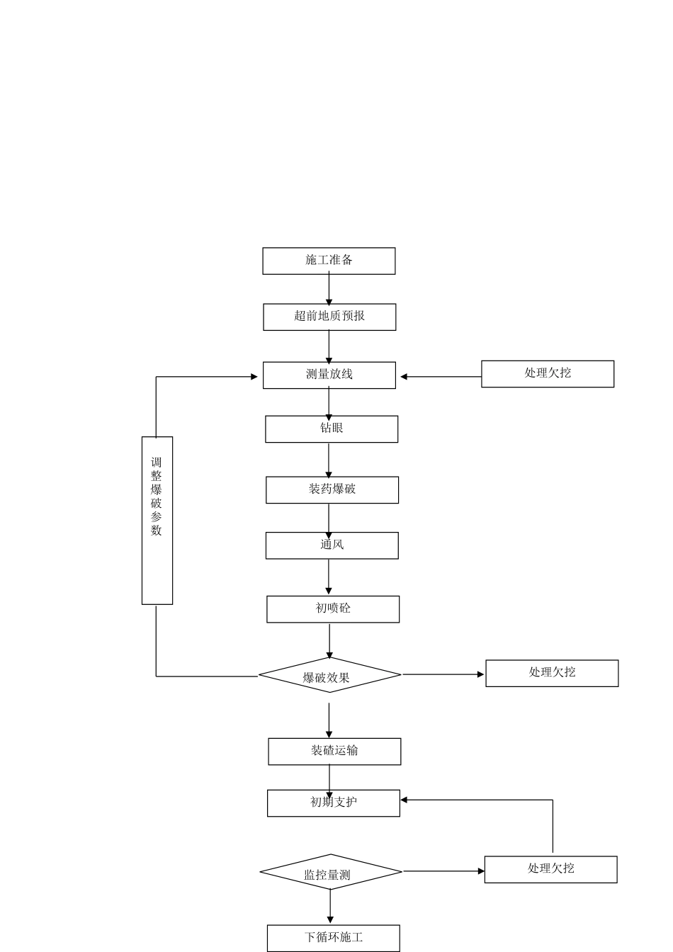
一.隧道爆破技术要求⑴根据围岩特点,合理选定周边眼的间距E、最小抵抗线W和炮眼深度L,辅助炮眼交错均匀布置在内圈眼与掏槽眼之间,周边炮眼、内圈眼与辅助炮眼眼底在同一垂直面上,掏槽炮眼加深10cm。⑵严格控制周边眼的装药量,尽可能将药量沿眼长均匀分布,同步起爆。⑶周边眼使用小直径药卷、低猛度和低爆速的乳化炸药。为了满足瓦斯隧道安全施工要求,有瓦斯突出地段安全等级不低于三级的煤矿许用的含水炸药,必须采用煤矿许用电雷管连续正向装药,严禁反向装药,雷管以外不装药。严禁使用秒及毫秒级电雷管,使用煤矿许用毫秒延期电雷管时,最后一段延期时间不得大于130毫秒。⑷爆破参数计算公式:Q=qV,Q:一个爆破循环的总用药量,kg;q:爆破每立方米岩石所需炸药的消耗量,主要取决于围岩级别、临空面数目、断面大小。施工中Ⅲ级围岩全断面开挖q=1;Ⅳ级围岩上导坑开挖q=1,下导坑q=0.7;Ⅴ级围岩开挖q=0.6。V:一个循环进尺所爆落的岩石体积(紧方),m3,V=S×LL:设计进尺=炮眼深度×炮眼利用率(取0.9)S:开挖断面面积m2⑸采用毫秒差有序起爆,使光面爆破具有良好的临空面。⑹爆破网络采用串联,接头拧紧,明线部分包裹绝缘层;常规采用串并联结合复式网络。⑺采用绝缘母线单回路爆破,母线与洞内电缆线、电线和信号线分别在隧道两侧。⑻在岩石中,炮眼深度不足0.9米时,装药长度不得大于炮眼深度的1/2,炮眼深度为0.9米以上,装药长度不得大于炮眼深度2/3,煤层中,装药长度小于炮眼深度1/2。所有炮眼剩余部分用水泡泥和黏土泡泥,水泡泥外剩余泡眼部分应用黏土泡泥封满填实,严禁使用煤粉、块状材料或其它可燃材料做炮泥。⑼瓦斯隧道采用不低于二级煤矿许用炸药和电毫秒雷管。以下爆破设计均采用2#岩石乳化炸药进行计算。二.各级围岩爆破的施工方法(1)洞身开挖1.围岩级别及工期主洞开挖施工35个月(2014年11月1日~2017年9月30日)。2.III级围全断面岩爆破设计:III级围岩地段运用光面爆破技术进行全断面法施工。采用风动凿岩机钻眼,塑料导爆管非电起爆系统毫秒微差有序起爆。隧道出碴采用自卸汽车运输,挖掘机和侧卸装载机装碴。全断面掘进每循环进尺3.2m。全断面开挖掘进作业循环时间见下表。Ⅲ级围岩循环作业时间表工序耗时循环时间(min)min60120180240300360420480540600660720780840900960打炮眼180装药联线35移动钻孔台车20爆破通风30小天都隧道桩号围岩级别长度(m)最大埋深(m)ⅢⅣⅤ主洞左线ZK126+000~ZK129+005(7457)256734098900右线K126+000~K128+943(7400)257730165905超前地质预报施工准备测量放线钻眼装药爆破初喷砼通风装碴运输爆破效果初期支护下循环施工监控量测处理欠挖处理欠挖处理欠挖调整爆破参数全断面法施工工序流程图Ⅲ级围岩采用全断面开挖,风动凿岩机钻孔,光面爆破。施工中应严格掌握周边眼的方向,减小超欠挖。钻爆本着尽量减少残眼率,提高单位用药量,周边采用光爆,Ⅲ级围岩采用大面积锥形掏槽,在实施中根据实际情况再行调整爆破参数。●炮眼数量N的确定,根据开挖断面积、岩石强度、炮眼直径、循环进尺、炸药品种,炮眼装填系数等因素确定,计算公式为:N=qs/γτ式中:N—炮眼数量,不包括未装药的空眼数q—单位体积岩石炸药消耗量,一般取q=0.7kg/m3S—开挖断面积τ—装药系数取0.4~0.5之间γ—每米药卷的炸药重量(kg/m)φ32炸药为0.78kg/m。●掏槽眼设计:III级采用大面积深孔锥形掏槽,设计循环进尺Ⅲ级3.2m,具体尺寸见图。●周边眼参数设计周边眼钻眼直径d=42mm,眼深Ⅲ级4m;(1)、周边眼间距E,为取得良好的光爆效果,取E=45~50cm;⑵、光爆层厚度W:所谓光爆层就是周边眼与最外层辅助眼之间的一圈岩石层。其厚度就是周边眼的最小抵抗线W。其大小对光面爆破效果有较大影响。取W=65~75cm;⑶、周边眼线装药密度q=0.18~0.25kg/m⑷、不耦合系数:r=D/d=42/25=1.68⑸、装药结构①周边眼采用间隔装药(两侧底眼除外,每侧一个),φ32药卷(后期采用φ25药卷),眼底装2/3药卷,炮眼口预留30cm作为炮泥封堵区,其他3.5m区段采用7节1/3药卷,间距50cm均匀布置。②周边眼的底眼(每侧一个)、其它炮眼均按连...

1、当您付费下载文档后,您只拥有了使用权限,并不意味着购买了版权,文档只能用于自身使用,不得用于其他商业用途(如 [转卖]进行直接盈利或[编辑后售卖]进行间接盈利)。
2、本站所有内容均由合作方或网友上传,本站不对文档的完整性、权威性及其观点立场正确性做任何保证或承诺!文档内容仅供研究参考,付费前请自行鉴别。
3、如文档内容存在违规,或者侵犯商业秘密、侵犯著作权等,请点击“违规举报”。

碎片内容

各级围岩爆破的施工方法

您可能关注的文档

确认删除?
VIP
微信客服
  • 扫码咨询
会员Q群
  • 会员专属群点击这里加入QQ群
客服邮箱
回到顶部