电脑桌面
添加小米粒文库到电脑桌面
安装后可以在桌面快捷访问

物流信息流程图

物流信息流程图_第1页
1/6
物流信息流程图_第2页
2/6
物流信息流程图_第3页
3/6
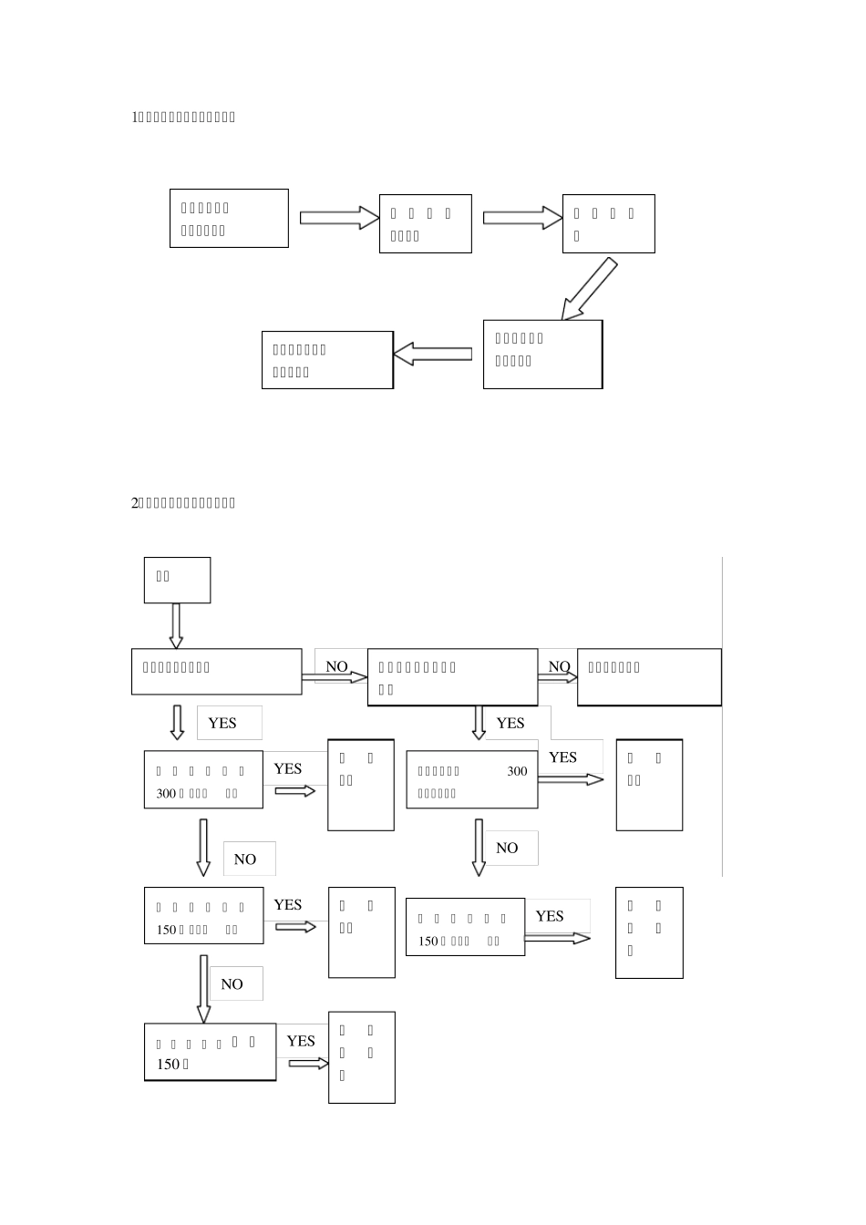
1、银行业务系统的业务流程图 2、移动优惠卡逻辑关系判断树 接收存、取款单和用户存折 查 询 存 款文件核对 存 取 款 处理 修改存款文件和用户存折 按照查询条件查询存款情况 NO NO Y ES Y ES Y ES Y ES Y ES Y ES Y ES NO NO 用户 从未发生过话费拖欠 能在规定时间内补清欠款 不能获得优惠卡 每 月 通 话 费 在300 元 (含)以上 获得金卡 每月通话费在300元(含)以上 获得银卡 每 月 通 话 费 在150 元 (含)以上 获得银卡 每 月 通 话 费 在150 元 (含)以上 获得普通卡 每 月 通 话 费 低 于150 元 获得普通卡 NO 3 、物资订货业务流程图 4 .某仓库管理系统按以下步骤进行信息处理,试画出其数据流程图 入库 处理 出库 处理 查询程序 统计 打印 程序 程序 发出取货通知 未订货 已定货 收到缺货通知 查阅订货合同 发出催货通知 填写订货单 采购员 供货单位 发货 入库单 出库单 入库流水账 出库流水账 库存账台 库存日报表 显示查询 结果 5.试绘制确定收费标准的判断表 快 件 慢 件 <=25 公斤 快 件 慢 件 >25 公斤 快 件 慢 件 收件地点 外省 6 元/公斤 4 元/公斤 本省 8 元/公斤 6 元/公斤 10 元/公斤 8 元/公斤 6.请画业务流程图 Y N (已批准) Y N (有货) 7.请画数据流程图 设备科 财务处 车间填写领料单 库长审批领料单 仓库保管员查阅库存账 退回车间 通知车间领料 通知采购人员 缺货 由需购置设备的部门填写申购表格,并送交设备科 设备科填写预算表格 收到资金,购买设备 财务处核对预算表格,并给予资金 购得设备送需购设备的部门,将收据送财务处 8.销售处理的子系统数据流程图 N Y N Y 9.采购处理的子系统数据流程图 N Y 接受顾客的订货单 是否有库存 订货单退还给顾客 进行校验,是否符合要求 订货单留底 给顾客开发货票(通知顾客到财务科交货款) 并修改因顾客购买而改变的库存数据 根据缺货单向有关供货商发出订购单 向采购科发出缺货单 核对供货商发来供货单 向财务科发送付款通知单、向销售科发送到货通知单 将供货单退还给供货厂商 1 0 .财务处理的子系统数据流程图 给顾客开出收据及发票,并向销售人员发送发货单 接到顾客的货款 接到采购科发来的付款通知单 建立付款明细帐,同时向供货商发送购货款支票 修改商店的财务总帐 修改商店的财务总帐 定期编制各种报表并向经理汇报 财务科

1、当您付费下载文档后,您只拥有了使用权限,并不意味着购买了版权,文档只能用于自身使用,不得用于其他商业用途(如 [转卖]进行直接盈利或[编辑后售卖]进行间接盈利)。
2、本站所有内容均由合作方或网友上传,本站不对文档的完整性、权威性及其观点立场正确性做任何保证或承诺!文档内容仅供研究参考,付费前请自行鉴别。
3、如文档内容存在违规,或者侵犯商业秘密、侵犯著作权等,请点击“违规举报”。

碎片内容

物流信息流程图

小辰3+ 关注
实名认证
内容提供者

出售各种资料和文档

确认删除?
VIP
微信客服
  • 扫码咨询
会员Q群
  • 会员专属群点击这里加入QQ群
客服邮箱
回到顶部