电脑桌面
添加小米粒文库到电脑桌面
安装后可以在桌面快捷访问

十字形型钢柱安装施工工艺

十字形型钢柱安装施工工艺_第1页
1/9
十字形型钢柱安装施工工艺_第2页
2/9
十字形型钢柱安装施工工艺_第3页
3/9
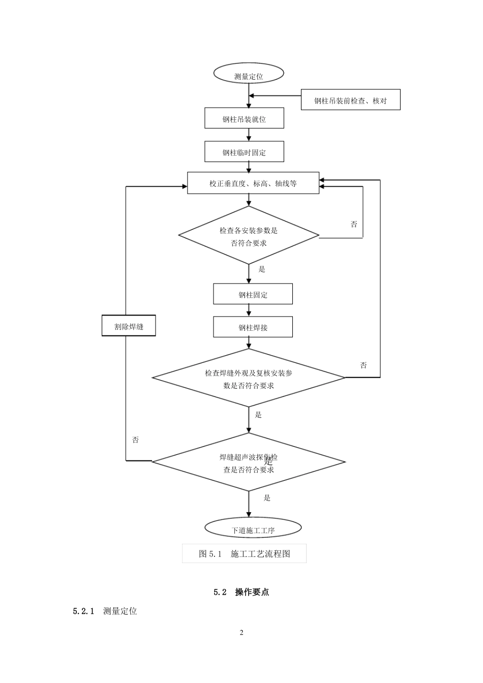
十字形型钢柱安装施工工艺1前言十字形型钢混凝土柱是型钢混凝土(SRC)结构中常用的一种形式,由于该种结构形式具有承载能力高、刚度大及抗震性能好等优点,已越来越多地应用于大跨度结构和地震区的高层建筑以及超高层建筑。2特点2.0.1可准确控制型钢柱安装的轴线及垂直度。2.0.2安装施工简便,施工安全、快速,对施工环境要求低。3适用范围本工艺适用于非地震区和抗震设防烈度为6度至9度的多、高层建筑和一般构筑物的十字形型钢柱安装施工。4工艺原理利用杠杆原理,通过钢楔及螺杆式顶拉精调器对型钢柱安装的轴线及垂直度进行调整,使型钢柱安装达到设计及施工验收规范要求。5施工工艺流程及操作要点5.1施工工艺流程型钢柱安装施工工艺流程如图 5.1 所示。1校正垂直度、标高、轴线等钢柱临时固定钢柱吊装就位测量定位钢柱吊装前检查、核对5.2操作要点5.2.1测量定位2下道施工工序是否焊缝超声波探伤检查是否符合要求是否检查焊缝外观及复核安装参数是否符合要求割除焊缝钢柱焊接是检查各安装参数是否符合要求否钢柱固定是图 5.1施工工艺流程图型钢柱安装前,安装现场应测设并标识出所安装的每个型钢柱的十字轴线,做为型钢柱安装定位及控制安装参数的依据。5.2.2钢柱吊装前检查、核对成品型钢柱进场后,技术人员应按照规范及图纸要求进行复核,并检查型钢柱的外形尺寸及运输过程中的变形情况,对变形部位进行修复处理。吊装前,技术人员应根据拟吊装的部位核对型钢柱型号。5.2.3钢柱吊装就位用起重机械(如:塔吊等)将核对无误的型钢柱垂直起吊至拟安装的部位,并在型钢柱对接部位放置一圈φ6 钢筋,预留出调整空间,方便后续的型钢柱校正等施工,如图 5.2.3所示。图 5.2.3对接部位钢筋放置示意图5.2.4钢柱临时固定型钢柱吊装就位后,四周耳板用连接钢板夹紧并用螺栓临时固定,如图 5.2.4 所示。型钢柱校正安装时,根据需要适当松开部分螺栓,校正后及时旋紧。(a)型钢柱临时固定立面图(b)型钢柱临时固定剖面图图 5.2.4型钢柱临时固定示意图5.2.5钢柱校正在型钢柱的轴线方向架设三台经纬仪,在型钢柱安装过程中对垂直度及轴线进行测量,3直至该型钢柱校正安装完毕。1轴线校正根据测量数据,将 L 形钢板焊接固定于下节型钢柱正偏差一侧的翼缘板上,通过在 L形钢板与翼缘板间打入三角形钢楔来带动扭转、移动型钢柱,直至各个方向的轴线位置均符合要求,如图 5.2.5-1 所示。(a)型钢柱轴线调整立面示意图(b)型钢柱轴线调整平面示意图图 5....

1、当您付费下载文档后,您只拥有了使用权限,并不意味着购买了版权,文档只能用于自身使用,不得用于其他商业用途(如 [转卖]进行直接盈利或[编辑后售卖]进行间接盈利)。
2、本站所有内容均由合作方或网友上传,本站不对文档的完整性、权威性及其观点立场正确性做任何保证或承诺!文档内容仅供研究参考,付费前请自行鉴别。
3、如文档内容存在违规,或者侵犯商业秘密、侵犯著作权等,请点击“违规举报”。

碎片内容

十字形型钢柱安装施工工艺

确认删除?
VIP
微信客服
  • 扫码咨询
会员Q群
  • 会员专属群点击这里加入QQ群
客服邮箱
回到顶部