电脑桌面
添加小米粒文库到电脑桌面
安装后可以在桌面快捷访问

73736气源系统

73736气源系统_第1页
1/42
73736气源系统_第2页
2/42
73736气源系统_第3页
3/42
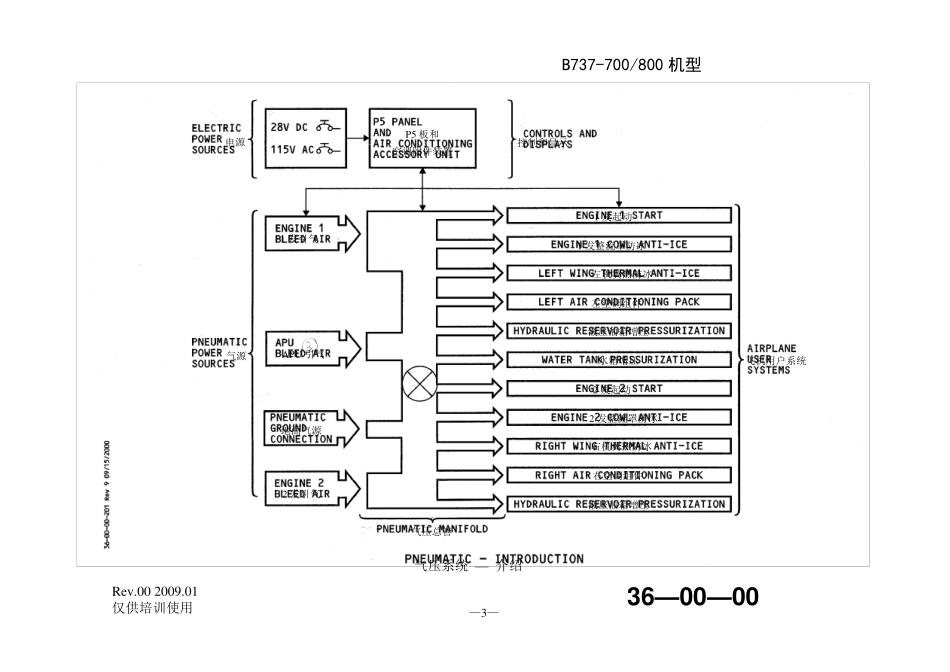
B737-700/800 机型 Rev.00 2009.01 仅供培训使用 3 6 —0 0 —0 0 —1— ATA36 气源系统 B737-700/800 机型 Rev.00 2009.01 仅供培训使用 3 6 —0 0 —0 0 —2— 气源系统 -- 介绍 目的 气源系统为飞机各用户系统提供压缩空气。 概况介绍 这些是气源系统的动力源: — 1 发引气系统 — 2 发引气系统 — 辅助动力装置(即 APU)引气系统 — 地面气源 这些是使用气压的飞机系统: — 发动机起动系统 — 空调和增压系统 — 发动机进气罩防冰系统 — 机翼热防冰系统 — 水箱增压系统 — 液压油箱增压系统 气源系统的控制和指示装置在 P5—10 空调面板上。 B737-700/800 机型 Rev.00 2009.01 仅供培训使用 3 6 —0 0 —0 0 —3— 气源 气压系统 — 介绍 飞机用户系统 控制和显示 电源 P5 板和 空调附件装置 气压总管 1 发引气 APU 引气 地面气源 2 发引气 1 发起动 1 发整流罩防冰 左机翼热防冰 左空调组件 液压油箱增压 水箱增压 2 发起动 2 发整流罩防冰 右机翼热防冰 右空调组件 液压油箱增压 B737-700/800 机型 Rev.00 2009.01 仅供培训使用 3 6 —0 0 —0 0 —4— 水箱增压接头 气压 — 分配系统 — 介绍 来自 APU 地面气源接头 左组件活门 1 发 2 发 第 5 级或第 9 级 右组件活门 整流罩热防冰活门 机翼热防冰活门 起动发动机 液压油箱连接接头 隔离活门 压力 传感表 压力 传感表 起动发动机 机翼热防冰活门 整流罩热防冰活门 液压油箱连接接头 第 5 级或第 9 级 B737-700/800 机型 Rev.00 2009.01 仅供培训使用 3 6 —0 0 —0 0 —5— 气源系统 — 功能介绍 发动机引气 每台发动机有一套引气系统,发动机引气系统控制引气的温度和压力。 发动机引气是从高压压气机的第 5 和第 9 级引出的,高压级调节器和高压级活门控制第 9 级引气的气流,第 5 级上的单向活门防止引气倒流进第 5 级压气机。 引气调节器和压力调节关断活门(PRSOV)控制引气流进入气压总管。 空调附件装置(ACAU)包括有继电器,电门和指示灯。而该继电器是空调和引气控制面板上的电门和指示灯的控制件。 发动机引气预冷系统 发动机引气预冷系统控制发动机引气的温度,预冷器控制活门、控制活门传感器以及 WTAI 电磁活门控制风扇气流流到预冷器。 APU 引气 APU 给气压总管...

1、当您付费下载文档后,您只拥有了使用权限,并不意味着购买了版权,文档只能用于自身使用,不得用于其他商业用途(如 [转卖]进行直接盈利或[编辑后售卖]进行间接盈利)。
2、本站所有内容均由合作方或网友上传,本站不对文档的完整性、权威性及其观点立场正确性做任何保证或承诺!文档内容仅供研究参考,付费前请自行鉴别。
3、如文档内容存在违规,或者侵犯商业秘密、侵犯著作权等,请点击“违规举报”。

碎片内容

73736气源系统

您可能关注的文档

确认删除?
VIP
微信客服
  • 扫码咨询
会员Q群
  • 会员专属群点击这里加入QQ群
客服邮箱
回到顶部