电脑桌面
添加小米粒文库到电脑桌面
安装后可以在桌面快捷访问

DW01中文资料

DW01中文资料_第1页
1/6
DW01中文资料_第2页
2/6
DW01中文资料_第3页
3/6
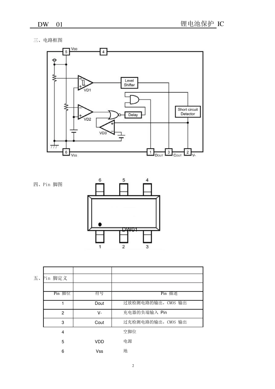
DW 01 锂电池保护 IC 一、主要特性 静态电流 待机电流(检测到过放之后) 过充检测精度 (Topt=25℃) 过充检测精度(Topt=0 到 50℃) 过放检测精度 过放检测电压 过流保护 过充延迟(VDD=4.4V) 过放延迟(VDD=2.2V 带有内置电容) 封装 典型值:4.0uA 典型值:0.2uA ± 50mV ± 60mV ± 100mV 2.0V 到 3.0V,每步 0.005V 0.04V 到 0.32V,每步 0.04V 110mS 22mS(最小值) SOT23-6/6-pin 二、基本描述 DW01 是一款单节可充电锂电池保护集成电路,具有过充、过放、过流及短路保护功能。 IC 内部包含:三个电压检测电路、一个基准电路、一个延迟电路、一个短路保护电路和一 个逻辑电路。当充电电压逐渐增大超过过充检测电路的阈值 VDET1 时,Cout Pin 的输出电压 即过充检测电路的输出电压 VD1 会变到低电位,也就是充电器负端的电位。在进入过充保护状 态后,当 VDD 电压降低到 VREL1 下方或者当电池组脱离充电器而接一个负载,且 VDD 介于 VDET1 与 VREL1 之间时 VD1 可以复位,即 Cou t Pin 输出变为高电位。 当放电电压低于过放检测电路的阈值 VDET2 时,经过一段固定的延迟时间,Dout Pin 的 输出即过放检测电路的输出 VD2 会变为低电位。这时,若给电池充电,当电池电压上升到过放 检测电路的阈值电压之上时,VD2 恢复,Dout 的输出电压变为高电平。 当有过流情况出现时,内部过流检测电路会检测到,经过一段固定的延迟时间后,VD3 和 Dou t 变为低电平,放电回路被切断。这时,若将电池组从负载系统中分开,VD3 会恢复使 Dou t 变为高电平。 当有外部短路电流时,短路保护电路会立即使Dout变为低电位,当外部短路电流消失后, Dou t 会转换为高电位。在检测到过放之后, 会通过关闭一些内部电路使电源电流非常 低。IC 过充检测电路的延迟时间可以通过连 接外部电容进行 设 置。Cout Pin 和Dout Pin的输出类 型 是CMOS。封装形 式 为SOT23-6。 1 DW 01 锂电池保护 IC 三、电路框图 四、Pin 脚图 DW01 五、Pin 脚定义 Pin 脚位 1 2 3 4 5 6 VDD Vss 符号 Dou t V- Cou t Pin 描述 过放检测电路的输出,CMOS 输出 充电器的负端输入 Pin 过充检测电路的输出,CMOS 输出 空脚位 电源 地 2 DW 01 锂电池保护 IC 六、最大绝对额定值 符号 V- Vcout Vdout PD Topt Tstq 项目 输入...

1、当您付费下载文档后,您只拥有了使用权限,并不意味着购买了版权,文档只能用于自身使用,不得用于其他商业用途(如 [转卖]进行直接盈利或[编辑后售卖]进行间接盈利)。
2、本站所有内容均由合作方或网友上传,本站不对文档的完整性、权威性及其观点立场正确性做任何保证或承诺!文档内容仅供研究参考,付费前请自行鉴别。
3、如文档内容存在违规,或者侵犯商业秘密、侵犯著作权等,请点击“违规举报”。

碎片内容

DW01中文资料

您可能关注的文档

确认删除?
VIP
微信客服
  • 扫码咨询
会员Q群
  • 会员专属群点击这里加入QQ群
客服邮箱
回到顶部