电脑桌面
添加小米粒文库到电脑桌面
安装后可以在桌面快捷访问

GSM主叫流程与被叫流程VIP专享

GSM主叫流程与被叫流程_第1页
1/9
GSM主叫流程与被叫流程_第2页
2/9
GSM主叫流程与被叫流程_第3页
3/9
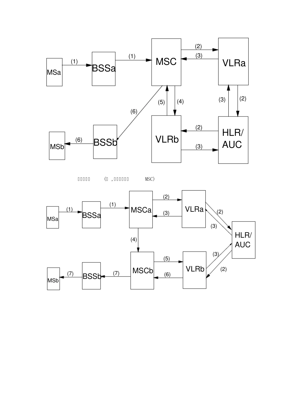
GSM主叫流程与被叫流程 2.1 主叫过程流程 移动台作为起始呼叫者,在与网络段接触以前拨被叫号码,然后发送,网络端会向主叫用户作出应答表明呼叫的结果,这种结果可以是忙音,可以是某种录音申请,或是正常接续的回铃音。 2.1.1 接入阶段 通过接入阶段,手机与BTS( BSC) 之间建立了暂时固定的关系,其过程包括:信道请求,信道激活,信道激活响应,立即指配,业务请求。 2.1.2 鉴权加密阶段 该阶段主要包括:鉴权请求,鉴权响应,加密模式命令,加密模式完成,呼叫建立。经过这个阶段,主叫用户的身份已经确认,网络认为主叫用户是一个合法用户。 2.1.3 TCH指配阶段 该阶段主要包括:指配命令,指配完成。经过这个阶段,主叫用户的话音信道已经确定,如果在后面被叫接续的过程中不能接通,主叫用户可以通过话音信道听到MSC的语音提示。 2.1.4 读取被叫用户路由信息阶段 该阶段包括:向 HLR请求路由信息,HLR向 VLR请求漫游号码,VLR回送被叫用户的漫游号码,HLR向 MSC回送被叫用户的路由信息。MSC接到路由信息后,对被叫用户的路由信息进行分析,得到被叫用户的局向,然后进行话路接续。 2.2 被叫过程流程 移动台的被叫建立过程很简单,在主叫呼叫到达移动台的VMSC后, 从用户的角度来说,话机振铃,来话显示,摘机,通话就可以进行了。从信令的观点看,移动台作被叫时,其MSC通过与外界的接口收到初始化地址(INITIAL ADDRESS)消息(IAI)。从这条消息的内容及MSC原先已经在VLR中的记录,MSC可以取到如IMSI、请求业务类别等完成接续所需要的全部数据。MSC 然后对移动台发起寻呼,移动台接受呼叫并返回呼叫核准消息,此时移动台振铃。MSC在收到被叫移动台的呼叫核准消息后,会向主叫网方向发出地址完成(ADDRESS COMPLETE)消息(ACM)。最后用户摘机或者按某个按钮接纳这次呼叫,这一动作翻译为接通(CONNECT)消息。 2.2.1 接入阶段 接入阶段包括:手机收到BTS的寻呼命令后,信道请求,信道激活,信道激活响应,立即指配,寻呼响应。经过这个阶段,手机与BTS( BSC)之间建立了暂时固定的关系。 2.2.2 鉴权加密阶段 该阶段主要包括:鉴权请求,鉴权响应,加密模式命令,加密模式完成,呼叫建立。经过这个阶段,被叫用户的身份已经确认,网络认为被叫用户是一个合法用户。 2.2.3 TCH指配阶段 该阶段主要包括:指配命令,指配完成。经过这个阶段,被叫用户的话音信道已经确定,主叫听回铃音,被叫振铃。如果...

1、当您付费下载文档后,您只拥有了使用权限,并不意味着购买了版权,文档只能用于自身使用,不得用于其他商业用途(如 [转卖]进行直接盈利或[编辑后售卖]进行间接盈利)。
2、本站所有内容均由合作方或网友上传,本站不对文档的完整性、权威性及其观点立场正确性做任何保证或承诺!文档内容仅供研究参考,付费前请自行鉴别。
3、如文档内容存在违规,或者侵犯商业秘密、侵犯著作权等,请点击“违规举报”。

碎片内容

GSM主叫流程与被叫流程

确认删除?
VIP
微信客服
  • 扫码咨询
会员Q群
  • 会员专属群点击这里加入QQ群
客服邮箱
回到顶部