电脑桌面
添加小米粒文库到电脑桌面
安装后可以在桌面快捷访问

闭路视频监控及周界安防系统

闭路视频监控及周界安防系统_第1页
1/29
闭路视频监控及周界安防系统_第2页
2/29
闭路视频监控及周界安防系统_第3页
3/29
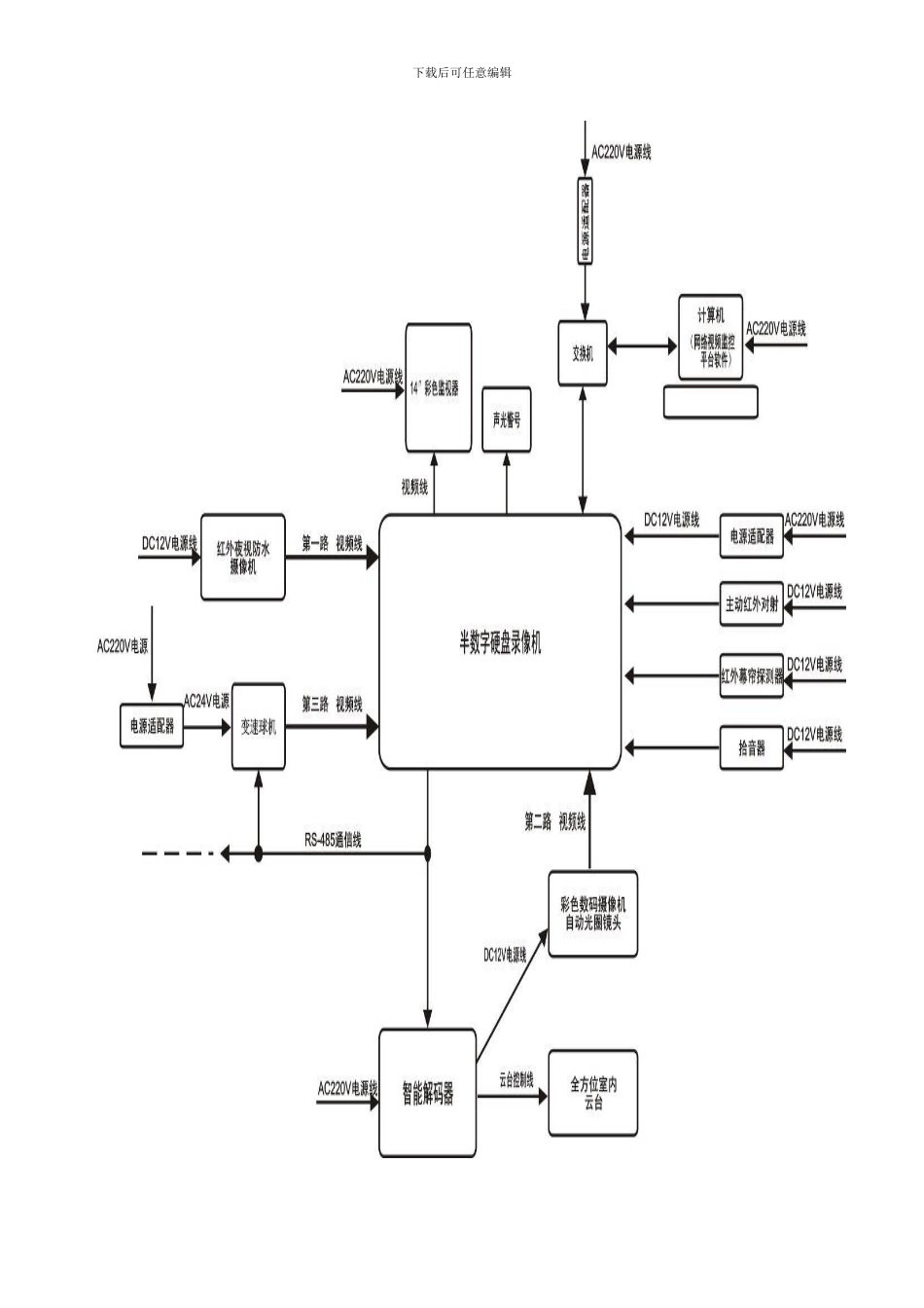
下载后可任意编辑闭路视频监控及周界安防系统1、系统概述电视监控系统(CCTV)是在利用前端摄像机获得视频信号源,并通过同轴电缆、双绞线、光纤或微波等信号传输到监控中心,监控中心的后端设备将获得的信号进行处理、显示和存储等构成完整的监控系统。闭路电视监控系统能实时、形象、真实地反映被监控对象,不但极大地延长了人眼的观察距离,而且扩大了人眼的机能,它可以在恶劣的环境下代替人工进行长时间监视,让人能够看到被监视现场的实际发生的一切情况,并通过录像记录下来。闭路电视监控系统是智能楼宇安防系统的一个重要组成部分,是一种先进的,防范能力极强的综合系统。采纳摄像机对被控现场进行实时监视,能实时、形象、真实地反映被监控的对象,使得保安人员在控制室中能观察到大楼内所有重要地点的情况,为保安系统提供了视听觉效果,为消防、防盗和楼内各种设备的运行和人员活动提供了监视手段,极大地提高了管理效率和自动化水平。周边防范系统的技术防范是在小区周边设置探测器或利用画面移动侦测技术,探测任何试图非法进入小区的行为,一旦发生非法进入行为,系统联动现场和控制室声光报警器,给入侵者以威吓并通知保安人员进行处理,同时自动启动 24 小时不间断录像保存系统,及时记录现场的入侵行为,以备查询分析,寻找可疑线索。两系统作为智能安防系统的一部分,成为智能楼宇安全自动化的基本组成模块。本系统采纳半数字化监控系统结构。半数字化监控系统是在模拟监控系统上进展起来的,既有模拟部分又有数字部分,其视频图像生成、传输大多采纳模拟的;图像的分割既可以采纳模拟装置,也可以通过电子计算机以软件的形式来实现;其中最突出的是图像的记录,采纳了以数字的方式存储,这种方式不仅容量大,而且能快速读取和检索。2、结构原理下载后可任意编辑下载后可任意编辑3、主体配置序号器件名称单位数量备注1彩色监视器台114 寸,两路视、音频输入输出2数字数字硬盘录像机台1大华 0404L(N)-S 3硬盘台1金钻 160G,SATA 接口4彩色数码摄像机台1哨兵 VON-V2365自动光圈镜头个1日本精工 8mm6变速球机个1YL53077红外夜视防水摄像机台1VON-V7258摄像机支架个1ABR-20009室内全方位云台台1普天视 3030W10智能解码器台1普天视 TOV1-202411拾音器个1SG-90112主动红外对射探测器个1DS422I13被动红外幕帘探测器个1IF-902C14声光警号个1HC-10215交换机个1GigaX1005X16网络视频监控平台软件套1EPSS4、各种器件的认识及选...

1、当您付费下载文档后,您只拥有了使用权限,并不意味着购买了版权,文档只能用于自身使用,不得用于其他商业用途(如 [转卖]进行直接盈利或[编辑后售卖]进行间接盈利)。
2、本站所有内容均由合作方或网友上传,本站不对文档的完整性、权威性及其观点立场正确性做任何保证或承诺!文档内容仅供研究参考,付费前请自行鉴别。
3、如文档内容存在违规,或者侵犯商业秘密、侵犯著作权等,请点击“违规举报”。

碎片内容

闭路视频监控及周界安防系统

确认删除?
VIP
微信客服
  • 扫码咨询
会员Q群
  • 会员专属群点击这里加入QQ群
客服邮箱
回到顶部