电脑桌面
添加小米粒文库到电脑桌面
安装后可以在桌面快捷访问

ALM3S6432强大的MCU内核简介32位ARMC

ALM3S6432强大的MCU内核简介32位ARMC_第1页
1/16
ALM3S6432强大的MCU内核简介32位ARMC_第2页
2/16
ALM3S6432强大的MCU内核简介32位ARMC_第3页
3/16
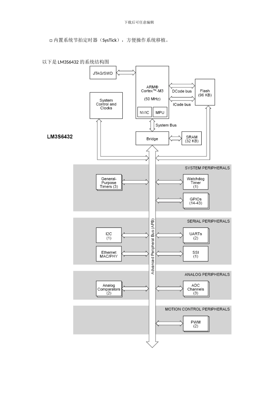
下载后可任意编辑A. LM3S6432 强大的 MCU 内核简介 □ 32 位 ARM Cortex-M3 内核(ARM v7M 架构); □ Thumb 兼容的 Thumb-2-only 指令集,提高代码密度 25%以上; □ 50MHz 运行频率,1.25 DMIPS/MHz,加快 35%以上; □ 单 周 期 乘 法 指 令 , 2 ~ 12周 期 硬 件 除 法 指 令 ; □ 集成的嵌套式的中断控制器(NVIC)提供确定性的中断处理,6~12 个时钟周期; □ 具有 MPU 保护设定访问规则; □ 29 个中断和 8 个中断优先级控制; □ 存储器保护单元(MPU),提供一个受保护的操作系统特权模式功能; □ 96KB 单周期 Flash, 32KB 单周期 SRAM; □ 内置可编程的 LDO 输出 2.25V~2.75V,步进 50mV,为硬件系统节约一个电源稳压器; □ 支持非对齐数据的访问,有效地压缩数据到内存; □ 支持位操作(bit-banding 区),最大限度使用内存,并提供创新的外设控制;下载后可任意编辑□ 内置系统节拍定时器(SysTick),方便操作系统移植。以下是 LM3S6432 的系统结构图下载后可任意编辑B.嵌入式串口转以太网控制器(应用 DEMO)主板介绍功能特点嵌入式串口转以太网控制器是一款具有高效性能并集成了 ARM Cortex-M3 微处理器的串行至以太网控制器。该控制器的核心是高度集成的 32 位 Stellaris LM3S6432 ARM Cortex-M3 微处理器,具有 50MHz 性能和 96K 快速单周期片上闪存及 32K SARAM 内存,可高效处理网络流量。Stellaris 系列微处理器采纳 LQFP-100 封装,并集成了片上 10/100MB 以太网 MAC 和PHY,从而能够最大限度的节约空间。产品特性□ LM3S6432 Stellaris 控制器拥有 96KB 的 Flash 空间和 32KB 的 SRAM 空间□ 10/100Mb 以太网端口自动 MDI/MDIX 交叉纠正流量和链接指示灯 内建 2kv 涌浪保护□ 2 个 UART 端口并包含用于流控制的 RTS/CTSUART0 具有 CMOS/TTL 级别,收发器的最高运行速度可达 250Kb/秒UART1 具有 CMOS/TTL 级别,运行速度可达 1.5Mb/秒。用户二次开发还可作为 4 个GPIO。端口参数可任意配置。□ 软件功能支持静态 IP 地址或 DHCP 的 IP 配置用于接入串行端口的 Telnet 服务器用于模块配置的 WEB 服务器用于设备发现的 UDP 响应器(uPnP 设备)用于以太网串行端口扩展器的 Telnet 客户端用于安全通信的 SSH 服务器以太网远程固件升级□ 模块支持 5V...

1、当您付费下载文档后,您只拥有了使用权限,并不意味着购买了版权,文档只能用于自身使用,不得用于其他商业用途(如 [转卖]进行直接盈利或[编辑后售卖]进行间接盈利)。
2、本站所有内容均由合作方或网友上传,本站不对文档的完整性、权威性及其观点立场正确性做任何保证或承诺!文档内容仅供研究参考,付费前请自行鉴别。
3、如文档内容存在违规,或者侵犯商业秘密、侵犯著作权等,请点击“违规举报”。

碎片内容

ALM3S6432强大的MCU内核简介32位ARMC

您可能关注的文档

确认删除?
VIP
微信客服
  • 扫码咨询
会员Q群
  • 会员专属群点击这里加入QQ群
客服邮箱
回到顶部