电脑桌面
添加小米粒文库到电脑桌面
安装后可以在桌面快捷访问

信息发布流程图

信息发布流程图_第1页
1/6
信息发布流程图_第2页
2/6
信息发布流程图_第3页
3/6
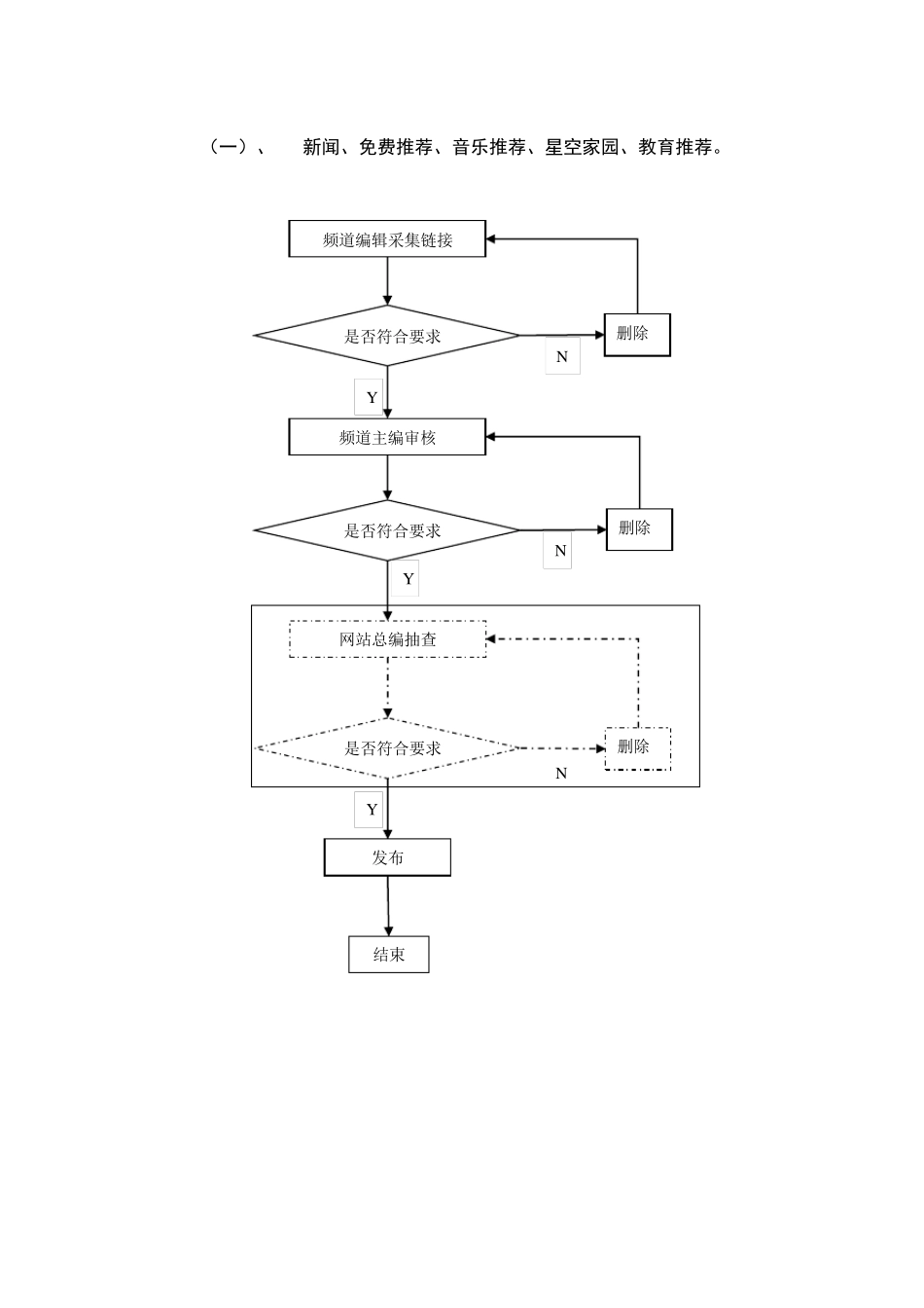
网站信息发布制度 一、 目的: 在省公司及增值中心信息安全领导小组的领导下,建立完善的自营网站信息发布业务流程,规范信息发布过程,杜绝信息安全事故。 二、 信息发布管理架构: 自营网站信息维护采用总编负责制。每个网站都设立一个总编责任人、一个频道设立一个主编和若干个编辑责任人,所有网站共设一名信息质检员。 一个频道在制作完成发布之前,应制订频道维护规范,明确频道的维护流程如内容范围、更新频次等。 三、 职责分工: (一)、 总编职责: 1. 把握正确的政治、社会舆论导向,负责网站的总体策划、改版、调整,确保网站在合法的范围内运作; 2. 审查各频道的设置,检查各频道的内容,保证与网站宗旨的一致性; 3. 负责网络活动的整体策划,并进行相应控制; 4. 负责对所属团队的建设、管理。 5. 与其他部门合理分工协调合作。 6. 决定网站首页链接和友情链接的站点。 (二)、 频道主编职责: 1. 每频道设频道主编一名; 2. 接受总编的督 查,对总编负责并可 在总编授 权 范围内,对外 开 展 联 络事项 ; 3. 负责本 频道各栏 目的策划、调整、制作、维护,对相关 的频道承 担 内容审查责任; 4. 负责组成频道编辑组,推 荐 栏 目主持 人并经 总编确认 后 聘 任; 5. 对本 专 栏 的内容保证与网站的宗旨保持 一致; 6. 决定本 频道的合作伙 伴 和友情链接,并报 总编批 准 ; (三)、 频道编辑职责: 1. 每频道设频道编辑若干名; 2. 协助频道主编进行本频道各栏目的策划、调整、制作、维护; 3. 负责本频道栏目的资料收集,页面制作,日常更新工作; 4. 保证本人主持的频道按照频道的维护规范进行更新。 5. 根据信息源合作协议,对 SP/CP 提供的内容执行审核、(日常更新)发布、复审、撤销等工作。 (四)、 信息质检员职责: 1. 设信息质检员一名; 2. 每周对湖北互联星空、V OD、信息港、网络广告的内容进行检查; 3. 每月将检查结果汇总并通报; 4. 对有内容不符合要求的网站责令其改正。 四、 湖北互联星空各频道发布流程。 (一)、 新闻、免费推荐、音乐推荐、星空家园、教育推荐。 频道编辑采集链接 是否符合要求 频道主编审核 是否符合要求 网站总编抽查 删除 删除 是否符合要求 删除 Y Y Y N N N 结束 发布 (二)、 影视推荐、排行榜。 CP 上传影片 互联星空 V OD 管理员根据授权书审核影片...

1、当您付费下载文档后,您只拥有了使用权限,并不意味着购买了版权,文档只能用于自身使用,不得用于其他商业用途(如 [转卖]进行直接盈利或[编辑后售卖]进行间接盈利)。
2、本站所有内容均由合作方或网友上传,本站不对文档的完整性、权威性及其观点立场正确性做任何保证或承诺!文档内容仅供研究参考,付费前请自行鉴别。
3、如文档内容存在违规,或者侵犯商业秘密、侵犯著作权等,请点击“违规举报”。

碎片内容

信息发布流程图

小辰8+ 关注
实名认证
内容提供者

出售各种资料和文档

确认删除?
VIP
微信客服
  • 扫码咨询
会员Q群
  • 会员专属群点击这里加入QQ群
客服邮箱
回到顶部