电脑桌面
添加小米粒文库到电脑桌面
安装后可以在桌面快捷访问

压力测试系统VIP专享

压力测试系统_第1页
1/10
压力测试系统_第2页
2/10
压力测试系统_第3页
3/10
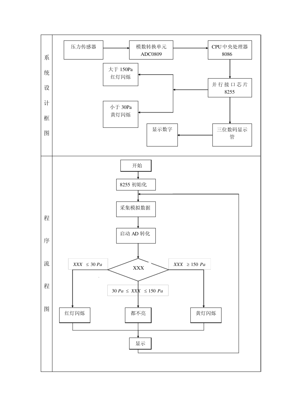
《微机应用系统设计》 课程设计报告 题 目:压力测试系统的设计(一) 专业班级:电子信息科学与技术 0 8 1 0 1 班 设计学生:邹行 2 0 0 8 1 1 0 2 0 1 1 6 黄炯 2 0 0 8 1 1 0 2 0 1 2 3 完成时间:2 0 1 0 年 0 6 月 1 1 日 湖南文理学院物理与电子科学学院 评阅成绩 评阅教师 评阅时间 设计题目 压力测试系统的设计(一) 设计要求 对压力传感器的信号进行检测并在LED数码显示器上显示压力值,当压力低于30pa时,黄灯闪烁,闪烁周期为1秒。当压力高于150pa时,红灯闪烁。LED的显示内容为P=XXX。X为测试值。 设 计 思 路 压力测试系统的设计,必然要牵涉到压力的感应与转化,所以必须要有压力传感与 A/D 转换器。将自然中的模拟量转化为电压信号,再转化位数字信号进行处理。一个小型的微机系统,必须要有8086cpu 来进行整体的控制,将其通过 8255 与 A/D 传感器进行连接。这就是这个系统的主要框架。 而具体的应用框架则是在主要的框架上添加。要当压力低于30pa时,黄灯闪烁。当压力高于150pa时,红灯闪烁。则应添加 8255 模块。通过编程来控制黄灯与红灯的亮灭情况,考虑到要进行比较,所以我用了两个比较器进行数据的比较。同时,由于灯要闪烁,闪烁周期要一秒,所以我们考虑到还要加一个 8253芯片去控制。但根据个人情况,这个模块我省略了。而至于LED显示,且显示内容为三位。我只在程序之中体现,而在硬件图中没有去体现。 系统设计框图 程序流程图 开始 8255 初始化 采集模拟数据 启动AD 转化 XXX PaXXX150 PaXXX30 PaXXXPa15030 红灯闪烁 黄灯闪烁 都不亮 显示 模数转换单元ADC0809 CPU中央处理器 8086 并行接口芯片8255 大于150Pa 红灯闪烁 小于30Pa 黄灯闪烁 显示数字 三位数码显示管 压力传感器 源程序: code segment assume cs:code adport equ 0010h org 2000h start:call format mov dx,0ff2bh mov al,80h ;8255A 初始化设置。8255A 控制字,A 口为输出,B 口为输出, out dx,al ;C 口的低四位为输出,C 口的高四位为输出 adcon:mov ax,00 mov dx,adport out dx,al mov cx,5000h delay:loop delay dushu: mov dx,adport in al,dx mov bl,al cwd ;将 bl 扩展到 dx中,形成 32 位 mov cl,10 ;令除数为 10 div cl mov ds:[077ah],ah ;得到个位数 mov ah,0...

1、当您付费下载文档后,您只拥有了使用权限,并不意味着购买了版权,文档只能用于自身使用,不得用于其他商业用途(如 [转卖]进行直接盈利或[编辑后售卖]进行间接盈利)。
2、本站所有内容均由合作方或网友上传,本站不对文档的完整性、权威性及其观点立场正确性做任何保证或承诺!文档内容仅供研究参考,付费前请自行鉴别。
3、如文档内容存在违规,或者侵犯商业秘密、侵犯著作权等,请点击“违规举报”。

碎片内容

压力测试系统

小辰6+ 关注
实名认证
内容提供者

出售各种资料和文档

确认删除?
VIP
微信客服
  • 扫码咨询
会员Q群
  • 会员专属群点击这里加入QQ群
客服邮箱
回到顶部