电脑桌面
添加小米粒文库到电脑桌面
安装后可以在桌面快捷访问

实验四纯弯曲梁正应力实验参考资料

实验四纯弯曲梁正应力实验参考资料_第1页
1/7
实验四纯弯曲梁正应力实验参考资料_第2页
2/7
实验四纯弯曲梁正应力实验参考资料_第3页
3/7
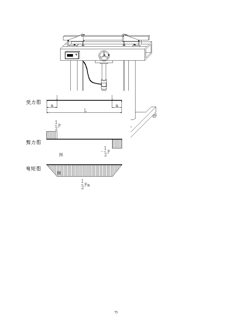
74 实验四 纯弯曲梁正应力实验 一、实验目的 1、测定矩形截面梁在纯弯曲时的正应力分布规律,并验证弯曲正应力公式的正确性; 2、学习多点静态应变测量方法。 二、仪器设备 1、纯弯曲梁实验装置; 2、YD-88型数字式电阻应变仪; 3、游标卡尺。 三、试件制备与实验装置 1、试件制备 本实验采用金属材料矩形截面梁为实验对象。为了测量梁横截面上正应力的大小和它沿梁高度的分布规律,在梁的纯弯段某一截面处,中性轴和以其为对称轴的上下 1/4点、梁顶、梁底等 5个测点沿高度方向均匀粘贴了五片轴向的应变计(如图 4-4-1),梁弯曲后,其纵向应变可通过应变仪测定。 图 4-4-1 2、实验装置 如图 4-4-2和图 4-4-3所示,将矩形截面梁安装在纯弯曲梁实验装置上,逆时针转动实验装置前端的加载手轮,梁即产生弯曲变形。从梁的内力图可以发现:梁的 CD段承受的剪力为 0,弯矩为一常数,处于“纯弯曲”状态,且弯矩值M=21P•a,弯曲正应力公式 σ =zy 可变换 为 σ =yaz2 7 5 图 4-4-2 图 4-4-3 76 四、实验原理 实验时,通过转动手轮给梁施加载荷,各测点的应变值可由数字式电阻应变仪测量。根据单向胡克定律即可求得 σi实=E·εi实 (i=1,2,3,6,7) 为了验证弯曲正应力公式σ =zy或σ =yaz2的正确性,首先要验证两个线性关系,即σ ∝y和σ ∝P是否成立: 1、检查每级载荷下实测的应力分布曲线,如果正应力沿梁截面高度的分布是呈直线的,则说明σ ∝y成立; 2、由于实验采用增量法加载,且载荷按等量逐级增加。因此,每增加一级载荷,测量各测点相应的应变一次,并计算其应变增量,如果各测点的应变增量也大致相等,则说明σ∝P成立。 最后,将实测值与理论值相比较,进一步可验证公式的正确性。 五、实验步骤 1、试件准备 用游标卡尺测量梁的截面尺寸(一般由实验室老师预先完成),记录其数值大小;将梁正确地放置在实验架上,保证其受力仅发生平面弯曲,注意将传感器下部的加力压杆对准加力点的缺口,然后打开实验架上测力仪背面的电源开关; 2、应变仪的准备 a.测量电桥连接: 图 4-4-4 如图 4-4-4,为了简化测量电桥的连接,将梁上 5个测点的应变计引出导线各取出其中一根并联成一根总的引出导线,并以不同于其他引出导线的颜色区别,所以,测量导线由原来的10根缩减为 6根,连接测量电桥时,将颜色相同的具有编号 1、2、3、6、7的五根线7 7 分别连接在...

1、当您付费下载文档后,您只拥有了使用权限,并不意味着购买了版权,文档只能用于自身使用,不得用于其他商业用途(如 [转卖]进行直接盈利或[编辑后售卖]进行间接盈利)。
2、本站所有内容均由合作方或网友上传,本站不对文档的完整性、权威性及其观点立场正确性做任何保证或承诺!文档内容仅供研究参考,付费前请自行鉴别。
3、如文档内容存在违规,或者侵犯商业秘密、侵犯著作权等,请点击“违规举报”。

碎片内容

实验四纯弯曲梁正应力实验参考资料

小辰+ 关注
实名认证
内容提供者

出售各种文档和资料

确认删除?
VIP
微信客服
  • 扫码咨询
会员Q群
  • 会员专属群点击这里加入QQ群
客服邮箱
回到顶部