电脑桌面
添加小米粒文库到电脑桌面
安装后可以在桌面快捷访问

机械结构设计液压千斤顶

机械结构设计液压千斤顶_第1页
1/9
机械结构设计液压千斤顶_第2页
2/9
机械结构设计液压千斤顶_第3页
3/9
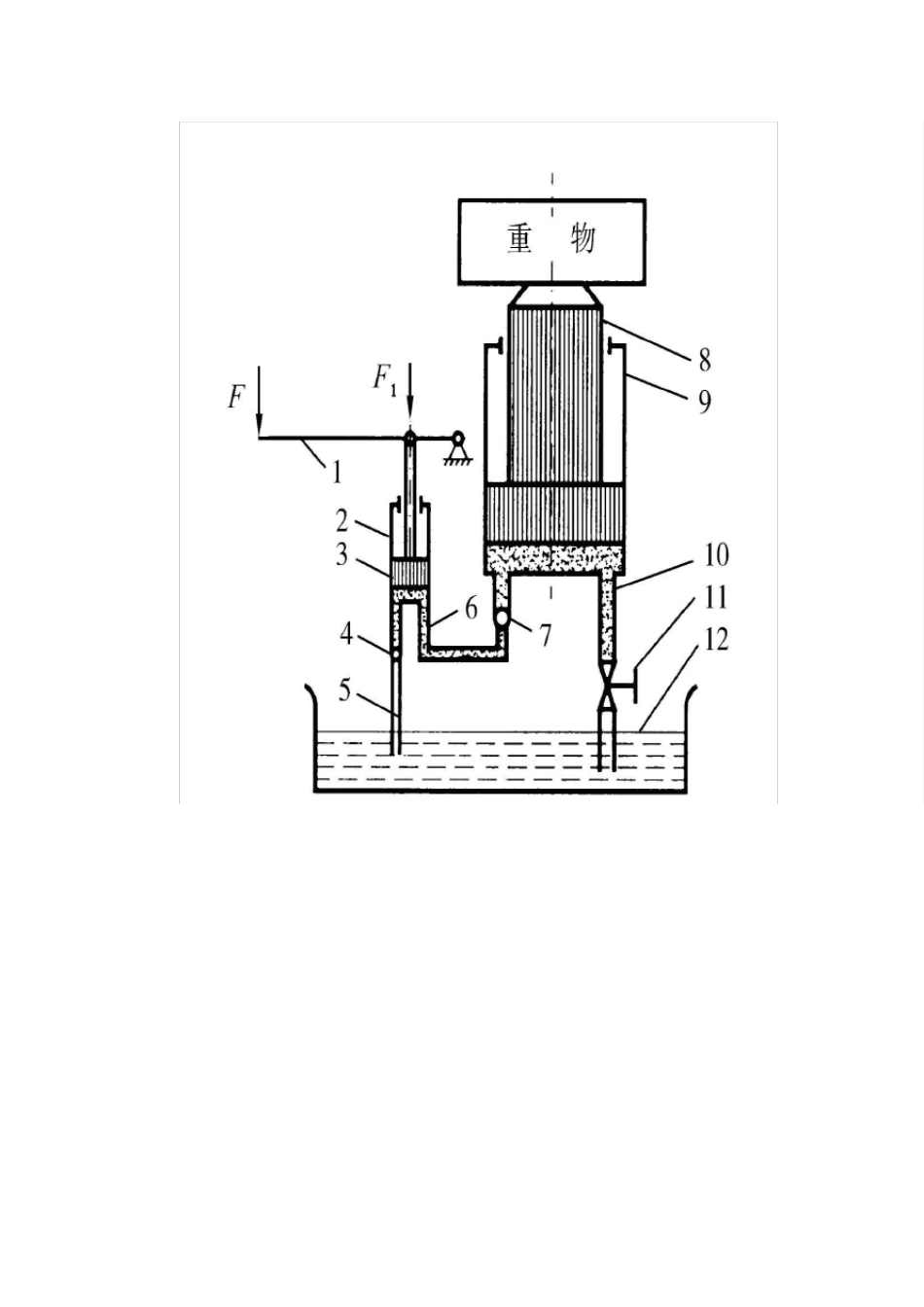
本发明是基于杠杆原理,帕斯卡原理,单向阀单向导通原理的液压千斤顶,包括杠杆手柄、大小活塞、大小油缸、单向阀、截止阀、吸油管、管道、油箱等结构。液压缸采用 45号钢活塞式单作用液压缸,大小缸体通过管道连接,吸油管与油箱间通过单向阀限制液压油流向,用杠杆手柄驱动缸体工作。本液压千斤顶超负荷时自动泄荷,其结构简单紧凑,实用性强,成本低,使用维护方便,抗拉性能强,能平稳顶升重物,适用于各种特殊施工及机械抢修场合,保证施工及抢修的安全。 1、一种基于杠杆原理,帕斯卡原理,单向阀单向导通原理的液压千斤顶,包括杠杆手柄(1)、大小活塞(8)(3)、大小油缸(9)(2)、单向阀(4)(7)、截止阀(11)、吸油管(5)、管道(6)(10)、油箱(12)等结构。液压缸(9)(2)采用 45号钢活塞式单作用液压缸,大小缸体通过管道(6)(10)连接,吸油管(5)与油箱(12)间通过单向阀(4)限制液压油流向,用杠杆手柄(1)驱动缸体(2)工作。 2、根据权利要求 1所述的一种基于杠杆原理,帕斯卡原理,单向阀单向导通原理的液压千斤顶,其特征在于:用杠杆手柄(1)驱动缸体(2)工作;大小缸体通过管道(6)(10)连接,产生液压油;吸油管(5)与油箱(12)间通过单向阀(4)限制液压油流向。 一种基于杠杆、帕斯卡、单向阀单向导通原理的液压千斤顶 技术领域 本发明涉及一种基于杠杆原理,帕斯卡原理,单向阀单向导通原理的液压千斤顶。 背景技术 自 18世纪末英国制成世界上第一台水压机算起,液压传动技术已有二三百年的历史。直到 20世纪 30年代它才较普遍地用于起重机、机床及工程机械。在第二次世界大战期间,由于战争需要,出现了由响应迅速、精度高的液压控制机构所装备的各种军事武器。第二次世界大战结束后,液压技术迅速转向民用工业,液压技术不断应用于各种自动机及自动生产线。 本世纪 60年代以后,液压技术随着原子能、空间技术、计算机技术的发展而迅速发展。因此,液压传动真正的发展也只是近三四十年的事。当前液压技术正向迅速、高压、大功率、高效、低噪声、经久耐用、高度集成化的方向发展。同时,新型液压元件和液压系统的计算机辅助设计(CAD)、计算机辅助测试(CAT)、计算机直接控制(CDC)、机电一体化技术、可靠性技术等方面也是当前液压传动及控制技术发展和研究的方向。我国的液压技术最初应用于机床和锻压设备上,后来又用于拖拉机和工程机械。现在,我国的液压元件随着从国外引进一些...

1、当您付费下载文档后,您只拥有了使用权限,并不意味着购买了版权,文档只能用于自身使用,不得用于其他商业用途(如 [转卖]进行直接盈利或[编辑后售卖]进行间接盈利)。
2、本站所有内容均由合作方或网友上传,本站不对文档的完整性、权威性及其观点立场正确性做任何保证或承诺!文档内容仅供研究参考,付费前请自行鉴别。
3、如文档内容存在违规,或者侵犯商业秘密、侵犯著作权等,请点击“违规举报”。

碎片内容

机械结构设计液压千斤顶

小辰8+ 关注
实名认证
内容提供者

出售各种资料和文档

确认删除?
VIP
微信客服
  • 扫码咨询
会员Q群
  • 会员专属群点击这里加入QQ群
客服邮箱
回到顶部