电脑桌面
添加小米粒文库到电脑桌面
安装后可以在桌面快捷访问

橡胶弹簧详细参数

橡胶弹簧详细参数_第1页
1/10
橡胶弹簧详细参数_第2页
2/10
橡胶弹簧详细参数_第3页
3/10
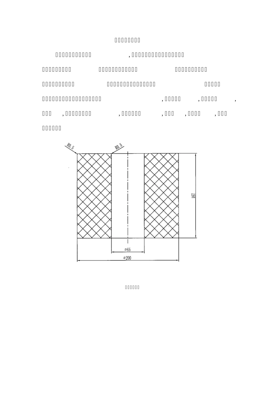
橡胶弹簧详细参数 橡胶弹簧是一种高弹性体,制作材料有普通橡胶和天然橡胶。橡胶弹簧弹性模量小,受载后有较大的弹性变形,借以吸收冲击和振动。它能同时受多向载荷,但耐高温性和耐油性比钢弹簧差。如有特殊要求可用耐油橡胶制成。该产品减振效果好,共振领域小,使用寿命长,成本低,还有良好的耐寒性,优良的气密性,防水性,电绝缘性,是减振的最佳选择。 橡胶弹簧图纸 橡胶弹簧三维图 标准橡胶弹簧技术参数: 规格 D× H× d﹝ mm﹞ 外径D ﹝mm﹞ 内径d ﹝ mm﹞ 自由高度 H ﹝ mm﹞ 工作变形量 FV ﹝ cm﹞ 刚度KL ( kg/cm) 静态载荷 ( kg) Ф 50× 50× Ф 18 50 18 50 0.5 50 50 Ф 50× 50× Ф 20 50 20 50 0.5 50 50 Ф 60× 60× Ф 20 60 20 60 0.6 60 60 Ф 80×80×Ф 20 80 80 20 0.8 100 100 Ф 80×80×Ф 25 80 25 80 0.8 100 100 Ф 80×80×Ф 30 80 30 80 0.8 100 100 Ф 90× 100× Ф 25 90 25 100 0.9 140 140 Ф 100×100×Ф 25 100 25 100 1 140 140 Ф 100×100×Ф 30 1030 100 1 140 140 0 Ф 100×1 30× Ф 30 100 30 130 1 150 150 Ф 120×120×Ф 30 120 30 120 1.2 220 260 Ф 120×1 40× Ф 30 120 30 140 1.2 230 270 Ф 127×12 7× Ф 30 127 30 127 1.2 230 270 Ф 130×1 30× Ф 30 130 30 130 1.3 240 310 Ф 140×1 40× Ф 30 140 30 140 1.4 300 420 Ф 140×160×Ф 30 140 30 160 1.4 350 490 Ф 140×160×Ф 40 140 40 160 1.4 350 490 Ф 160×160×Ф 30 160 30 160 1.6 350 560 Ф 160×160×Ф 40 160 40 160 1.6 350 560 Ф 160×160×Ф 50 160 50 160 1.6 350 560 Ф 160×1 60× Ф 60 160 60 160 1.6 350 560 Ф 160× 235× Ф 40 160 40 235 2.5 400 1000 Ф 160× 240× Ф 40 160 40 240 2.5 400 1000 Φ 170× 240× Φ 40 170 40 240 2.5 400 1000 Ф 180× 180× Ф 40 180 40 180 1.8 400 720 Ф 180× 240× Ф 40 180 40 240 2.5 400 1000 Ф 200× 150× Ф 65 200 65 150 1.5 350 520 Ф 200× 200× Ф 40 200 40 200 2 450 900 Ф 200...

1、当您付费下载文档后,您只拥有了使用权限,并不意味着购买了版权,文档只能用于自身使用,不得用于其他商业用途(如 [转卖]进行直接盈利或[编辑后售卖]进行间接盈利)。
2、本站所有内容均由合作方或网友上传,本站不对文档的完整性、权威性及其观点立场正确性做任何保证或承诺!文档内容仅供研究参考,付费前请自行鉴别。
3、如文档内容存在违规,或者侵犯商业秘密、侵犯著作权等,请点击“违规举报”。

碎片内容

橡胶弹簧详细参数

小辰9+ 关注
实名认证
内容提供者

出售各种资料和文档

确认删除?
VIP
微信客服
  • 扫码咨询
会员Q群
  • 会员专属群点击这里加入QQ群
客服邮箱
回到顶部