电脑桌面
添加小米粒文库到电脑桌面
安装后可以在桌面快捷访问

用masm做的图形变换设计报告书

用masm做的图形变换设计报告书_第1页
1/12
用masm做的图形变换设计报告书_第2页
2/12
用masm做的图形变换设计报告书_第3页
3/12
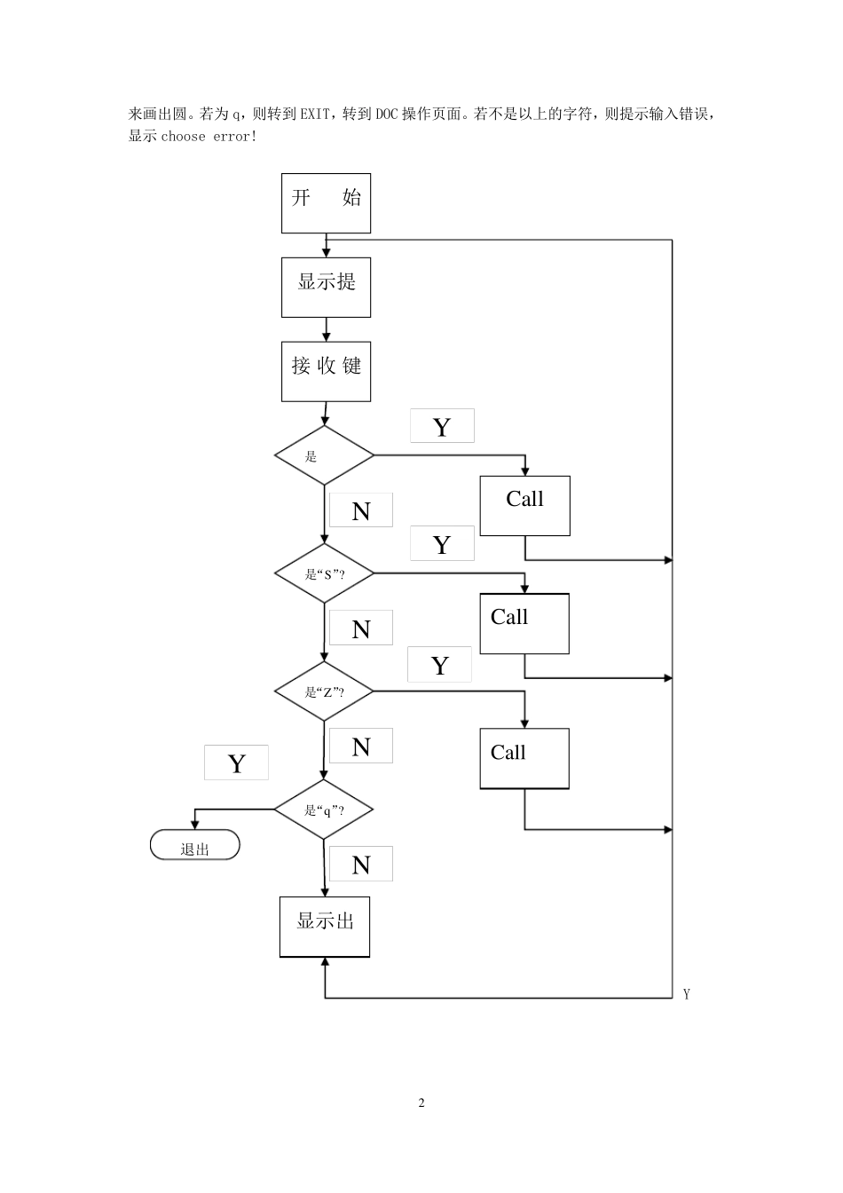
1 图 形 变 换 程 序 设 计 一 :设 计 任 务 与 要 求 完 成 一 个 图 形 变 换 的 程 序 , 系 统 具 有 4 种 可 选 择 的 功 能 , 按 字 母 “ Y” 画 一 个 用 点 组 成的 圆 ; 按 字 母 “ S” 画 一 个 用 不 同 颜 色 填 充 的 三 角 形 ; 按 字 母 “ Z” 画 一 个 用 不 同 颜 色 填 充 的矩 形 ; 按 “ q” 键 退 出 。 二 :系 统 分 析 通 过 对 课 题 深 入 探 究 , 得 到 本 次 课 程 设 计 需 要 的 一 些 软 件 。 首 先 先 要 有 一 个 汇 编 语 言 编辑 器 。 本 次 使 用 的 是 masm for windows集 成 实 验 环 境 。 由 于 此 软 件 对 win7的 兼 容 有 问 题 。 不能 全 屏 显 示 ,“ this system does not support fullscreen mode” 在 运 行 时 会 出 现 此 种 情况 。 通 过 上 网 查 资 料 有 如 下 解 释 , 由 于 软 件 不 兼 容 , 建 议 使 用 其 他 的 工 具 。 由 于 题 目 要 求 按 字 母 “ Y” 画 一 个 用 点 组 成 的 圆 ; 按 字 母 “ S” 画 一 个 用 不 同 颜 色 填 充 的三 角 形 ; 按 字 母 “ Z” 画 一 个 用 不 同 颜 色 填 充 的 矩 形 ; 所 以 本 程 序 需 要 有 画 点 函 数 、 清 屏 函数 、 画 圆 函 数 、 设 置 写模式的 函 数 。 三 :软 件 设 计 程 序 设 计 流程 图 程 序 开始运 行 后, 先 提示 :please choose the letter y,s,z:, input q to quit 然后操作者选 择 一 个 字 母 , 程 序 根据比较 :CMP AL,’S’ JZ SA CMP AL,’Z’ JZ ZHEN CMP AL,’Y’ JZ YUA CMP AL,’q’ JZ EXIT MOV DX,OFFSET INFO2 MOV AH,09 INT 21H 若为 S,则转到 标号 SA,进一 步调用 子程 序 SAN 来画 出 三 角 形 ;若为 Z,则转到 标号 ZHEN,进一 步调用 子程 序 ZHENG 来画 出 矩 形 ; 若为 Y, 则转到 标号 YUA, 进一 步调用 子程 序 YUAN 2 来画出圆。若为q,则转到EXIT,转到DOC 操作页面。若不是以上的字符,则提示输入错误,显示choose...

1、当您付费下载文档后,您只拥有了使用权限,并不意味着购买了版权,文档只能用于自身使用,不得用于其他商业用途(如 [转卖]进行直接盈利或[编辑后售卖]进行间接盈利)。
2、本站所有内容均由合作方或网友上传,本站不对文档的完整性、权威性及其观点立场正确性做任何保证或承诺!文档内容仅供研究参考,付费前请自行鉴别。
3、如文档内容存在违规,或者侵犯商业秘密、侵犯著作权等,请点击“违规举报”。

碎片内容

用masm做的图形变换设计报告书

小辰5+ 关注
实名认证
内容提供者

出售各种资料和文档

相关文档

确认删除?
VIP
微信客服
  • 扫码咨询
会员Q群
  • 会员专属群点击这里加入QQ群
客服邮箱
回到顶部