电脑桌面
添加小米粒文库到电脑桌面
安装后可以在桌面快捷访问

胶囊生产工艺规程

胶囊生产工艺规程_第1页
1/15
胶囊生产工艺规程_第2页
2/15
胶囊生产工艺规程_第3页
3/15
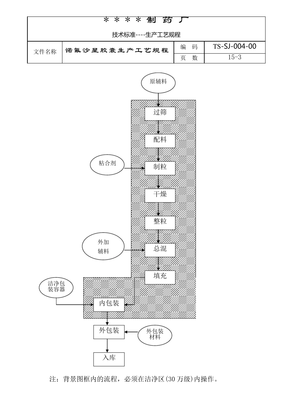
* * * * 制 药 厂 技 术 标 准 ----生 产 工 艺 规 程 文件名称 诺氟沙星胶囊 生产工艺规程 编 码 TS-SJ-004-00 页 数 15-1 实施日期 制 订 人 审 核 人 批准人 制订日期 审核日期 批准日期 制订部门 生产部 分发部门 质管部、 生产车 间 目 的:制订诺氟沙星胶囊生产工艺规程,以提供生产车间组织生产和进行生产操作的依据。 适用范围:诺氟沙星胶囊的生产。 责 任:生产车间按该工艺规程组织生产和按该规程编制标准操作程序,生产部、质管部负责监督该规程的实施。 内 容: 目录 1.品名 2.剂型 3.产品概述 4.处方 5.生产工艺流程 6.生产工艺操作要求及工艺技术参数 7.生产过程的质量控制 8.物料、中间产品、成品的质量标准 9.成品容器、包装材料要求,贮存条件 10.标签、使用说明书的内容 11.设备一览表及主要设备生产能力(包括仪表) 12.技术安全、工艺卫生及劳动保护 13.物料消耗定额 14.物料平衡计算公式 15.技术经济指标及其计算方法 16.劳动组织与岗位定员 17.操作工时与生产周期 18. 附录 * * * * 制 药 厂 技 术 标 准 ----生 产工艺规程 文件名称 诺氟沙星胶囊生产工艺规程 编 码 TS-SJ-004-00 页 数 15-2 1.品名 通用名称:诺氟沙星胶囊 汉语拼音:Nuofushaxing Jiaonang 英文名称:Norfloxacin Capsules 2.剂型 硬胶囊剂。 3.产品概述 本品为抗菌药;规格为 0.1g,于 1988 年正式批准在我厂生产,批准文号为&卫药准字(1996)第&&&&&号。 本品为抗菌药原料类白色至淡黄色结晶性粉末;无臭,味微苦;在空气中能吸收水分,遇光色渐变深;生产过程注意防潮及避光。 4.处方 以原料含量为 99.5%计算,生产 19.9 万粒的生产处方是(单位:kg): 原料: 诺氟沙星 20.0 内加辅料: 淀粉 22.4 微晶纤维素 10.0 粘合剂: 15%预胶化淀粉浆 24.8 外加辅料: 羧甲淀粉钠 1.68 硬脂酸镁 0.32 5.生产工艺流程 用示意图描述如下: * * * * 制 药 厂 技 术 标 准 ----生 产工艺规程 文件名称 诺氟沙星胶囊生产工艺规程 编 码 TS-SJ-004-00 页 数 15-3 过筛 配料 原辅料 制粒 干燥 整粒 总混 填充 粘合剂 外加 辅料 内包装 外包装 入库 洁净包 装容器 外包装 材料 注:背景图框内的流程,必须在洁净区(30 万级)内操作。 * * * * 制 药 厂 技 术 标 准...

1、当您付费下载文档后,您只拥有了使用权限,并不意味着购买了版权,文档只能用于自身使用,不得用于其他商业用途(如 [转卖]进行直接盈利或[编辑后售卖]进行间接盈利)。
2、本站所有内容均由合作方或网友上传,本站不对文档的完整性、权威性及其观点立场正确性做任何保证或承诺!文档内容仅供研究参考,付费前请自行鉴别。
3、如文档内容存在违规,或者侵犯商业秘密、侵犯著作权等,请点击“违规举报”。

碎片内容

胶囊生产工艺规程

确认删除?
VIP
微信客服
  • 扫码咨询
会员Q群
  • 会员专属群点击这里加入QQ群
客服邮箱
回到顶部