电脑桌面
添加小米粒文库到电脑桌面
安装后可以在桌面快捷访问

安全管理组织及管理体系图

安全管理组织及管理体系图_第1页
1/4
安全管理组织及管理体系图_第2页
2/4
安全管理组织及管理体系图_第3页
3/4
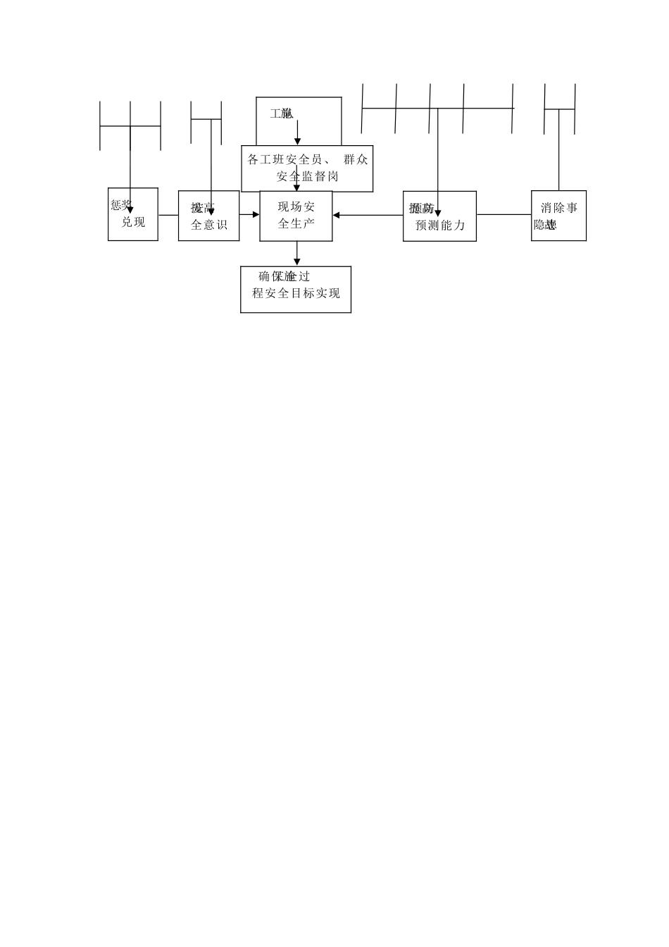
安全组织体系目 录1 范围 12 引用法律规范性文件 0 3 安全生产领导小组 0 4 安全管理体系框架图 2 5 安全管理组织结构 3 6 安全管理网络图 4 1、范围本程序规定**有限公司**工程项目经理部安全管理机构和安全管理体系,适用于**有限公司**化工程施工项目。 2、引用法律规范性文件**有限公司**工程施工合同3、安全生产领导小组组 长:**副组长:**组 员:*、*、4、安全管理体系框架图(见附图 1) 5、安全管理组织结构(见附图 2)6、安全管理网络图(见附图 3)图 1:安全管理保证框架图安全领导小组 组 长:*副组长:* 安全方针:安全第一预防为主安全目标安全责任制安全教育安全工作体系安全控制安 全 活 动 经 费安 全 管 理 措 施安 全 奖 惩 条 例系 统 安 全 教 育三 级 教 育防 交 通 事 故防 高 空 坠 落定 期 检 查不 定 期 检 查防 火 灾防 触 电机械事故各业务部门防 塌 方安全检查施工队各工班安全员、 群众安全监督岗现场安全生产确保施工全过程安全目标实现奖惩兑现提高安全意识提高预防、 预测能力消除事 故隐患图 2 项目管理组织机构图主管副总经理总经理总工程师项目经理技术负责人施工员施工安全员质量员电气安装材料员苗木种植员土方运输班长修正养护员材料员图 3项目部安全管理网络图安全生产领导小组项目经理:*安全副经理 *安全管理部 *专职安全管理员 *质量员电气安装材料员苗木种植员土方运输班长修正养护员材料员

1、当您付费下载文档后,您只拥有了使用权限,并不意味着购买了版权,文档只能用于自身使用,不得用于其他商业用途(如 [转卖]进行直接盈利或[编辑后售卖]进行间接盈利)。
2、本站所有内容均由合作方或网友上传,本站不对文档的完整性、权威性及其观点立场正确性做任何保证或承诺!文档内容仅供研究参考,付费前请自行鉴别。
3、如文档内容存在违规,或者侵犯商业秘密、侵犯著作权等,请点击“违规举报”。

碎片内容

安全管理组织及管理体系图

您可能关注的文档

确认删除?
VIP
微信客服
  • 扫码咨询
会员Q群
  • 会员专属群点击这里加入QQ群
客服邮箱
回到顶部