电脑桌面
添加小米粒文库到电脑桌面
安装后可以在桌面快捷访问

2025年安全资料新表全套

2025年安全资料新表全套_第1页
1/100
2025年安全资料新表全套_第2页
2/100
2025年安全资料新表全套_第3页
3/100
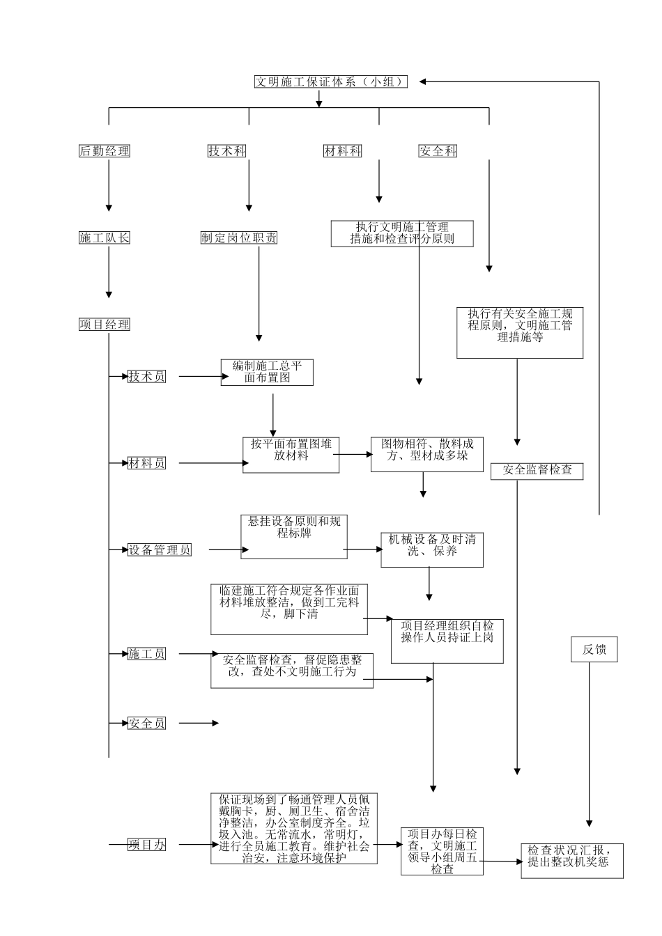
工 程 概 况 及 安 全 生 产 保 证 体 系A — 1工程名称 建设单位 施工单位 监理单位 宜宾市建设工程质量安全监督站监制 JD—001工 程 概 况 表 A1—1工程名称工 程 地 址所属区、县所 属 街 道建设单位负责人资质等级电话设计单位负责人资质等级电话监理单位负责人资质等级电话总承包单位负责人资质等级电话施工单位负责人资质等级电话建筑面积㎡层 数地上构造地下工程造价动工日期计划竣工日期工程安全管理目的控制重伤死亡为零,轻伤率为 3‰。受登记日期受监安监站电话 宜宾市建设工程质量安全监督站监制 文明施工体系 文明施工保证体系(小组)后勤经理 技术科 材料科 安全科施工队长 制定岗位职责 项目经理 技术员 材料员 设备管理员 施工员 安全员 项目办执行文明施工管理措施和检查评分原则执行有关安全施工规程原则,文明施工管理措施等编制施工总平面布置图图物相符、散料成方、型材成多垛按平面布置图堆放材料安全监督检查悬挂设备原则和规程标牌机械设备及时清洗、保养临建施工符合规定各作业面材料堆放整洁,做到工完料尽,脚下清项目经理组织自检操作人员持证上岗反馈安全监督检查,督促隐患整改,查处不文明施工行为保证现场到了畅通管理人员佩戴胸卡,厨、厕卫生、宿舍洁净整洁,办公室制度齐全。垃圾入池。无常流水,常明灯,进行全员施工教育。维护社会治安,注意环境保护项目办每日检查,文明施工领导小组周五检查检查状况汇报,提出整改机奖惩JD—002施 工 现 场 安 全 保 证 体 系表 A1—2企业总经理 企业安所有门 项目经理 项 目 技 术 负 责 人 现 场 工 长设 备 科 专职安全员 机 电 劳 务 分 包 负 责 人木工专业工长 钢筋专业工长 专职安全员 混 凝 土 专 业 工 长 泥 工 专 业 工 长木工班长 钢筋班长 专职安全员 混 凝 土 班 长 泥 工 班 长 操 作 工 人 行 为 操作 物 状 态阐 明 : 控 制 人 在 生 产 活 动 中 的 行 为 是 安 全 管 理 的 关 键 内 容 , 应 在 施 工 全 过 程 中 形 成 “ 横 向 道 边 , 纵 向 究 竟 ” 的 监 控 网 络 保 证 体 系 。宜 宾 市 建 设 工 程 质 量 安 全 监 督 站 监 制JD-003本 工 程 合 格 分 包 方 名 目表 A1-3序号企业名称资质等级分包项目负责人电 话 填报单...

1、当您付费下载文档后,您只拥有了使用权限,并不意味着购买了版权,文档只能用于自身使用,不得用于其他商业用途(如 [转卖]进行直接盈利或[编辑后售卖]进行间接盈利)。
2、本站所有内容均由合作方或网友上传,本站不对文档的完整性、权威性及其观点立场正确性做任何保证或承诺!文档内容仅供研究参考,付费前请自行鉴别。
3、如文档内容存在违规,或者侵犯商业秘密、侵犯著作权等,请点击“违规举报”。

碎片内容

2025年安全资料新表全套

您可能关注的文档

确认删除?
VIP
微信客服
  • 扫码咨询
会员Q群
  • 会员专属群点击这里加入QQ群
客服邮箱
回到顶部