电脑桌面
添加小米粒文库到电脑桌面
安装后可以在桌面快捷访问

某电子厂ISO体系管理品质部QP-013-成品检验和试验控制程序

某电子厂ISO体系管理品质部QP-013-成品检验和试验控制程序_第1页
1/3
某电子厂ISO体系管理品质部QP-013-成品检验和试验控制程序_第2页
2/3
某电子厂ISO体系管理品质部QP-013-成品检验和试验控制程序_第3页
3/3
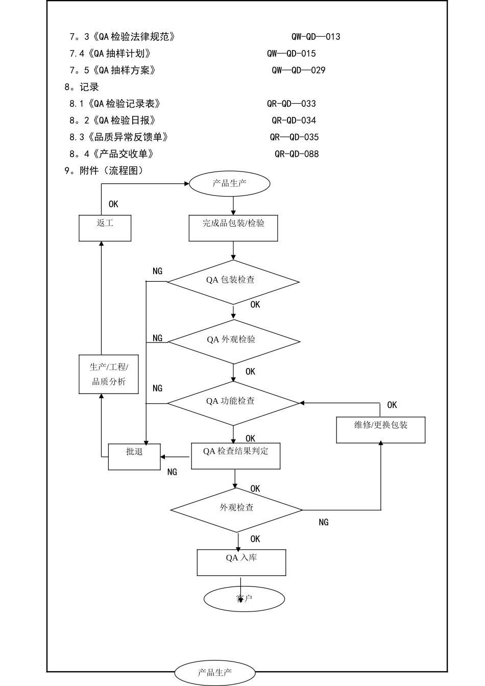
1。目的: 通过对入库及出厂前之制成品进行检验,保证所交给客户的产品质量满足客户要求。2。适用范围: 本程序适用于本公司加工完成品之入库及出货前的检验。3。定义: AQ:( Quality Assurance)质量保证。4。职责: 4。1 品质部:QA 负责成品之检验和试验; QE:负责制定成品检验和试验标准并负责对不合格品的分析及处理; 4。2 生产部:负责产品的送检,返工及对不合格品的处理; 4。3 工程部:协助负责对检验和试验不合格品的分析,纠正预防措施的制定;5.程序: 5.1 正常下线完成品的 QA 检验/入库检验5.1.1 完工成品检验:生产部将生产完工合格品包装作业完成后,依照《QA 抽样计划》规定的批量范围,分批将成品送到 QA 检验区,并把完成品填写《产品交收单》交 QA,QA 检验员接收并确认数量无误后在交收单上签名,放置好“待检”牌,特别情况(出货紧急时)QA 上线检验;5.1.2 检验程序:5。1。2。1QA 抽样方案:QA 检验员参照《QA 抽样计划》《抽样检查方案》法律规范,查表确定“待检”批样本大小,执行取样;5。1.2.2 检验顺序:QA 接到产品,先检产品的外观包装,再查产品的外观及产品的功能,功能检完后再整体检查包装外观;5。1。2.3 包装检查:QA 依相关作业法律规范,BOM 及检验标准对产品进行包装检查;5.1。2。4 外观检查:QA 依首件样品、ECN、DCN、BOM、图纸及相关品质标准等进行外观检查;5。1。2。5 功能检查:经外观检验合格的产品,根据相关产品的测试作业指导书检验,客户有提供功能检验设备和元件时按客户要求执行。5。1。3 检验结果处理:5。1.3。1 检验合格时,QA 在该批产品的外包装上盖合格印章,在生产部完工品的《产 品交收单》和《QA 检验记录表》上填写结果,将“待检"牌换为“合格"牌,QA 负责入库的成品,由 QA 组长或代理人通知仓库负责人入库.现场办理好产品交接手续,客户要求提供检验报告的,则按要求提拱。5.1。3。2 QA 检验不合格时,应立即贴不合格标识,并隔离不合格品,通知 QA 组长与生产、工程共同确认,不良现象填入《QA 检验记录表》上交生产负责人确认。不良现象及相关信息记录于生产部完工品《产品交收单》备注样。“待检”牌换为“返工"牌,并将不合格批移到指定的不合格品区。生产部按返工方案进行返工,返工完成后重新送检.按日常品送检程序执行.5。1。3.3 不合格批退后,QA 组长需提交《品质异常反馈单》给责任单位分析,并做改善措施,按《纠正、预防措...

1、当您付费下载文档后,您只拥有了使用权限,并不意味着购买了版权,文档只能用于自身使用,不得用于其他商业用途(如 [转卖]进行直接盈利或[编辑后售卖]进行间接盈利)。
2、本站所有内容均由合作方或网友上传,本站不对文档的完整性、权威性及其观点立场正确性做任何保证或承诺!文档内容仅供研究参考,付费前请自行鉴别。
3、如文档内容存在违规,或者侵犯商业秘密、侵犯著作权等,请点击“违规举报”。

碎片内容

某电子厂ISO体系管理品质部QP-013-成品检验和试验控制程序

您可能关注的文档

确认删除?
VIP
微信客服
  • 扫码咨询
会员Q群
  • 会员专属群点击这里加入QQ群
客服邮箱
回到顶部