电脑桌面
添加小米粒文库到电脑桌面
安装后可以在桌面快捷访问

水电安装工程监理细则VIP专享

水电安装工程监理细则_第1页
1/26
水电安装工程监理细则_第2页
2/26
水电安装工程监理细则_第3页
3/26
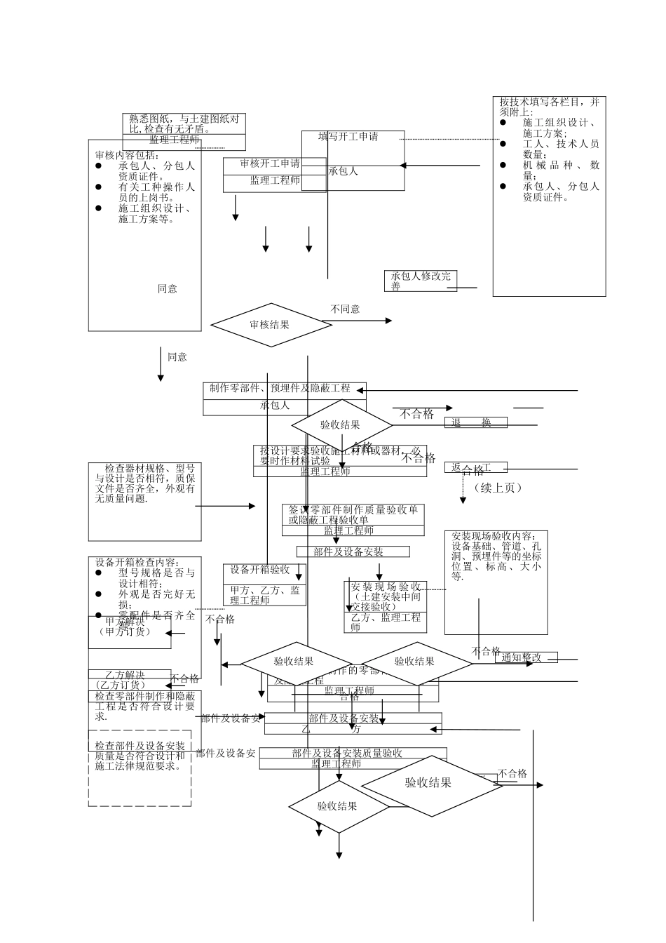
天地湾晴苑工程水电安装监理实施细则编 制 人: 总监理工程师: 日期: 河南海华工程建设监理公司天地湾项目监理部本住宅小区位于郑州市英才街与茂源路交叉口。规划用地面积58908。30 平方米。有 13 栋主楼及一层地下车库组成,其中 12 层公寓楼 1栋,8~12 层住宅 5 栋,12~14 层高层住宅 7 栋。总建筑面积 162024.27 平方米,地上总建筑面积 121472。12 平方米,住宅建筑面积 110197。97 平方米。第一章 给排水及采暖工程一、给排水及采暖工程概况本工程给排水系统主要包括室内生活给水系统、排水系统、室内消火栓系统、自动喷水给水系统。(1)室内给水系统:本工程给水接自市政管网,—1 楼至 5 楼由市政管网直接供水;6 楼以上采纳低位生活水箱配合给水加压设备加压供给。生 活 给 水 干 管 和 立 管 采 纳 钢 塑 复 合 管 ,DN≤50mm 时 采 纳 丝接,DN〉50mm 时采纳沟槽连接.户内生活给水管采纳 PP—R 给水管,热熔连接。(2)室内排水系统:本工程采纳单立管排水系统,污废合流制排水。室内排水立管采纳 PVC 静音排水管,承插橡胶圈连接;排水支管采纳平壁 UPVC 管,粘接连接。(3)室内消火栓系统:室内消火栓系统采纳区域加压给水系统,整个小区按一次火灾考虑,公用消防设备。室内消防给水来自设于地下一层消防水泵房内的消防泵,消防泵一用一备。室内消火栓系统采纳镀锌钢管,DN〈80mm 时丝接连接;DN≥80mm 时采纳沟槽连接。阀门及需拆卸部位采纳法兰连接。(4)采暖系统:按单位工程每个单元分为一个系统,户内外明装管道采纳镀锌钢管,户外明装管道使用 40mm 厚的玻璃棉管壳保温;埋地管道采纳 PP—R 塑铝稳定复合管。二、给排水及采暖工程质量监理工作流程: 按技术填写各栏目,并须附上:施工组织设计、施工方案;工人、技术人员数量;机 械 品 种 、 数量;承包人、分包人资质证件。熟悉图纸,与土建图纸对比,检查有无矛盾。监理工程师填写开工申请承包人审核内容包括:承包人、分包人资质证件。有关工种操作人员的上岗书。施工组织设计、施工方案等。审核开工申请监理工程师按设计要求验收施工材料或器材,必要时作材料试验监理工程师承包人修改完善检查器材规格、型号与设计是否相符,质保文件是否齐全,外观有无质量问题.现场验收制作的零部件、预埋件及隐蔽工程监理工程师检查零部件制作和隐蔽工程是否符合设计要求.制作零部件、预埋件及隐蔽工程承...

1、当您付费下载文档后,您只拥有了使用权限,并不意味着购买了版权,文档只能用于自身使用,不得用于其他商业用途(如 [转卖]进行直接盈利或[编辑后售卖]进行间接盈利)。
2、本站所有内容均由合作方或网友上传,本站不对文档的完整性、权威性及其观点立场正确性做任何保证或承诺!文档内容仅供研究参考,付费前请自行鉴别。
3、如文档内容存在违规,或者侵犯商业秘密、侵犯著作权等,请点击“违规举报”。

碎片内容

水电安装工程监理细则

确认删除?
VIP
微信客服
  • 扫码咨询
会员Q群
  • 会员专属群点击这里加入QQ群
客服邮箱
回到顶部