电脑桌面
添加小米粒文库到电脑桌面
安装后可以在桌面快捷访问

砌体工程监理细则[1]

砌体工程监理细则[1]_第1页
1/12
砌体工程监理细则[1]_第2页
2/12
砌体工程监理细则[1]_第3页
3/12
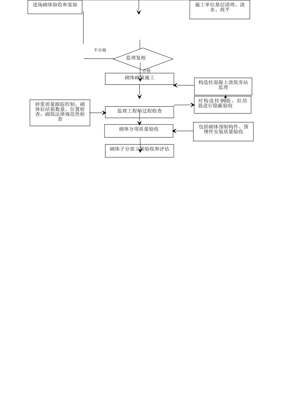
编号:JKJL ( P) - 008 工程砌体工程监理实施细则 编制人: 批准人: 批准时间: 上海市建筑科学讨论院建设工程咨询监理部 监理项目部 目 录1. 专业工程概况与特点2. 监理工作依据和工程质量验收规定3. 监理工作流程4. 监理工作控制要点及目标值5. 监理工作方法和措施6. 监理旁站内容、方法和要求砌体工程监理实施细则1 专业工程概况与特点本工程主体结构的墙体为非承重填充墙,厚度 100~150mm,外墙处砌体主要采纳粘土多孔砖,局部补砌采纳烧结普通砖,内墙采纳砼小型空心砌块。砌筑砂浆采纳采纳 M5.0 混合砂浆。内外墙两种砌体交接处设构造柱连接,构造柱砼强度等级采纳 C20.用轻骨料混凝土小型空心砌块砌筑内墙时,墙底部在一般位置采纳 C20 砼灌实第一皮小砌块的孔洞,在卫生间处采纳 C20 现浇砼坎台,高度为200mm.本工程主要参加单位如下: 建设单位:设计单位:施工单位:监理单位:上海建筑科学讨论院建设工程咨询监理部2 监理工作依据和质量验收的一般规定2.1 执行标准、法规2.2 质量验收的一般规定 本细则适用于主体分部和地基基础分部中砌体子分部工程质量监理.根据统一验收标准,对本子分部的分项工程应按楼层或伸缩缝划分成若干个检验批.3 监理工作流程3.1 砌体工程质量控制监理工作流程: 审查开工条件砂浆用水泥、黄砂、石膏等验收和复验施工单位弹平面位置线进场砌体验收和复验施工单位基层清理、浇水、找平砌体砌筑施工监理工程师过程检查砌体分项质量验收砌体子分部工程验收和评估砂浆质量跟踪控制,砌体拉结筋数量,位置检查,砌筑法律规范性检查包括砌体预制构件、预埋件安装质量验收构造柱混凝土浇筑旁站监理对构造柱钢筋、拉结筋进行隐蔽验收 监理复核不合格合格3.2 监理进度控制工作流程如下:确定工程总工期目标施工单位在开工前提交施工组织设计及施工进度计划 申报 否监理工程师审核 可实施过程分阶段提交详细计划和变更计划 申报 否监理工程师审核责成施工单位实行措施 可实 施 否监理工程师对实际值与计划值的比较 可按计划执行3。3 监理投资控制工作流程如下:工程项目施工合同施工单位报月支付申请监理工程师复核确认计量部位确认计量项目合格确定工程量总 监 审 核 不同意 同意总监签署月支付证书业 主 审 定业主签字支付施 工 单 位4 监理工作的控制要点及目标值4。1 砌体工程所用材料 砌体工程所用的材料应有产品的合格证书、产品性能检测报告,块材、...

1、当您付费下载文档后,您只拥有了使用权限,并不意味着购买了版权,文档只能用于自身使用,不得用于其他商业用途(如 [转卖]进行直接盈利或[编辑后售卖]进行间接盈利)。
2、本站所有内容均由合作方或网友上传,本站不对文档的完整性、权威性及其观点立场正确性做任何保证或承诺!文档内容仅供研究参考,付费前请自行鉴别。
3、如文档内容存在违规,或者侵犯商业秘密、侵犯著作权等,请点击“违规举报”。

碎片内容

砌体工程监理细则[1]

您可能关注的文档

确认删除?
VIP
微信客服
  • 扫码咨询
会员Q群
  • 会员专属群点击这里加入QQ群
客服邮箱
回到顶部