电脑桌面
添加小米粒文库到电脑桌面
安装后可以在桌面快捷访问

基于单片机的可程控顺序系统论文-毕业论文

基于单片机的可程控顺序系统论文-毕业论文_第1页
1/37
基于单片机的可程控顺序系统论文-毕业论文_第2页
2/37
基于单片机的可程控顺序系统论文-毕业论文_第3页
3/37
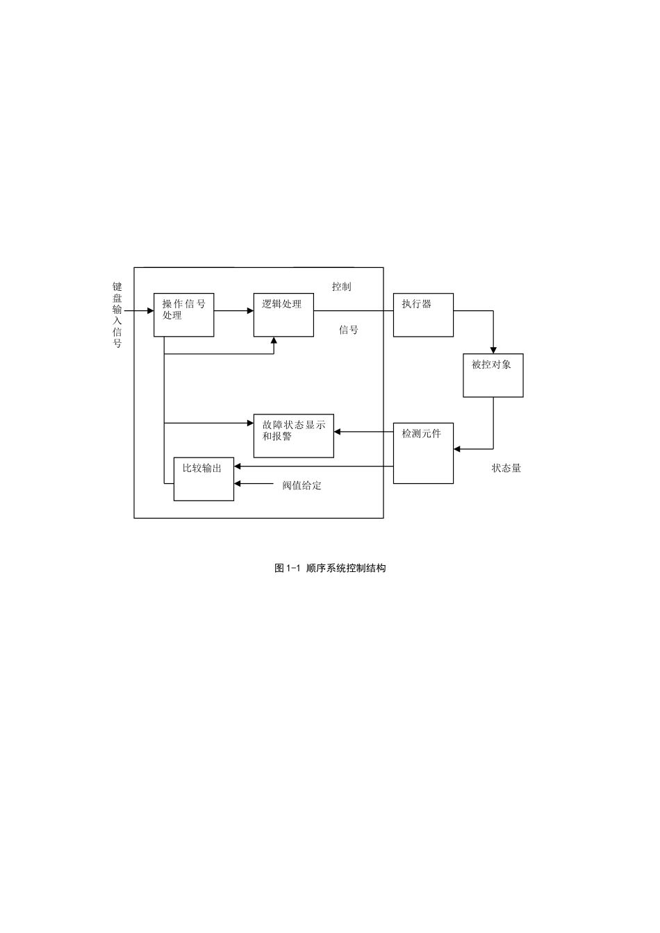
1 引言1.1 程序控制顺序系统意义 单片机控制技术应用十分广泛,其核心技术是单片机控制系统的设计。其中单片机在控制系统中的应用是越来越普遍了。单片机控制系统是以单片机(CPU)为核心部件,扩展一些外部接口和设备,组成单片机工业控制机,主要用于工业过程控制。要进行单片机系统设计首先必须具有一定的硬件基础知识;其次,需要具有一定的软件设计能力,能够根据系统的要求,灵活地设计出所需要的程序;第三,具有综合运用知识的能力。最后,还必须掌握生产过程的工艺性能及被测参数的测量方法,以及被控对象的动、静态特性,有时甚至要求给出被控对象的数学模型。 顺序控制是工业生产中一个比较典型的控制方式。因为一个产品的生产过程,实际就是根据一定的顺序和一定工艺要求进行的加工过程,不论其生产流程多么复杂,总可以把流程分成若干个工作步骤,每个工作步骤又可以分为几个加工的顺序段,并使每一个顺序执行一个特定的操作。这样经过若干个加工顺序段之后就可以得到最后的产品。采纳顺序控制系统的意义,就是根据生产工艺的要求,根据预先规定的顺序,在各个输入信号的作用下,使生产过程的各个执行机构自动的根据顺序动作,顺序控制已被广泛的应用在加工,装配,包装等自动化生产设备中,是工业自动化的分支。顺序控制的设计,一般采纳 PLC,工控机和单片机来实现,而单片机作为一种低成本实现方式,在小型控制装置中得到了广泛的应用。目前单片机顺序控制软件的设计,一般针对具体工业过程进行的,生产工艺改变则控制软件必须重新设计。假如控制软件设计成通用化的形式,则将可以接节约设计人员的大大量重复劳动,缩短顺序控制系统的开发周期。1.2 顺序控制的历史以及进展状况20 世纪 50 年代大多采纳继电器的固定式顺序控制系统,50 年代后期采纳二极管的矩阵式顺序控制系统,到 60 年代末出现了可编程顺序控制系统。70 年代以来,顺序控制技术迅速进展,并逐步采纳微型计算机,向小型化和大型多功能方向进展。图 1-1 示出了顺序系统控制结构。检测元件测出被控对象(如加热反应炉)的状态(如加料完毕),测量信号送到顺序控制器处理并发出控制信号,通过执行器使被控对象改变到一个新的状态(如接通加热器)。顺序控制器常采纳各种开关(如限位开关、接近开关)、光电转换元件、穿孔纸带等来设定工作条件;常用的执行器有电磁阀、电机、电磁铁、电热器等(图 1-2)。它们接通或断开时便改变被控对象原来的状态...

1、当您付费下载文档后,您只拥有了使用权限,并不意味着购买了版权,文档只能用于自身使用,不得用于其他商业用途(如 [转卖]进行直接盈利或[编辑后售卖]进行间接盈利)。
2、本站所有内容均由合作方或网友上传,本站不对文档的完整性、权威性及其观点立场正确性做任何保证或承诺!文档内容仅供研究参考,付费前请自行鉴别。
3、如文档内容存在违规,或者侵犯商业秘密、侵犯著作权等,请点击“违规举报”。

碎片内容

基于单片机的可程控顺序系统论文-毕业论文

您可能关注的文档

范哲铺+ 关注
实名认证
内容提供者

想你所想,急你所急,你需要的都在店铺里可以找到。

确认删除?
VIP
微信客服
  • 扫码咨询
会员Q群
  • 会员专属群点击这里加入QQ群
客服邮箱
回到顶部