电脑桌面
添加小米粒文库到电脑桌面
安装后可以在桌面快捷访问

客户投诉处理流程VIP专享

客户投诉处理流程_第1页
1/6
客户投诉处理流程_第2页
2/6
客户投诉处理流程_第3页
3/6
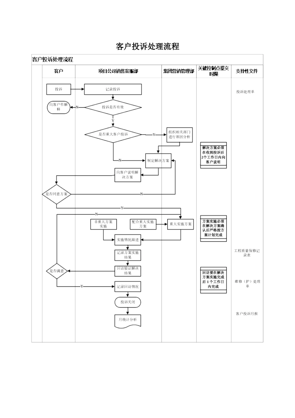
客户投诉处理流程1.目得法律规范客户投诉处理流程,统一客户投诉受理渠道,明确投诉处理责任与原则,使投诉能得到及时有效得处理,提升集团对外形象,提高客户满意度。2.适用范围本流程适用于集团开发得房地产项目因员工工作及服务不到位,或者由于房屋工程质量、销售管理、规划设计、物业管理与由于外部环境、非管辖内公共配套设施等方面引发问题而产生得客户投诉得处理。3.术语与定义无4.部门职责与涉及岗位4、1 流程所有者:项目公司销售客服部。4、2 涉及部门及岗位:项目公司销售客服部、集团营销管理部及相关责任部门。4、3 相关部门职责:4、3、1项目公司销售客服部:记录投诉内容;进行投诉分析;综合各方意见制定解决方案或与责任部门一起制定解决方案;将解决方案知会客户;组织实施、跟进与监督;确认客户就是否满意并记录结果;回访;存档与统计分析;4、3、2营销管理部:重大客户投诉得处理,组织相关部门提出重大客户投诉得解决方案;4、3、3相关责任部门:就所投诉问题进行专业分析,给出专业意见;对重要解决方案进行审核;配合销售客服科制定、实施解决方案。5、 工作程序步骤说明负责人输出1、 投诉信息得接收与传达1、1 任何部门或员工以任何渠道(电话、书面、网上)接到与荣新集团相关得投诉都应在 1 个工作日内知会项目公司销售客服部;1、2 销售客服部将投诉信息记录到《投诉处理单》,并推断其就是否为有效投诉;销售客服部投诉处理单2、 处理投诉2、1 若为无效投诉,销售客服部与投诉人进行沟通解释,假如投诉人认可解释则问题解销售客服部客户投诉处理单决,投诉得到解决;2、2 若为有效投诉,销售客服部可以处理得,立即与相关部门一起制定解决方案,并与客户沟通解决方案;若销售客服部不能独立解决得,在第一时间知会相关责任部门;2、3 责任部门能够直接解决得投诉,由部门负责人在 2-3 个工作日内与销售客服部一起制定解决方案并与客户沟通该方案。各相关责任部门3、 重大客户投诉得处理3、1 对于重大投诉,项目公司需立即上报集团营销管理部,由营销管理部组织相关部门成立处理小组进行处理,项目公司负责人必须参加;必要时,风险控制部与总裁办及高层领导参加;3、2 处理小组对问题进行现场确认与原因分析,并在综合各责任部门专业意见基础上形成处理方案;3、3 处理方案需与责任部门、法律顾问联合审核后提交营销管理部负责人审批后由销售客服部及时回复投诉人;3、4 处理小组负责人与销售客服部一起与投诉人就处理方案进行沟通。销售客服部...

1、当您付费下载文档后,您只拥有了使用权限,并不意味着购买了版权,文档只能用于自身使用,不得用于其他商业用途(如 [转卖]进行直接盈利或[编辑后售卖]进行间接盈利)。
2、本站所有内容均由合作方或网友上传,本站不对文档的完整性、权威性及其观点立场正确性做任何保证或承诺!文档内容仅供研究参考,付费前请自行鉴别。
3、如文档内容存在违规,或者侵犯商业秘密、侵犯著作权等,请点击“违规举报”。

碎片内容

客户投诉处理流程

确认删除?
VIP
微信客服
  • 扫码咨询
会员Q群
  • 会员专属群点击这里加入QQ群
客服邮箱
回到顶部