电脑桌面
添加小米粒文库到电脑桌面
安装后可以在桌面快捷访问

PLC在08000克劳斯卧镗中的应用

PLC在08000克劳斯卧镗中的应用_第1页
1/4
PLC在08000克劳斯卧镗中的应用_第2页
2/4
PLC在08000克劳斯卧镗中的应用_第3页
3/4
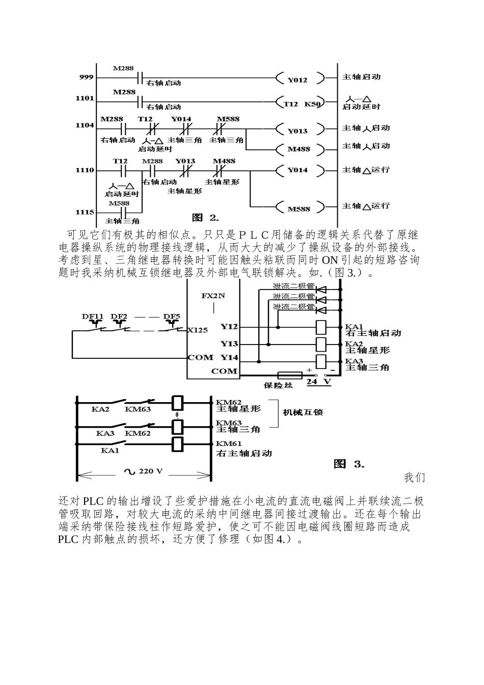
PLC 在 08000 克劳斯卧镗中的应用 作者简介 : 范 俊 现就职于杭州汽车发动机厂20 世纪 20 年代继电接触器操纵系统产生并取代了原先的手动操纵方式是自动操纵的开端。曾一度占据工业操纵的主导地位,它由为数不多的继电器接触器和爱护元件等组成。这种操纵系统是为实现某一专门操纵要求而设计的,通过电器元件之间的固定连线构成操纵电路。它简单、经济、成本低,适用于动作简单操纵规模较小的场合但在动作复杂规模较大的场合暴露出明显的缺点:体积庞大、耗电量高、接线复杂、可靠性差、修理困难,一旦动作顺序或生产工艺发生变化需要更换操纵时就必须重新设计、布线、装配和调试。随着生产力的进展和科学技术的进步,人们对所用操纵设备持续提出新的要求,要求设备更加通用、灵活、易变、经济、可靠,固定接线式的老装备明显不能满足这种需要。随着电子和集成制造技术的持续进展和操纵理论的持续完善,专门是运算机技术的产生和进展使自控装置在飞速进展,从 1969 年后逐步进展起来了一种以微处理器为基础,综合运算机技术、自动操纵技术和通信技术的工业自动操纵装置可编程操纵器即 PLC,这种新的操纵系统有以下优点:1. 系统设计、建筑工作量小爱护方便,改造容易(操纵功能是通过编程来实现的,要变动操纵功能只需对程序进行修改);2.配件齐全,功能完善习惯性强;3.可靠性高抗干扰能力强;4.配套齐全,操纵功能完善,适用性强;5.体积小,重量轻,功耗低。正是它有着继电器操纵系统无法比拟的优点,在短短的三十几年里在工业操纵中获得了专门广泛的应用,正在逐步取代继电器操纵系统。08000 克劳斯卧镗是奥地利生产的加工斯太尔发动机主轴承孔专用的卧式精加工镗床,它是杭州汽车发动机厂 80 年代随斯太尔项目一起引进的设备,该设备加工能力强、工作效率高,一次工作循环就能完成机体 7 个曲轴主轴承孔、7 个凸轮轴轴承孔的止推面及两端面定位孔螺栓孔的精加工,机床的操纵电路复杂有整整两电气柜的继电器,尽管用的差不多上原装西门子的产品,然而由于生产任务繁重连年 24 小时不间断的工作,依旧常常由于继电器频繁的工作而老化引起触头接触不良、粘连,继电器损坏引起操纵系统失灵等故障,由于电路复杂故障率高且不易修理,不仅延误生产还白费了人力。我们决定用 PLC 操纵系统对其进行改造,来解决继电器操纵系统的老化咨询题。由于当前 PLC 品牌众多它们在功能上大同小异但价格差异却专门大。因此在选择 PL...

1、当您付费下载文档后,您只拥有了使用权限,并不意味着购买了版权,文档只能用于自身使用,不得用于其他商业用途(如 [转卖]进行直接盈利或[编辑后售卖]进行间接盈利)。
2、本站所有内容均由合作方或网友上传,本站不对文档的完整性、权威性及其观点立场正确性做任何保证或承诺!文档内容仅供研究参考,付费前请自行鉴别。
3、如文档内容存在违规,或者侵犯商业秘密、侵犯著作权等,请点击“违规举报”。

碎片内容

PLC在08000克劳斯卧镗中的应用

您可能关注的文档

元素商铺+ 关注
实名认证
内容提供者

欢迎挑选合适的文档

确认删除?
VIP
微信客服
  • 扫码咨询
会员Q群
  • 会员专属群点击这里加入QQ群
客服邮箱
回到顶部